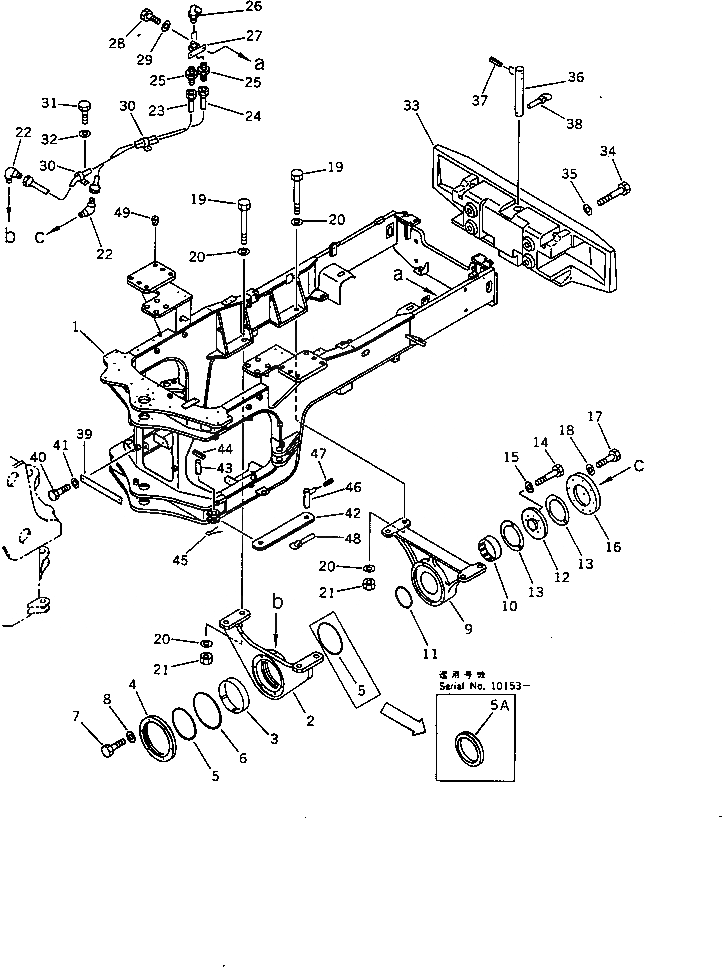
Запчасти Komatsu WA420-1 ЗАДН. РАМА(№-9999) РАМА И ЧАСТИ КОРПУСА

Схема запчастей Komatsu WA420-1 - ЗАДН. РАМА(№-9999) РАМА И ЧАСТИ КОРПУСА
FIT
1:1
100%

Артикул

Название

Примечание

Количество

1

424-46-12610

FRAME, REAR

SN: 10001-19999

1шт.

1

424-971-1110

FRAME,REAR (WITH UNDER GUARD)

SN: 10001-19999

1шт.

2

424-46-12143

SUPPORT,FRONT

SN: 10040-19999

1шт.

2

424-46-12142

SUPPORT,FRONT

SN: 10001-10039

1шт.

3

424-46-12162

BUSHING,FRONT

SN: 10001-@

1шт.

4

424-46-12310

RETAINER

SN: 10001-@

1шт.

5

421-46-15112

PACKING

SN: 10422-19999

1шт.

5

0

PACKING

SN: 10153-10421

1шт.

5

0

O-RING

SN: 10001-10152

2шт.

5A

421-46-15121

PACKING

SN: 10422-19999

1шт.

5A

0

PACKING

SN: 10153-10421

1шт.

6

07000-05305

O-RING

SN: 10001-@

1шт.

7

01010-51235

BOLT

SN: 10001-@

6шт.

8

01643-31232

WASHER

SN: 10001-@

6шт.

9

424-46-12153

SUPPORT,REAR

SN: 10001-19999

1шт.

10

424-46-12172

BUSHING,REAR

SN: 10001-@

1шт.

11

421-46-15132

PACKING

SN: 10422-19999

1шт.

11

0

PACKING

SN: 10153-10421

1шт.

11

0

O-RING

SN: 10001-10152

1шт.

12

424-46-12221

PLATE,THRUST

SN: 10001-@

1шт.

13

424-46-12181

WASHER,THRUST

SN: 10001-@

2шт.

14

01010-31670

BOLT

SN: 10001-@

8шт.

15

01643-31645

WASHER

SN: 10001-@

8шт.

16

424-46-12191

COVER

SN: 10001-@

1шт.

17

01010-31660

BOLT

SN: 10001-@

8шт.

18

01643-31645

WASHER

SN: 10001-@

8шт.

19

01011-62710

BOLT

SN: 10001-19999

8шт.

20

01643-32780

WASHER

SN: 10001-19999

16шт.

21

01580-02722

NUT

SN: 10279-19999

8шт.

21

0

NUT

SN: 10001-10278

8шт.

22

07217-50712

ELBOW

SN: 10001-19999

2шт.

23

424-46-12253

TUBE

SN: 10001-19999

1шт.

24

424-46-12261

TUBE

SN: 10001-19999

1шт.

25

07214-50710

CONNECTOR

SN: 10001-19999

2шт.

26

07020-00900

FITTING,GREASE

SN: 10001-19999

2шт.

27

424-46-12330

BLOCK

SN: 10001-19999

1шт.

28

01010-51020

BOLT

SN: 10001-19999

2шт.

29

01643-31032

WASHER

SN: 10001-19999

2шт.

30

421-46-12980

CLIP

SN: 10001-19999

2шт.

31

01010-51020

BOLT

SN: 10001-19999

2шт.

32

01643-31032

WASHER

SN: 10001-19999

2шт.

33

424-46-13310

WEIGHT,COUNTER

SN: 10001-19999

1шт.

34

01011-32430

BOLT

SN: 10001-19999

4шт.

35

01643-32460

WASHER

SN: 10001-19999

4шт.

36

424-46-13221

PIN

SN: 10001-@

1шт.

37

04025-01000

PIN,SPRING

SN: 10001-@

2шт.

38

426-46-12280

PIN,LINCH

SN: 10001-@

1шт.

39

423-46-12170

PLATE

SN: 10001-19999

1шт.

40

01010-51030

BOLT

SN: 10001-19999

2шт.

41

01643-31032

WASHER

SN: 10001-19999

2шт.

42

424-46-12131

BAR,LOCK

SN: 10001-19999

1шт.

43

421-46-12721

PIN

SN: 10001-@

1шт.

44

04025-01065

PIN,SPRING

SN: 10001-@

1шт.

45

04025-01065

PIN,COTTER

SN: 10105-19999

1шт.

45

0

PIN,COTTER

SN: 10001-10104

1шт.

46

421-46-12731

PIN

SN: 10001-19999

1шт.

47

04025-01065

PIN,SPRING

SN: 10001-@

2шт.

48

421-46-12740

PIN,LINCH

SN: 10001-@

1шт.

49

07049-02430

PLUG,(NOT USED WITH ROPS CANOPY)

SN: 10001-19999

8шт.

Выбрано товаров: 59