Запчасти Komatsu WA420-1 ВОДООТДЕЛИТЕЛЬ(№-) КОМПОНЕНТЫ ДВИГАТЕЛЯ И ЭЛЕКТРИКА

Схема запчастей Komatsu WA420-1 - ВОДООТДЕЛИТЕЛЬ(№-) КОМПОНЕНТЫ ДВИГАТЕЛЯ И ЭЛЕКТРИКА
FIT
1:1
100%

Артикул

Название

Примечание

Количество

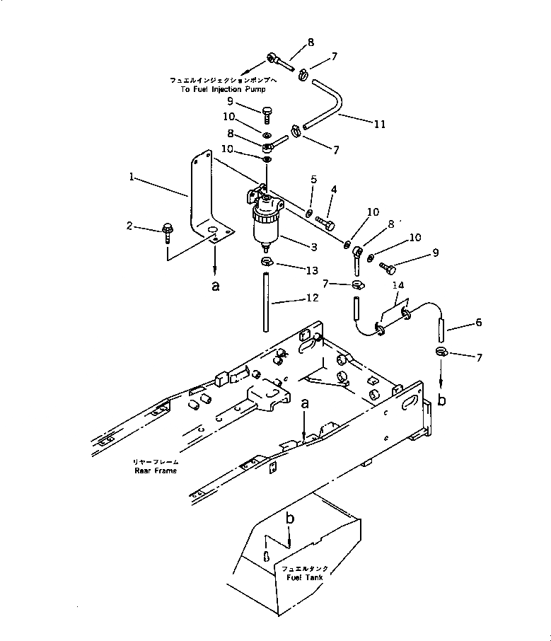
1

423-Z02-1310

BRACKET

SN: 20001-UP

1шт.

2

01435-01225

BOLT

SN: 20001-UP

2шт.

3

600-311-9700

WATER SEPARATOR A.

SN: 20001-UP

1шт.

4

01010-50830

BOLT

SN: 20001-UP

2шт.

5

01643-30823

WASHER

SN: 20001-UP

2шт.

6

07270-21077

TUBE

SN: 10001-UP

1шт.

7

07281-00197

CLAMP

SN: 20001-UP

4шт.

8

419-04-10130

JOINT,EYE

SN: 20001-UP

3шт.

9

07206-31014

BOLT,JOINT

SN: 20001-UP

2шт.

10

07005-01412

GASKET

SN: 10001-UP

4шт.

11

07270-21036

TUBE

SN: 10001-UP

1шт.

12

07270-21090

TUBE

SN: 10001-UP

1шт.

13

07281-00197

CLAMP

SN: 10001-UP

1шт.

14

08034-00414

BAND

SN: 20001-UP

2шт.

Выбрано товаров: 14