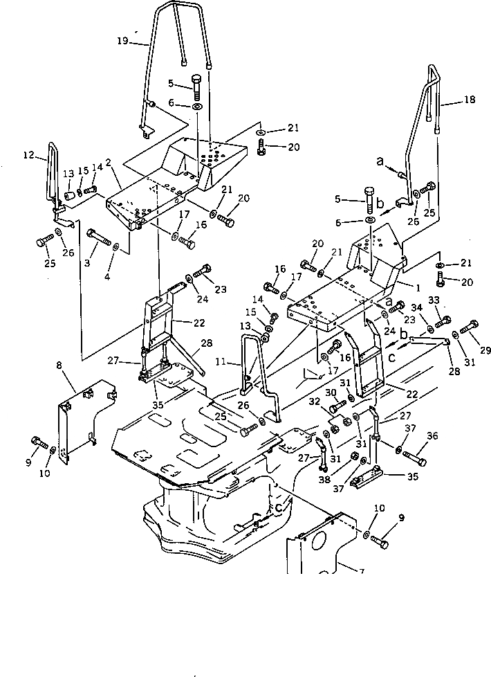
Запчасти Komatsu WA420-1 ПОЛ И ЛЕСТНИЦА (С КАБИНОЙ)(№-9999) РАМА И ЧАСТИ КОРПУСА

Схема запчастей Komatsu WA420-1 - ПОЛ И ЛЕСТНИЦА (С КАБИНОЙ)(№-9999) РАМА И ЧАСТИ КОРПУСА
FIT
1:1
100%

Артикул

Название

Примечание

Количество

1

424-54-17240

FLOOR,L.H.

SN: 10001-19999

1шт.

2

424-54-17250

FLOOR,R.H.

SN: 10001-19999

1шт.

3

01010-51260

BOLT

SN: 10001-19999

4шт.

4

01643-31232

WASHER

SN: 10001-19999

4шт.

5

01010-52450

BOLT

SN: 10001-19999

4шт.

6

01643-32460

WASHER

SN: 10001-19999

4шт.

7

424-54-12782

COVER,L.H.

SN: 10001-19999

1шт.

8

424-54-12791

COVER,R.H.

SN: 10001-19999

1шт.

9

01010-51225

BOLT

SN: 10001-19999

10шт.

10

01643-31232

WASHER

SN: 10001-19999

10шт.

11

424-54-12421

HANDLE,L.H.

SN: 10001-19999

1шт.

12

424-54-12431

HANDLE,R.H.

SN: 10001-19999

1шт.

13

418-60-15150

STOPPER

SN: 10001-19999

2шт.

14

01220-40625

SCREW

SN: 10001-19999

2шт.

15

01602-20619

WASHER,SPRING

SN: 10001-19999

2шт.

16

01010-51220

BOLT

SN: 10001-19999

4шт.

17

01643-31232

WASHER

SN: 10001-19999

4шт.

18

424-54-12440

HANDLE

SN: 10001-19999

1шт.

19

424-54-12450

HANDLE

SN: 10001-19999

1шт.

20

01010-51225

BOLT

SN: 10001-19999

6шт.

21

01643-31232

WASHER

SN: 10001-19999

6шт.

22

424-54-12412

LADDER

SN: 10461-19999

2шт.

22

0

LADDER

SN: 10001-10460

2шт.

23

01010-51230

BOLT

SN: 10001-19999

8шт.

24

01643-31232

WASHER

SN: 10001-19999

8шт.

25

01010-51235

BOLT

SN: 10001-19999

4шт.

26

01643-31232

WASHER

SN: 10001-19999

4шт.

27

423-54-14260

ROPE,STEP

SN: 10001-@

4шт.

28

424-54-12291

STAY

SN: 10001-19999

2шт.

29

01010-51245

BOLT

SN: 10001-19999

4шт.

30

01010-51235

BOLT

SN: 10001-19999

4шт.

31

01643-31232

WASHER

SN: 10001-19999

16шт.

32

01580-11210

NUT

SN: 10001-19999

8шт.

33

01010-51230

BOLT

SN: 10001-19999

2шт.

34

01643-31232

WASHER

SN: 10001-19999

2шт.

35

423-54-12770

STEP

SN: 10001-@

2шт.

36

01010-51265

BOLT

SN: 10001-19999

4шт.

37

01643-31232

WASHER

SN: 10001-19999

8шт.

38

426-43-19150

NUT,LOCK

SN: 10001-@

4шт.

Выбрано товаров: 39