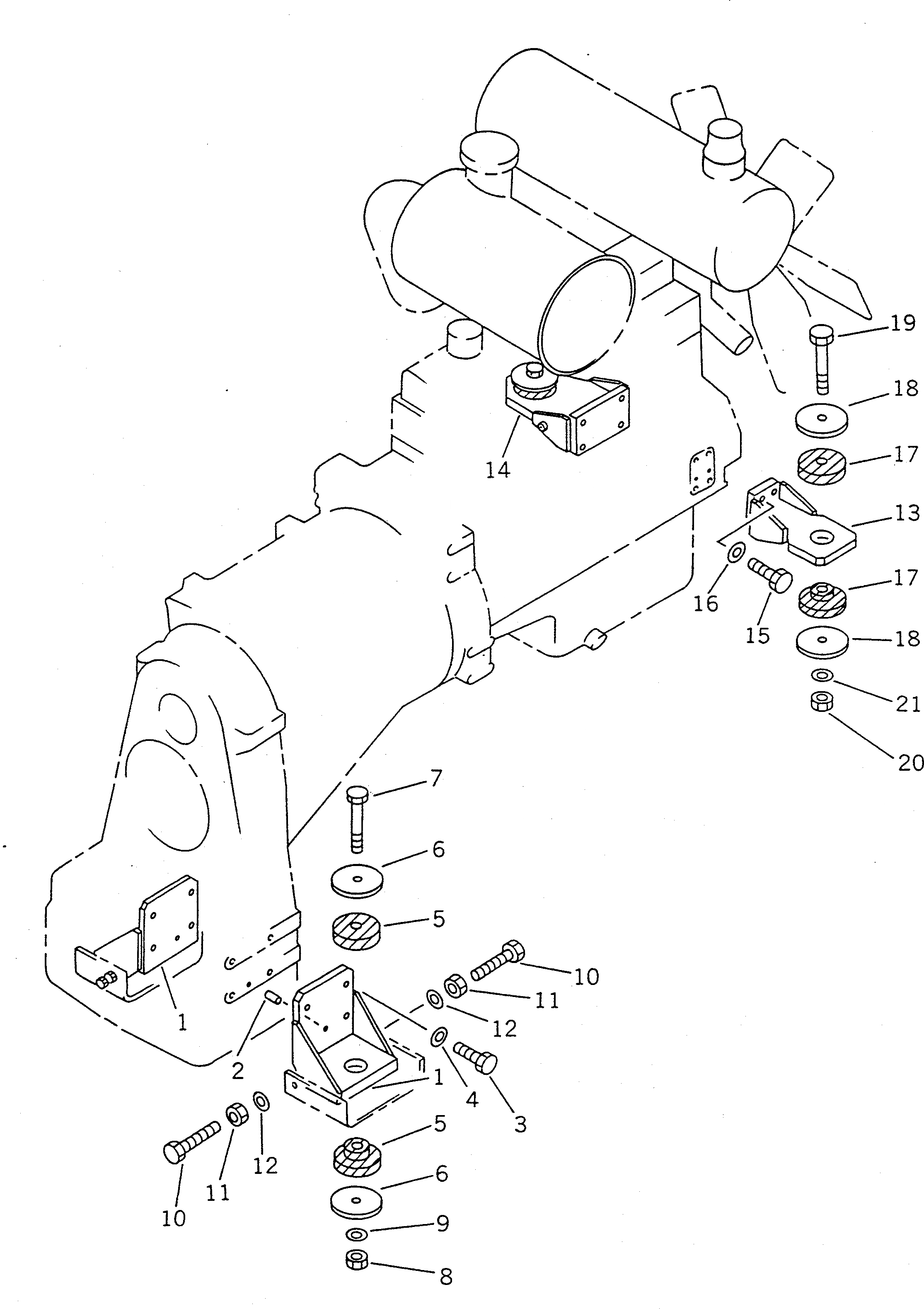
Запчасти Komatsu WA420-1 КРЕПЛЕНИЕ ДВИГАТЕЛЯ КОМПОНЕНТЫ ДВИГАТЕЛЯ И ЭЛЕКТРИКА

Схема запчастей Komatsu WA420-1 - КРЕПЛЕНИЕ ДВИГАТЕЛЯ КОМПОНЕНТЫ ДВИГАТЕЛЯ И ЭЛЕКТРИКА
FIT
1:1
100%

Артикул

Название

Примечание

Количество

1

424-01-11173

BRACKET

SN: 20001-UP

2шт.

1

424-01-11172

BRACKET

SN: 10001-19999

2шт.

2

04020-01228

PIN,DOWEL

SN: 10001-UP

2шт.

3

01010-31445

BOLT

SN: 10001-UP

8шт.

4

01643-31445

WASHER

SN: 10001-UP

8шт.

5

424-01-11310

CUSHION ASS'Y

SN: 10001-UP

2шт.

5

424-01-11320

CUSHION,LOWER

SN: 10001-UP

1шт.

5

424-01-11330

CUSHION,UPPER

SN: 10001-UP

1шт.

6

424-01-11220

WASHER

SN: 10001-UP

4шт.

7

01011-32445

BOLT

SN: 10001-UP

2шт.

8

01580-02419

NUT

SN: 10001-UP

2шт.

9

01643-32460

WASHER

SN: 10001-UP

2шт.

10

01016-52070

BOLT

SN: 10001-UP

4шт.

11

01580-12016

NUT

SN: 10001-UP

4шт.

12

01643-32060

WASHER

SN: 10001-UP

4шт.

13

424-01-11151

BRACKET,L.H.

SN: 10001-UP

1шт.

14

424-01-11162

BRACKET,R.H.

SN: 10001-UP

1шт.

15

01010-31245

BOLT

SN: 10001-UP

8шт.

16

01643-31232

WASHER

SN: 10001-UP

8шт.

17

424-01-11310

CUSHION ASS'Y

SN: 10001-UP

2шт.

17

424-01-11320

CUSHION,LOWER

SN: 10001-UP

1шт.

17

424-01-11330

CUSHION,UPPER

SN: 10001-UP

1шт.

18

424-01-11220

WASHER

SN: 10001-UP

4шт.

19

01011-32445

BOLT

SN: 10001-UP

2шт.

20

01580-02419

NUT

SN: 10001-UP

2шт.

21

01643-32460

WASHER

SN: 10001-UP

2шт.

Выбрано товаров: 26