Запчасти Komatsu WA420-1 РЫЧАГ УПРАВЛЕНИЯ РАБОЧИМ ОБОРУДОВАНИЕМ(№-) УПРАВЛ-Е РАБОЧИМ ОБОРУДОВАНИЕМ

Схема запчастей Komatsu WA420-1 - РЫЧАГ УПРАВЛЕНИЯ РАБОЧИМ ОБОРУДОВАНИЕМ(№-) УПРАВЛ-Е РАБОЧИМ ОБОРУДОВАНИЕМ
FIT
1:1
100%

Артикул

Название

Примечание

Количество

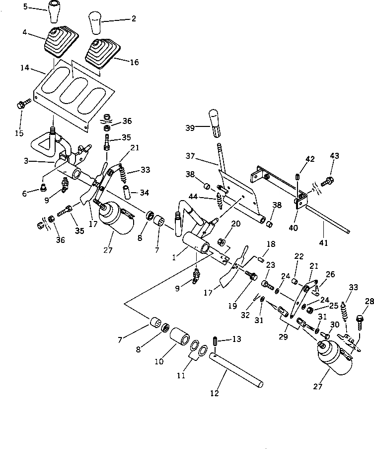
1

423-43-18122

LEVER,DUMP

SN: 20001-UP

1шт.

2

113-43-23420

KNOB

SN: 20001-UP

1шт.

|$2

423-43-18501

LEVER ASS'Y

SN: 20001-UP

1шт.

3

423-43-18212

LEVER,LIFT

SN: 20001-UP

1шт.

4

419-43-18160

BOOT

SN: 20001-UP

1шт.

5

421-06-15510

SWITCH,KICK-DOWN

SN: 20001-UP

1шт.

5

421-06-15530

COVER

SN: 20001-UP

1шт.

5

421-06-15540

SCREW

SN: 20001-UP

1шт.

5

421-06-15520

SWITCH

SN: 20001-UP

1шт.

5

421-06-15550

BODY

SN: 20001-UP

1шт.

6

423-43-18350

GROMMET

SN: 20001-UP

1шт.

7

06120-02016

BEARING

SN: 10001-UP

4шт.

8

06122-02004

SEAL,BEARING

SN: 10001-UP

4шт.

9

07020-00675

FITTING,GREASE

SN: 20001-UP

2шт.

10

421-43-18631

SPACER

SN: 20001-UP

1шт.

11

426-43-18850

SHIM, 1.0MM

SN: 20001-UP

5шт.

12

425-43-18210

SHAFT

SN: 20001-UP

1шт.

13

04025-00616

PIN,SPRING

SN: 20001-UP

1шт.

14

421-43-18870

PLATE

SN: 20001-UP

1шт.

15

01435-00812

BOLT

SN: 20001-UP

2шт.

16

419-43-18160

BOOT

SN: 20001-UP

1шт.

17

423-43-18142

PLATE,(FOR DUMP CONTROL)

SN: 20001-UP

1шт.

17

423-43-18131

PLATE,(FOR LIFT CONTROL)

SN: 20001-UP

1шт.

18

04020-00616

PIN,DOWEL

SN: 10001-UP

4шт.

19

01435-00825

BOLT

SN: 20001-UP

2шт.

20

01584-00806

NUT

SN: 20001-UP

2шт.

|$26

425-43-18320

LEVER ASS'Y

SN: 20001-UP

2шт.

21

425-43-18291

LEVER

SN: 20001-UP

1шт.

22

421-43-18850

BUSHING

SN: 20001-UP

4шт.

23

421-43-18711

BEARING

SN: 20001-UP

2шт.

24

01643-30623

WASHER

SN: 20001-UP

4шт.

25

426-09-11130

NUT

SN: 20001-UP

2шт.

26

04050-13022

PIN,COTTER

SN: 20001-UP

2шт.

27

421-06-11542

SOLENOID

SN: 10093-UP

2шт.

27

421-09-11590

GREASE

SN: 10093-UP

1шт.

27

421-06-11470

BOOT

SN: 10093-UP

1шт.

28

01435-00616

BOLT

SN: 20001-UP

8шт.

29

425-43-18140

PLATE

SN: 20001-UP

4шт.

30

04205-10620

PIN

SN: 10001-UP

4шт.

31

01641-20608

WASHER

SN: 20001-UP

8шт.

32

04050-11610

PIN,COTTER

SN: 10001-UP

4шт.

33

234-885-1690

SPRING

SN: 10001-UP

2шт.

34

423-43-18560

HOSE

SN: 20001-20074

2шт.

34

423-43-18560

HOSE,(EUROPA SPEC.)

SN: 20001-20068

2шт.

35

423-43-18580

BOLT

SN: 20001-UP

4шт.

36

01580-10806

NUT

SN: 20001-UP

4шт.

|$46

423-43-18400

LEVER

SN: 20001-UP

1шт.

37

423-43-18460

LEVER

SN: 20001-UP

1шт.

38

421-43-18580

BUSHING

SN: 20001-UP

2шт.

39

09305-00800

KNOB

SN: 20001-UP

1шт.

40

423-43-18410

BRACKET

SN: 20001-UP

1шт.

41

425-43-18221

SHAFT

SN: 20001-UP

1шт.

42

04025-00308

PIN,SPRING

SN: 20001-UP

1шт.

43

01435-01225

BOLT

SN: 20001-UP

2шт.

44

203-43-21370

SPRING

SN: 20001-UP

1шт.

Выбрано товаров: 55