Запчасти Komatsu WA420-1 АККУМУЛЯТОР И Э/ПРОВОДКА ПЕРЕКЛЮЧАТЕЛЯ (TBG/ABE СПЕЦ-Я.)(№-9999) СПЕЦ. APPLICATION ЧАСТИ

Схема запчастей Komatsu WA420-1 - АККУМУЛЯТОР И Э/ПРОВОДКА ПЕРЕКЛЮЧАТЕЛЯ (TBG/ABE СПЕЦ-Я.)(№-9999) СПЕЦ. APPLICATION ЧАСТИ
FIT
1:1
100%

Артикул

Название

Примечание

Количество

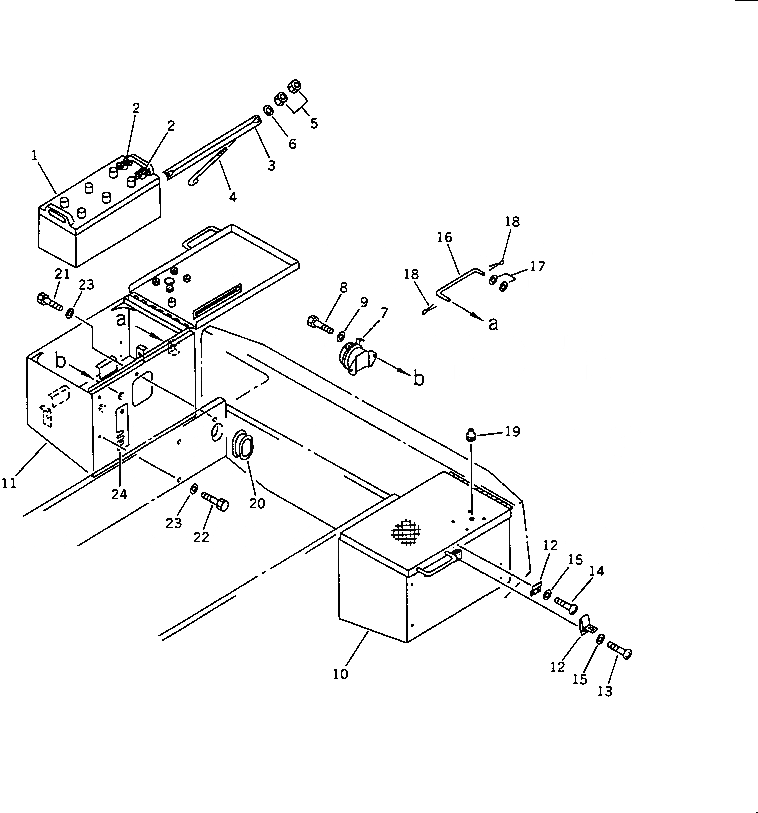
1

08000-02215

BATTERY (145G51)

SN: 10001-19999

2шт.

2

08000-00000

TERMINAL, (+)

SN: 10001-19999

2шт.

2

08000-00001

TERMINAL, (-)

SN: 10001-19999

2шт.

3

421-06-11221

HOLDER

SN: 10001-19999

2шт.

4

113-06-31120

BOLT

SN: 10001-19999

4шт.

5

01580-11008

NUT

SN: 10001-19999

8шт.

6

01643-31032

WASHER

SN: 10001-19999

4шт.

7

421-06-11930

RELAY,BATTERY

SN: 10001-19999

1шт.

7

01220-40408

SCREW

SN: 10001-19999

2шт.

7

01601-20410

WASHER,SPRING

SN: 10001-19999

2шт.

7

01643-50823

WASHER

SN: 10001-19999

2шт.

7

01010-50825

BOLT

SN: 10001-19999

2шт.

8

01010-50825

BOLT

SN: 10001-19999

2шт.

9

01643-30823

WASHER

SN: 10001-19999

2шт.

10

424-06-14210

BOX,L.H.

SN: 10001-19999

1шт.

11

424-06-14220

BOX,R.H.

SN: 10001-19999

1шт.

12

421-09-12321

HOLDER

SN: 10484-19999

2шт.

12

0

HOLDER

SN: 10001-10483

2шт.

13

01220-40408

SCREW

SN: 10001-19999

6шт.

14

01220-40410

SCREW

SN: 10001-19999

4шт.

15

01641-20405

WASHER

SN: 10001-19999

10шт.

16

424-06-14160

STOPPER

SN: 10001-19999

2шт.

17

01643-31032

WASHER

SN: 10001-19999

4шт.

18

04050-13018

PIN,COTTER

SN: 10001-19999

8шт.

19

08037-10610

GROMMET

SN: 10001-19999

2шт.

20

424-06-14170

GROMMET

SN: 10001-19999

2шт.

21

01010-31645

BOLT

SN: 10001-19999

2шт.

22

01010-31660

BOLT

SN: 10001-19999

4шт.

23

01643-31645

WASHER

SN: 10001-19999

6шт.

24

423-06-11451

SHIM, 1.0MM

SN: 10001-19999

6шт.

Выбрано товаров: 30