Запчасти Komatsu WA420-1 ЭЛЕКТРИКА (КОНСОЛЬН. БЛОК¤ ЛЕВ.) (TBG/ABE СПЕЦ-Я.)(№-9999) СПЕЦ. APPLICATION ЧАСТИ

Схема запчастей Komatsu WA420-1 - ЭЛЕКТРИКА (КОНСОЛЬН. БЛОК¤ ЛЕВ.) (TBG/ABE СПЕЦ-Я.)(№-9999) СПЕЦ. APPLICATION ЧАСТИ
FIT
1:1
100%

Артикул

Название

Примечание

Количество

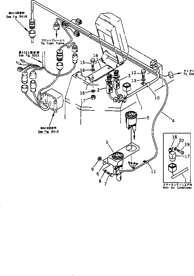
1

425-963-1511

WIRE ASS'Y

SN: 10117-19999

1шт.

1

419-06-12351

WIRE ASS'Y

SN: 10001-10116

1шт.

2

421-06-16141

SWITCH,FRONT WIPER

SN: 10001-@

1шт.

2

421-09-11550

TERMINAL

SN: 10001-@

5шт.

2

421-09-11560

CONNECTOR

SN: 10001-@

1шт.

3

421-06-16150

SWITCH,REAR WIPER

SN: 10001-@

1шт.

3

421-09-11550

TERMINAL

SN: 10001-@

4шт.

3

421-09-11540

CONNECTOR

SN: 10001-@

1шт.

4

423-06-12633

WIRE ASS'Y

SN: 10313-19999

1шт.

4

0

WIRE ASS'Y

SN: 10001-10312

1шт.

5

423-06-11510

GAUGE,AIR

SN: 10001-@

2шт.

6

423-06-11520

BRACKET

SN: 10001-@

1шт.

7

01010-50616

BOLT

SN: 10001-@

2шт.

8

01643-30623

WASHER

SN: 10001-@

2шт.

9

01580-10605

NUT

SN: 10001-@

2шт.

10

08036-01814

CLIP

SN: 10001-@

1шт.

11

08036-11214

CLIP

SN: 10001-@

1шт.

12

01010-51020

BOLT

SN: 10001-@

1шт.

13

01643-31032

WASHER

SN: 10001-@

1шт.

14

423-06-11530

PLATE

SN: 10001-19999

1шт.

15

01010-51016

BOLT

SN: 10001-19999

2шт.

16

01643-31032

WASHER

SN: 10001-19999

2шт.

17

421-06-11940

RELAY,AIR CONDITIONER

SN: 10001-@

1шт.

18

287-06-16420

BRACKET

SN: 10001-@

1шт.

19

01220-40610

SCREW

SN: 10001-@

1шт.

20

01641-20608

WASHER

SN: 10001-@

1шт.

Выбрано товаров: 26