Запчасти Komatsu WA420-1 ЭЛЕКТРИКА (КОНСОЛЬН. БЛОК¤ ЛЕВ.) (TBG/ABE СПЕЦ-Я.)(№-) СПЕЦ. APPLICATION ЧАСТИ

Схема запчастей Komatsu WA420-1 - ЭЛЕКТРИКА (КОНСОЛЬН. БЛОК¤ ЛЕВ.) (TBG/ABE СПЕЦ-Я.)(№-) СПЕЦ. APPLICATION ЧАСТИ
FIT
1:1
100%

Артикул

Название

Примечание

Количество

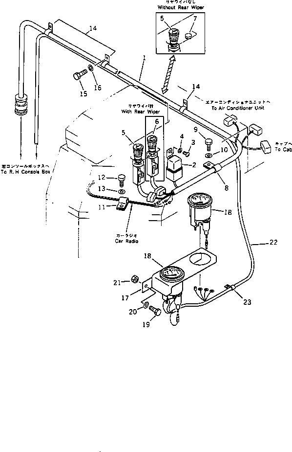
1

421-06-12581

WIRE ASS'Y

SN: 20001-UP

1шт.

2

421-06-11940

RELAY,AIR CONDITIONER

SN: 10001-UP

1шт.

3

01220-40610

SCREW

SN: 10001-UP

1шт.

4

01641-20608

WASHER

SN: 10001-UP

1шт.

5

421-06-16141

SWITCH,FRONT WIPER

SN: 10001-UP

1шт.

5

421-09-11550

TERMINAL

SN: 10001-UP

5шт.

5

421-09-11560

CONNECTOR

SN: 10001-UP

1шт.

6

421-06-16150

SWITCH,REAR WIPER

SN: 10001-UP

1шт.

6

421-09-11550

TERMINAL

SN: 10001-UP

4шт.

6

421-09-11540

CONNECTOR

SN: 10001-UP

1шт.

7

09415-00506

CAP,(WITHOUT REAR WIPER)

SN: 20001-UP

1шт.

8

08036-01814

CLIP

SN: 10001-UP

1шт.

9

01010-51020

BOLT

SN: 10001-UP

1шт.

10

01643-31032

WASHER

SN: 10001-UP

1шт.

11

08036-10814

CLIP

SN: 20001-UP

1шт.

12

01010-51020

BOLT

SN: 20001-UP

1шт.

13

01643-31032

WASHER

SN: 20001-UP

1шт.

14

08036-01414

CLIP

SN: 20001-UP

3шт.

15

01010-51020

BOLT

SN: 20001-UP

3шт.

16

01643-31032

WASHER

SN: 20001-UP

3шт.

17

423-06-11520

BRACKET

SN: 10001-UP

1шт.

18

423-06-11510

GAUGE,AIR

SN: 10001-UP

2шт.

19

01010-50616

BOLT

SN: 10001-UP

2шт.

20

01643-30623

WASHER

SN: 10001-UP

2шт.

21

01580-10605

NUT

SN: 10001-UP

2шт.

22

421-06-13381

WIRE ASS'Y

SN: 20001-UP

1шт.

23

08036-11214

CLIP

SN: 10001-UP

1шт.

Выбрано товаров: 27