Запчасти Komatsu WA420-1 ЭЛЕКТРИКА (ПЕРЕДН. ОСВЕЩЕНИЕ) (TBG/ABE СПЕЦ-Я.)(№-) СПЕЦ. APPLICATION ЧАСТИ

Схема запчастей Komatsu WA420-1 - ЭЛЕКТРИКА (ПЕРЕДН. ОСВЕЩЕНИЕ) (TBG/ABE СПЕЦ-Я.)(№-) СПЕЦ. APPLICATION ЧАСТИ
FIT
1:1
100%

Артикул

Название

Примечание

Количество

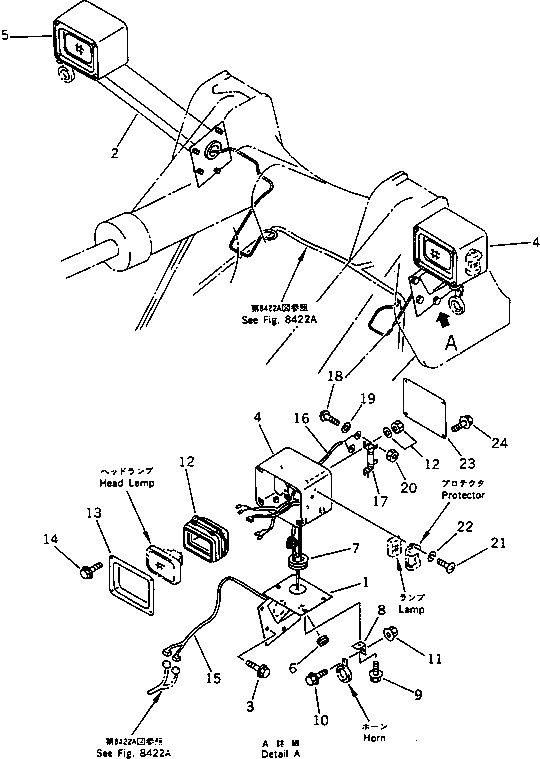
1

423-06-11133

SUPPORT,L.H.

SN: 20001-UP

1шт.

2

423-06-11143

SUPPORT,R.H.

SN: 20001-UP

1шт.

3

01435-01225

BOLT

SN: 20001-UP

8шт.

4

419-06-13261

BRACKET,L.H.

SN: 10001-UP

1шт.

5

419-06-13271

BRACKET,R.H.

SN: 10001-UP

1шт.

6

08037-01008

GROMMET

SN: 10001-UP

2шт.

7

08037-03614

GROMMET

SN: 20001-UP

2шт.

8

424-06-19150

BRACKET

SN: 10001-UP

2шт.

9

01435-01225

BOLT

SN: 20001-UP

6шт.

10

01435-00820

BOLT

SN: 20001-UP

2шт.

11

01584-00806

NUT

SN: 20001-UP

2шт.

12

421-06-13150

BRACKET ASS'Y

SN: 10001-UP

2шт.

12

421-06-13120

CUSHION

SN: 10001-UP

4шт.

13

419-06-13280

COVER

SN: 10001-UP

2шт.

14

01435-00612

BOLT

SN: 20001-UP

8шт.

15

421-06-12360

WIRE ASS'Y

SN: 20001-UP

2шт.

16

421-06-12492

WIRE ASS'Y

SN: 20001-UP

2шт.

17

419-06-11380

RESISTOR

SN: 10001-UP

2шт.

18

01220-40310

SCREW

SN: 10001-UP

4шт.

19

01641-20305

WASHER

SN: 10001-UP

4шт.

20

01580-10302

NUT

SN: 10001-UP

4шт.

21

01220-40520

SCREW

SN: 10001-UP

4шт.

22

01601-20513

WASHER,SPRING

SN: 10001-UP

4шт.

23

419-06-13290

COVER

SN: 10001-UP

2шт.

24

01435-00612

BOLT

SN: 20001-UP

8шт.

Выбрано товаров: 25