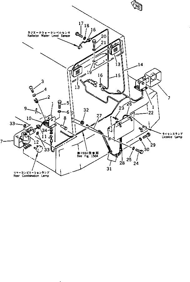
Запчасти Komatsu WA420-1 ЭЛЕКТРИКА (ЗАДН. ОСВЕЩЕНИЕ) (TBG/ABE СПЕЦ-Я.)(№-9999) СПЕЦ. APPLICATION ЧАСТИ

Схема запчастей Komatsu WA420-1 - ЭЛЕКТРИКА (ЗАДН. ОСВЕЩЕНИЕ) (TBG/ABE СПЕЦ-Я.)(№-9999) СПЕЦ. APPLICATION ЧАСТИ
FIT
1:1
100%

Артикул

Название

Примечание

Количество

1

424-06-13131

BRACKET

SN: 10484-19999

2шт.

1

0

BRACKET

SN: 10001-10483

2шт.

|$$3

(424-06-13131,01640-21626)

-1шт.

2

419-54-14310

SPRING

SN: 10001-19999

4шт.

3

01220-40408

SCREW

SN: 10001-19999

8шт.

4

01601-20410

WASHER,SPRING

SN: 10001-19999

8шт.

5

01010-51020

BOLT

SN: 10001-19999

8шт.

6

01643-31032

WASHER

SN: 10001-19999

8шт.

7

424-06-13142

BRACKET,L.H.

SN: 10101-19999

1шт.

7

0

BRACKET,R.H.

SN: 10001-10100

1шт.

|$$11

(424-06-13142,08037-01610)

-1шт.

7

424-06-13152

BRACKET,L.H.

SN: 10101-19999

1шт.

7

0

BRACKET,R.H.

SN: 10001-10100

1шт.

|$$14

(424-06-13152,08037-01610)

-1шт.

8

417-06-13630

PIN

SN: 10001-19999

2шт.

9

04050-14020

PIN,COTTER

SN: 10001-19999

2шт.

10

424-06-12640

WIRE

SN: 10001-19999

2шт.

10

421-06-11970

DIODE

SN: 10001-19999

2шт.

11

08034-00414

BAND

SN: 10001-19999

2шт.

12

08037-01610

GROMMET

SN: 10101-19999

2шт.

12

08037-01008

GROMMET

SN: 10001-10100

2шт.

13

421-06-13202

WORK LAMP ASS'Y

SN: 10001-19999

2шт.

13

22W-06-12170

BULB

SN: 10001-19999

1шт.

13

421-06-13120

CUSHION

SN: 10001-19999

4шт.

14

424-06-12132

WIRE ASS'Y

SN: 10001-19999

1шт.

15

424-06-12122

WIRE ASS'Y

SN: 10001-19999

1шт.

16

421-06-12910

CLIP

SN: 10001-19999

2шт.

17

01220-40608

SCREW

SN: 10001-19999

2шт.

18

01641-20608

WASHER

SN: 10001-19999

2шт.

19

424-06-11460

PLATE

SN: 10001-19999

1шт.

20

01010-51020

BOLT

SN: 10001-19999

2шт.

21

01643-31032

WASHER

SN: 10001-19999

2шт.

22

424-06-17130

BRACKET

SN: 10001-19999

1шт.

23

424-06-12940

RIVET

SN: 10001-19999

1шт.

24

01010-51222

BOLT

SN: 10001-19999

2шт.

25

01643-31232

WASHER

SN: 10001-19999

2шт.

26

419-06-12550

WIRE ASS'Y

SN: 10001-19999

1шт.

27

424-06-12950

WIRE

SN: 10001-19999

1шт.

28

419-09-11160

CLIP

SN: 10001-19999

1шт.

29

01010-50816

BOLT

SN: 10001-19999

1шт.

30

01643-30823

WASHER

SN: 10001-19999

1шт.

31

08034-00310

BAND

SN: 10001-19999

3шт.

32

08037-01610

GROMMET

SN: 10001-19999

2шт.

33

01640-21626

WASHER

SN: 10484-19999

4шт.

34

08037-01008

GROMMET

SN: 10101-19999

2шт.

Выбрано товаров: 45