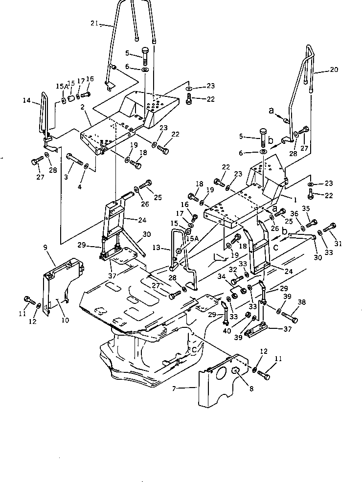
Запчасти Komatsu WA420-1 ПОЛ И ЛЕСТНИЦА (С КАБИНОЙ) (TBG/ABE СПЕЦ-Я.)(№-9999) СПЕЦ. APPLICATION ЧАСТИ

Схема запчастей Komatsu WA420-1 - ПОЛ И ЛЕСТНИЦА (С КАБИНОЙ) (TBG/ABE СПЕЦ-Я.)(№-9999) СПЕЦ. APPLICATION ЧАСТИ
FIT
1:1
100%

Артикул

Название

Примечание

Количество

1

424-54-14740

FLOOR,L.H.

SN: 10001-19999

1шт.

2

424-54-14750

FLOOR,R.H.

SN: 10001-19999

1шт.

3

01010-51260

BOLT

SN: 10001-19999

4шт.

4

01643-31232

WASHER

SN: 10001-19999

4шт.

5

01010-52450

BOLT

SN: 10001-19999

4шт.

6

01643-32460

WASHER

SN: 10001-19999

4шт.

7

424-54-12782

COVER,L.H.

SN: 10001-19999

1шт.

8

424-Z90-1350

SHEET

SN: 10001-19999

1шт.

9

424-54-14461

COVER,R.H.

SN: 10001-19999

1шт.

10

424-Z90-1371

SHEET

SN: 10207-19999

1шт.

10

0

SHEET

SN: 10001-10206

1шт.

11

01010-51225

BOLT

SN: 10001-19999

10шт.

12

01643-31232

WASHER

SN: 10001-19999

10шт.

13

424-54-12421

HANDLE,L.H.

SN: 10001-19999

1шт.

14

424-54-12431

HANDLE,R.H.

SN: 10001-19999

1шт.

15

418-60-15150

STOPPER

SN: 10001-19999

2шт.

15A

424-54-12580

SPACER

SN: 10001-19999

2шт.

16

01220-40645

SCREW

SN: 10001-19999

2шт.

17

01602-20619

WASHER,SPRING

SN: 10001-19999

2шт.

18

01010-51220

BOLT

SN: 10001-19999

4шт.

19

01643-31232

WASHER

SN: 10001-19999

4шт.

20

424-54-14770

HANDLE,L.H.

SN: 10001-19999

1шт.

21

424-54-14780

HANDLE,R.H.

SN: 10001-19999

1шт.

22

01010-51225

BOLT

SN: 10001-19999

6шт.

23

01643-31232

WASHER

SN: 10001-19999

6шт.

24

424-54-14680

LADDER

SN: 10001-19999

2шт.

25

01010-51230

BOLT

SN: 10001-19999

8шт.

26

01643-31232

WASHER

SN: 10001-19999

8шт.

27

01010-51235

BOLT

SN: 10001-19999

4шт.

28

01643-31232

WASHER

SN: 10001-19999

4шт.

29

424-54-14650

WIREROPE,STEP

SN: 10001-19999

4шт.

30

424-54-12291

STAY

SN: 10001-19999

2шт.

31

01010-51260

BOLT

SN: 10001-19999

4шт.

32

01010-51235

BOLT

SN: 10001-19999

4шт.

33

01643-31232

WASHER

SN: 10001-19999

16шт.

34

01580-11210

NUT

SN: 10001-19999

8шт.

35

01010-51230

BOLT

SN: 10001-19999

2шт.

36

01643-31232

WASHER

SN: 10001-19999

2шт.

37

423-54-12770

STEP

SN: 10001-19999

2шт.

38

01010-51265

BOLT

SN: 10001-19999

4шт.

39

01643-31232

WASHER

SN: 10001-19999

8шт.

40

426-43-19150

NUT,LOCK

SN: 10001-19999

4шт.

Выбрано товаров: 42