Запчасти Komatsu WA420-1 ПОЛН. КРЫЛО (TBG/ABE СПЕЦ-Я.)(№-9999) СПЕЦ. APPLICATION ЧАСТИ

Схема запчастей Komatsu WA420-1 - ПОЛН. КРЫЛО (TBG/ABE СПЕЦ-Я.)(№-9999) СПЕЦ. APPLICATION ЧАСТИ
FIT
1:1
100%

Артикул

Название

Примечание

Количество

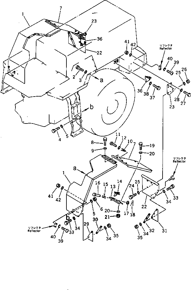
1

424-970-1130

FENDER,L.H. REAR

SN: 10001-19999

1шт.

1

424-970-1140

FENDER,R.H. REAR

SN: 10001-19999

1шт.

2

01010-51220

BOLT

SN: 10001-19999

8шт.

3

01643-31232

WASHER

SN: 10001-19999

8шт.

4

01010-51225

BOLT

SN: 10001-19999

2шт.

5

01643-31232

WASHER

SN: 10001-19999

4шт.

6

01580-11008

NUT

SN: 10001-19999

6шт.

7

424-970-1150

FENDER,L.H. REAR

SN: 10001-19999

1шт.

7

424-970-1160

FENDER,R.H. REAR

SN: 10001-19999

1шт.

8

01010-51220

BOLT

SN: 10001-19999

6шт.

9

01643-31232

WASHER

SN: 10001-19999

6шт.

10

419-54-14310

SPRING

SN: 10001-19999

2шт.

11

01220-40406

SCREW

SN: 10001-19999

4шт.

12

01641-20405

WASHER

SN: 10001-19999

4шт.

13

419-54-14231

SUPPORT

SN: 10119-19999

2шт.

13

419-54-14230

SUPPORT

SN: 10001-10118

2шт.

14

419-54-14241

CATCH

SN: 10119-19999

2шт.

14

419-54-14240

CATCH

SN: 10001-10118

2шт.

15

419-54-14250

SPRING

SN: 10001-19999

2шт.

16

419-54-14260

PIN

SN: 10001-19999

2шт.

17

01643-30623

WASHER

SN: 10001-19999

2шт.

18

04052-00633

PIN,COTTER

SN: 10001-19999

2шт.

19

01010-51230

BOLT

SN: 10001-19999

4шт.

20

01643-31232

WASHER

SN: 10001-19999

8шт.

21

01580-11210

NUT

SN: 10001-19999

4шт.

22

424-970-1171

FENDER,L.H. REAR

SN: 10001-19999

1шт.

22

424-970-1181

FENDER,R.H. REAR

SN: 10001-19999

1шт.

23

424-970-1210

BRACKET,L.H.

SN: 10001-19999

1шт.

23

424-970-1220

BRACKET,R.H.

SN: 10001-19999

1шт.

24

01010-51025

BOLT

SN: 10001-19999

6шт.

25

01643-31032

WASHER

SN: 10001-19999

12шт.

26

01580-11008

NUT

SN: 10001-19999

6шт.

27

01010-51030

BOLT

SN: 10001-19999

6шт.

28

01643-31032

WASHER

SN: 10001-19999

6шт.

29

424-970-1320

RUBBER

SN: 10001-19999

2шт.

30

424-970-1350

PLATE

SN: 10001-19999

2шт.

31

419-54-14510

RUBBER

SN: 10001-19999

2шт.

32

419-54-14520

PLATE

SN: 10001-19999

2шт.

33

01010-51035

BOLT

SN: 10001-19999

6шт.

33A

01010-51030

BOLT

SN: 10001-19999

4шт.

34

01643-31032

WASHER

SN: 10001-19999

20шт.

35

426-43-19160

NUT

SN: 10001-19999

10шт.

36

423-54-14110

STOPPER,L.H.

SN: 10001-19999

1шт.

36

423-54-14120

STOPPER,R.H.

SN: 10001-19999

1шт.

37

01010-51220

BOLT

SN: 10001-19999

8шт.

38

01643-31232

WASHER

SN: 10001-19999

8шт.

39

01220-40416

SCREW

SN: 10001-19999

8шт.

40

01601-20410

WASHER,SPRING

SN: 10001-19999

8шт.

41

01580-10403

NUT

SN: 10001-19999

8шт.

42

01642-20405

WASHER

SN: 10001-19999

8шт.

Выбрано товаров: 50