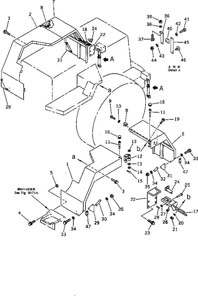
Запчасти Komatsu WA420-1 ПОЛН. КРЫЛО (TBG/ABE СПЕЦ-Я.)(№-) СПЕЦ. APPLICATION ЧАСТИ

Схема запчастей Komatsu WA420-1 - ПОЛН. КРЫЛО (TBG/ABE СПЕЦ-Я.)(№-) СПЕЦ. APPLICATION ЧАСТИ
FIT
1:1
100%

Артикул

Название

Примечание

Количество

1

424-970-1131

FENDER,L.H. FRONT

SN: 20001-UP

1шт.

2

424-970-1141

FENDER,R.H. FRONT

SN: 20001-UP

1шт.

3

01435-01220

BOLT

SN: 20001-UP

8шт.

4

01435-01225

BOLT

SN: 20001-UP

2шт.

5

01580-11210

NUT

SN: 20001-UP

2шт.

6

424-970-1172

FENDER,L.H. REAR

SN: 20001-UP

1шт.

7

424-970-1182

FENDER,R.H. REAR

SN: 20001-UP

1шт.

8

419-54-14310

SPRING

SN: 20001-UP

2шт.

9

01220-40406

SCREW

SN: 20001-UP

4шт.

10

01641-20405

WASHER

SN: 20001-UP

4шт.

11

418-54-14181

PIN

SN: 20001-UP

4шт.

12

418-54-14171

HINGE

SN: 20001-UP

2шт.

13

418-54-14190

COLLAR

SN: 20001-UP

8шт.

14

01640-02032

WASHER

SN: 20001-UP

4шт.

15

04050-15030

PIN,COTTER

SN: 20001-UP

4шт.

16

09415-02512

CAP

SN: 20001-UP

4шт.

17

424-970-1230

SUPPORT,L.H.

SN: 20001-UP

1шт.

18

424-970-1240

SUPPORT,R.H.

SN: 20001-UP

1шт.

19

01435-01225

BOLT

SN: 20001-UP

4шт.

20

01643-31232

WASHER

SN: 20001-UP

4шт.

21

01580-11210

NUT

SN: 20001-UP

4шт.

22

424-970-1250

STOPPER

SN: 20001-UP

2шт.

23

01435-01225

BOLT

SN: 20001-UP

8шт.

24

421-970-1170

CATCH

SN: 20001-UP

2шт.

25

419-54-14260

PIN,CLEVIS

SN: 20001-UP

2шт.

26

419-54-14250

SPRING

SN: 20001-UP

2шт.

27

01643-30623

WASHER

SN: 20001-UP

2шт.

28

04052-00633

PIN,COTTER

SN: 20001-UP

2шт.

29

424-970-1390

PLATE

SN: 20001-UP

2шт.

30

424-970-1380

BAR

SN: 20001-UP

2шт.

31

424-970-1320

RUBBER

SN: 20001-UP

2шт.

32

424-970-1350

PLATE

SN: 20001-UP

2шт.

33

01010-51030

BOLT

SN: 20001-UP

8шт.

34

01643-31032

WASHER

SN: 20001-UP

16шт.

35

426-43-19160

NUT

SN: 20001-UP

8шт.

36

421-06-13460

BRACKET

SN: 20001-UP

2шт.

37

01435-00616

BOLT

SN: 20001-UP

4шт.

38

01643-30623

WASHER

SN: 20001-UP

4шт.

39

01580-10605

NUT

SN: 20001-UP

4шт.

40

416-Z81-1140

PLATE

SN: 20001-UP

2шт.

41

01010-51035

BOLT

SN: 20001-UP

2шт.

42

01643-31032

WASHER

SN: 20001-UP

4шт.

43

01603-01018

WASHER,SPRING

SN: 20001-UP

4шт.

44

426-43-19160

NUT

SN: 20001-UP

2шт.

45

416-Z81-1240

HOLDER

SN: 20001-UP

2шт.

46

419-Z81-1160

REFLECTOR,REAR

SN: 20001-UP

2шт.

47

421-06-14430

REFLECTOR,SIDE

SN: 20001-UP

2шт.

Выбрано товаров: 47