Запчасти Komatsu WA420-1 ГИДР. БАК. (TBG/ABE СПЕЦ-Я.)(№-) СПЕЦ. APPLICATION ЧАСТИ

Схема запчастей Komatsu WA420-1 - ГИДР. БАК. (TBG/ABE СПЕЦ-Я.)(№-) СПЕЦ. APPLICATION ЧАСТИ
FIT
1:1
100%

Артикул

Название

Примечание

Количество

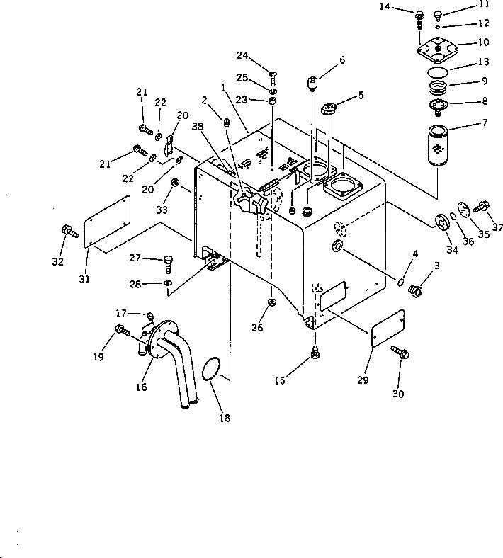
1

424-875-1512

TANK

SN: 20001-UP

1шт.

2

07042-30108

PLUG

SN: 20001-UP

1шт.

3

421-60-11622

GAUGE,SIGHT

SN: 20001-UP

1шт.

4

07002-05234

O-RING

SN: 20001-UP

1шт.

5

07092-01000

CAP,FILLER

SN: 20001-UP

1шт.

5

07051-00003

GASKET

SN: 20001-UP

1шт.

6

419-60-15231

BREATHER ASS'Y

SN: 20001-UP

1шт.

6

419-60-15250

ELEMENT

SN: 20001-UP

1шт.

6

419-60-15270

O-RING

SN: 20001-UP

1шт.

7

07063-01142

ELEMENT

SN: 20001-UP

2шт.

8

195-60-16300

VALVE ASS'Y

SN: 20001-UP

2шт.

9

195-60-16330

SPRING

SN: 20001-UP

2шт.

10

195-60-16242

COVER

SN: 20001-UP

2шт.

11

424-60-15150

PLUG

SN: 20001-UP

2шт.

12

07000-02010

O-RING

SN: 20001-UP

2шт.

13

07000-05175

O-RING

SN: 20001-UP

2шт.

14

01435-01230

BOLT

SN: 20001-UP

8шт.

15

424-01-11110

PLUG

SN: 20001-UP

1шт.

16

423-60-15190

TUBE

SN: 20001-UP

1шт.

17

07042-30108

PLUG

SN: 20001-UP

2шт.

18

07000-05200

O-RING

SN: 20001-UP

1шт.

19

01435-01025

BOLT

SN: 20001-UP

6шт.

20

421-09-12321

HOLDER

SN: 20001-UP

1шт.

21

01220-40408

SCREW

SN: 20001-UP

5шт.

22

01601-20410

WASHER,SPRING

SN: 20001-UP

5шт.

23

418-60-15150

STOPPER

SN: 20001-UP

1шт.

24

01220-40630

SCREW

SN: 20001-UP

1шт.

25

01602-20619

WASHER,SPRING

SN: 20001-UP

1шт.

26

01584-00605

NUT

SN: 20001-UP

1шт.

27

01010-31640

BOLT

SN: 20001-UP

8шт.

28

417-43-18170

WASHER

SN: 20001-UP

8шт.

29

423-60-15260

COVER

SN: 20001-UP

1шт.

30

01435-01225

BOLT

SN: 20001-UP

4шт.

31

423-60-15230

COVER

SN: 20001-UP

1шт.

32

01435-01225

BOLT

SN: 20001-UP

4шт.

33

09415-02520

CAP

SN: 20001-UP

4шт.

34

419-60-15210

PLATE

SN: 20001-UP

1шт.

35

421-875-1560

PLATE

SN: 20001-UP

1шт.

36

07000-02060

O-RING

SN: 20001-UP

1шт.

37

01435-00816

BOLT

SN: 20001-UP

5шт.

38

421-09-12780

CUSHION,STRIP

SN: 20001-UP

3шт.

Выбрано товаров: 41