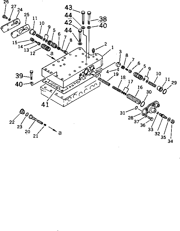
Запчасти Komatsu WA420-1 КЛАПАН УПРАВЛЕНИЯ ТРАНСМИССИЕЙ (/)(№(8)-) ГИДРОТРАНСФОРМАТОР И ТРАНСМИССИЯ

Схема запчастей Komatsu WA420-1 - КЛАПАН УПРАВЛЕНИЯ ТРАНСМИССИЕЙ (/)(№(8)-) ГИДРОТРАНСФОРМАТОР И ТРАНСМИССИЯ
FIT
1:1
100%

Артикул

Название

Примечание

Количество

|$$1

SERIAL NO. IN ( ) INDICATES TRANSMISSION SERIAL NO.

-1шт.

|$1

424-15-00014

TRANSMISSION ASS'Y

SN: (3822)-UP

1шт.

|$$3

THIS ASSEMBLY CONSISTS OF ALL PARTS SHOWN IN FIGS.2501 TO 2531.

-1шт.

|$3

423-15-00303

CONTROL VALVE A.

SN: (3822)-UP

1шт.

|$$5

THIS ASSEMBLY CONSISTS OF ALL PARTS SHOWN IN FIGS.2521 TO 2523.

-1шт.

1

424-15-15111

BODY,VALVE

SN: (3822)-UP

1шт.

2

07042-70108

PLUG

SN: (3822)-UP

5шт.

3

424-15-15650

STOPPER

SN: 10001-UP

1шт.

4

04025-00640

PIN,SPRING

SN: 10001-UP

1шт.

5

424-15-15230

VALVE

SN: 10001-UP

2шт.

6

104-15-25490

VALVE

SN: 10001-UP

2шт.

7

125-15-15290

SPRING

SN: 10001-UP

2шт.

8

104-15-25480

VALVE

SN: 10001-UP

2шт.

9

113-15-25260

SHIM, 0.5MM

SN: 10001-UP

8шт.

10

104-15-25290

SPRING, (L= 62.0)

SN: 10001-UP

2шт.

11

424-15-15490

GUIDE

SN: 10001-UP

2шт.

12

424-15-15240

VALVE

SN: 20001-UP

1шт.

13

104-15-25490

VALVE

SN: 10001-UP

1шт.

14

125-15-15290

SPRING

SN: 10001-UP

1шт.

15

104-15-25480

VALVE

SN: 10001-UP

1шт.

16

424-15-15561

VALVE

SN: 10001-UP

1шт.

17

424-15-16410

SHIM, 0.5MM

SN: 10001-UP

8шт.

18

423-15-16170

SPRING, (L=118.0)

SN: 10001-UP

1шт.

19

424-15-16161

SPRING, (L=145.66)

SN: 10001-UP

1шт.

|$24

423-15-00210

VALVE ASS'Y

SN: 10001-UP

1шт.

20

0

VALVE

SN: 10001-UP

1шт.

21

125-15-11230

PLUG

SN: 10001-UP

1шт.

22

424-15-15290

STOPPER

SN: 10001-UP

1шт.

23

07000-72021

O-RING (K3)

SN: 10001-UP

1шт.

24

424-15-15860

COVER

SN: 10001-UP

1шт.

25

424-15-15931

GASKET (K3)

SN: (5141)-UP

1шт.

25

0

GASKET (K3)

SN: 10001-(5140)

1шт.

26

01010-50820

BOLT

SN: 10001-UP

5шт.

27

01643-30823

WASHER

SN: 10001-UP

5шт.

28

424-15-15850

COVER

SN: 10001-UP

1шт.

29

07000-73030

O-RING (K3)

SN: 10001-UP

1шт.

30

07000-73035

O-RING (K3)

SN: 10001-UP

1шт.

31

07000-72015

O-RING (K3)

SN: 10001-UP

1шт.

32

424-15-15840

PLUG

SN: 10001-UP

1шт.

33

07000-71009

O-RING (K3)

SN: 10001-UP

1шт.

34

01580-11008

NUT

SN: 10001-UP

1шт.

35

01643-31032

WASHER

SN: 10001-UP

1шт.

36

01010-50825

BOLT

SN: 10001-UP

6шт.

37

01643-30823

WASHER

SN: 10001-UP

6шт.

38

01010-51070

BOLT

SN: (2419)-UP

1шт.

39

01010-51070

BOLT

SN: 10001-UP

2шт.

40

01643-31032

WASHER

SN: 10001-UP

3шт.

41

424-15-15982

GASKET (K3)

SN: 20001-UP

1шт.

42

01011-51025

BOLT

SN: 10001-UP

14шт.

43

01011-51025

BOLT

SN: (2419)-UP

1шт.

44

01643-31032

WASHER

SN: 10001-UP

15шт.

Выбрано товаров: 0