Запчасти Komatsu WA420-1LC FIG NO. КОНДИЦ. ВОЗДУХА КРЕПЛЕНИЕ КОНДЕНСАТОРА РАМА, ЧАСТИ КОРПУСА & SUPERSTRUCTURE

Схема запчастей Komatsu WA420-1LC - FIG NO. КОНДИЦ. ВОЗДУХА КРЕПЛЕНИЕ КОНДЕНСАТОРА РАМА, ЧАСТИ КОРПУСА & SUPERSTRUCTURE
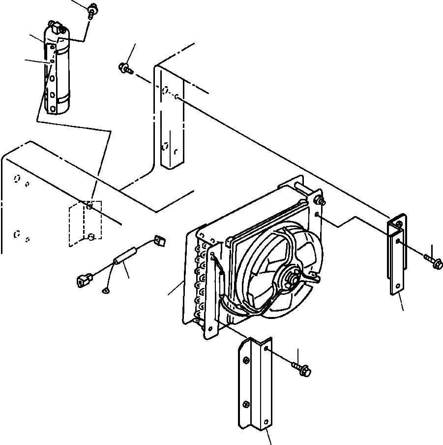
8
6
5
7
4
9
1
3
4
2
FIT
1:1
100%

Артикул

Название

Примечание

Количество

1

CONDENSER ASSEMBLY (SEE PG 05-164)

a

-29шт.

1

CONDENSER ASSEMBLY (SEE PG 05-166)

b

-29шт.

2

423-963-1430

BRACKET, L.H

1шт.

3

423-963-1360

BRACKET, R.H

1шт.

4

01435-01016

BOLT

4шт.

5

01435-01220

BOLT

4шт.

6

425-963-A220

RECEIVER, DRYER UNIT

a

1шт.

6

RECEIVER, TANK (SEE PG 05-164)

b

-29шт.

7

425-963-A210

BRACKET, RECEIVER

1шт.

|$9

425-963-A720

BOLT, HEX - M5 X .8 X 20

a

4шт.

7

RECEIVER, HOLDER (SEE PG 05-164)

b

-29шт.

|$11

BOLT (SEE PG 05-164)

-29шт.

|$12

WASHER (SEE PG 05-164)

-29шт.

8

01435-00820

BOLT

2шт.

9

421-963-1350

WIRE ASSEMBLY

1шт.

|$20

-1шт.

|$16

F1 - USED ON MACHINES S/N A25001 THRU A25123 AND A25125 THRU

-1шт.

|$17

A25135.

-1шт.

|$21

-1шт.

|$19

F2 - USED ON MACHINES S/N A25124 AND A25136 AND UP.

-1шт.

|$22

-1шт.

Выбрано товаров: 21