Качественные детали и логистика
Оригинальные и аналоговые запчасти с доставкой по России, Казахстану и Беларуси
©2022 PartSell ООО "Система" ИНН 2463123282 ОГРН 1212400004838
Центральный офис: г. Красноярск, Академика Киренского, д.87, пом.4
Телефон: 8 (800) 777-65-74 Email: zakaz@partsell.ru
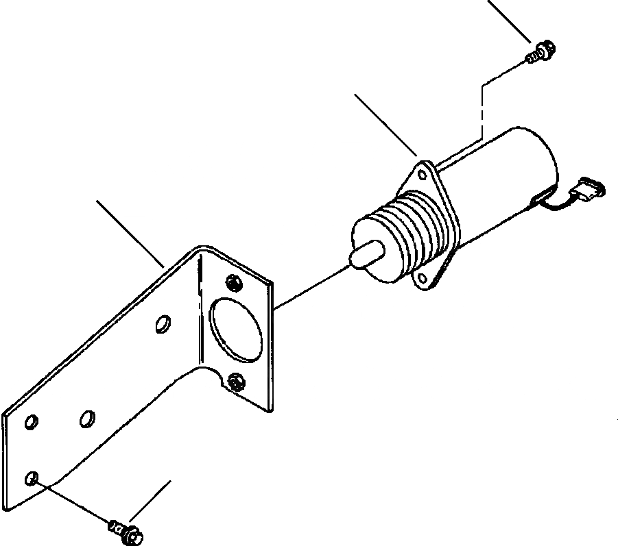
ТОПЛИВН. SHUTOFF СОЛЕНОИД ЗАКРЫТ.D КОРПУС
№
Артикул
Название
Примечание
Количество
1
1295 466 H91
SOLENOID, FUEL PUMP
1шт.
2
1280 607 H1
BRACKET, SOLENOID - CLOSED
3
6732-21-4180
BOLT - M6 X 1.00 X 15
2шт.
4
6732-61-3140
BOLT - M10 X 1.50 X 20
Выбрано товаров: 0