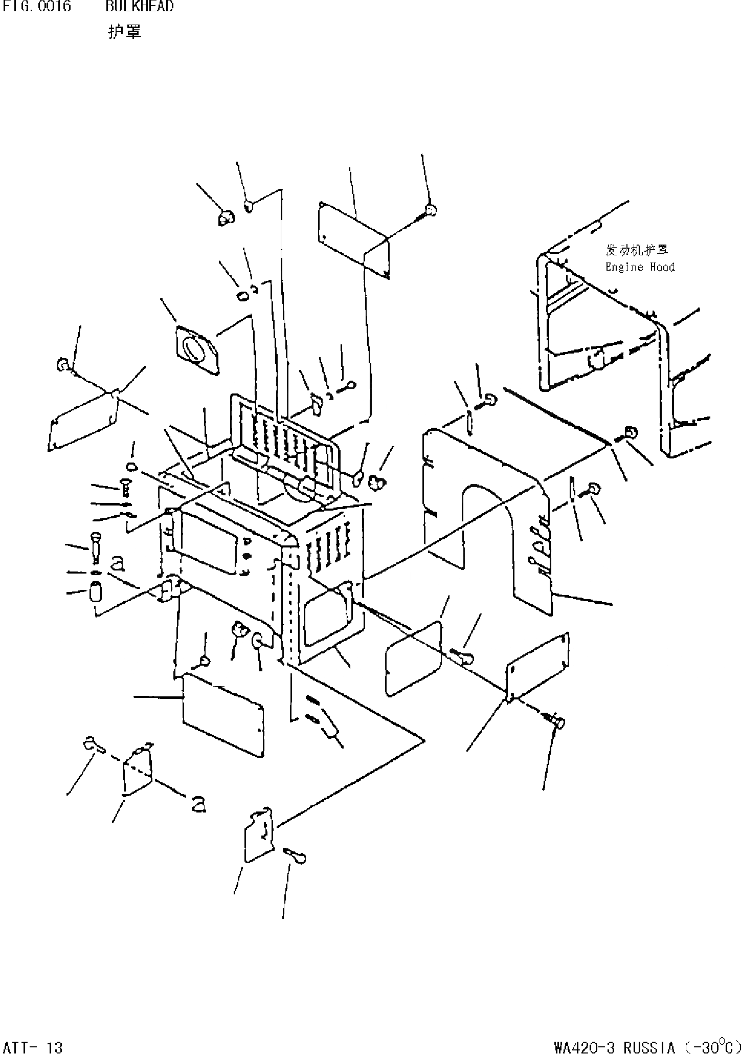
Запчасти Komatsu WA420-3 BULKHEAD

Схема запчастей Komatsu WA420-3 - BULKHEAD
28
9
27
3
7
6
26
25
23
24
6
5
4
29
30
3
16
2
5
6
4
19
17
18
32
30
29
31
22
21
20
22
8
1
27
28
10
11
12
14
15
13
15
14
15
FIT
1:1
100%

Артикул

Название

Примечание

Количество

1

421S622330

BULKHEAD

1шт.

2

4215421270

CUSHION

1шт.

3

4215421280

CUSHION

2шт.

4

4210912322

HOLDER

1шт.

5

0122040412

SCREW

5шт.

6

0160120410

WASHER,SPRING

10шт.

7

0158010403

NUT

5шт.

8

4215421190

CUSHION

2шт.

9

4245421470

SHEET

1шт.

10

4215421170

COVER

2шт.

11

0143501220

BOLT

4шт.

12

42454Z9920

SHEET

1шт.

13

4215421350

PLATE

1шт.

14

4215421360

PLATE

2шт.

15

0143501020

BOLT

8шт.

16

4165421280

PLUG

4шт.

17

0164331445

WASHER

4шт.

18

41E7015771

SPACER

4шт.

19

0101051480

BOLT

4шт.

20

4215421370

COVER.L.H

1шт.

21

4215421380

COVER.R.H

1шт.

22

0143501016

BOLT

4шт.

23

424W93Z7B0

PLATE

1шт.

24

0143501016

BOLT

4шт.

25

0164331032

WASHER

4шт.

26

0158001008

NUT

4шт.

27

424W93Z7C0

PLATE

2шт.

28

0143501016

BOLT

8шт.

29

0164331032

WASHER

8шт.

30

0158001008

NUT

8шт.

31

424W93Z740

PLATE

1шт.

32

0143501016

BOLT

6шт.

Выбрано товаров: 32