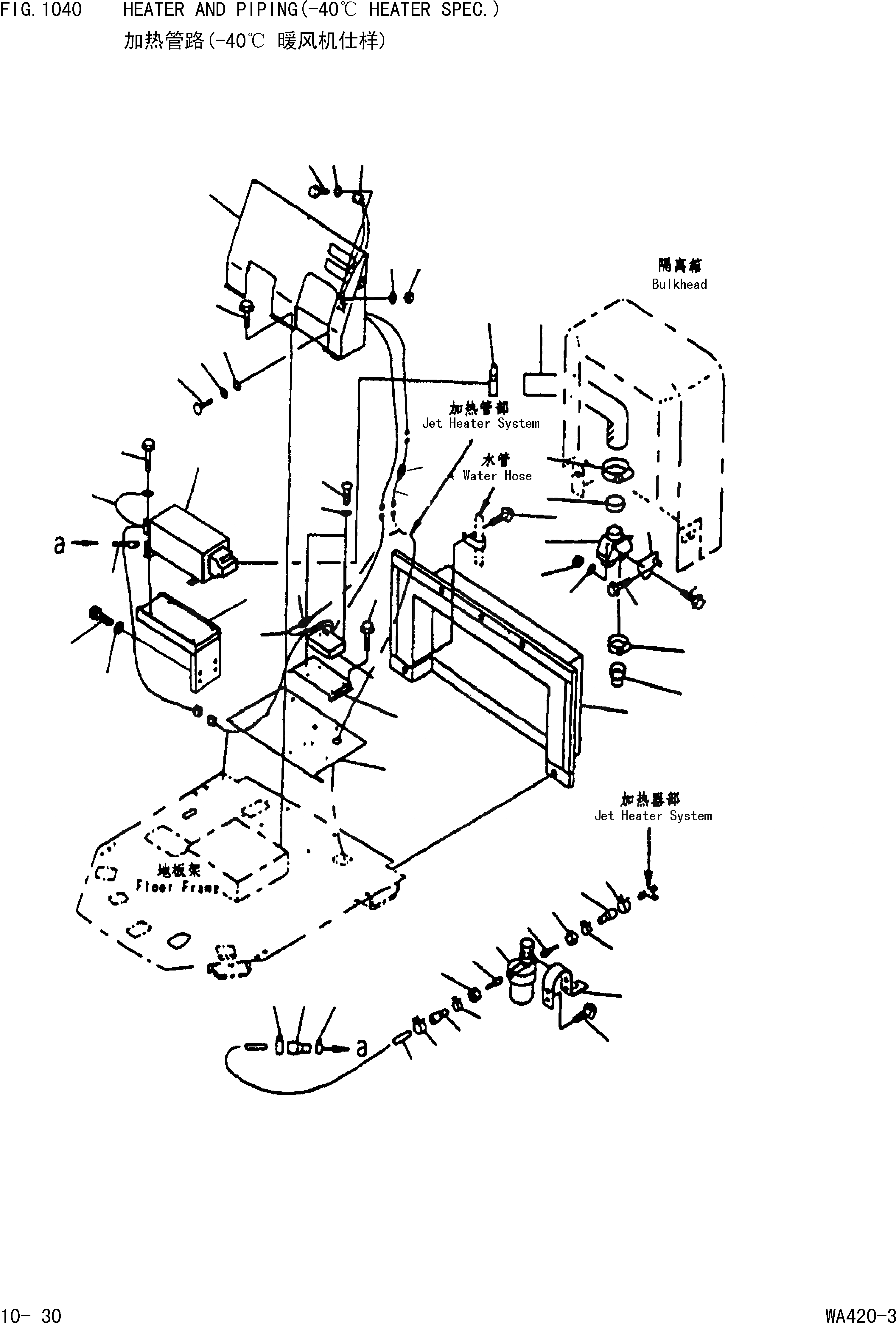
Запчасти Komatsu WA420-3 ОБОГРЕВАТЕЛЬ. И ТРУБЫ(-40С ОБОГРЕВАТЕЛЬ. СПЕЦ-Я.) [НАВЕСНОЕ ОБОРУДОВАНИЕ(ОПЦ.)]

Схема запчастей Komatsu WA420-3 - ОБОГРЕВАТЕЛЬ. И ТРУБЫ(-40С ОБОГРЕВАТЕЛЬ. СПЕЦ-Я.) [НАВЕСНОЕ ОБОРУДОВАНИЕ(ОПЦ.)]
16
18
17
11
15
12
14
13
26
24
25
43
21
22
8
20
6
10
9
18
19
27
28
27
29
30
34
33
35
36
37
1
32
2
31
50
49
5
4
3
7
54
40
38
46
45
42
43
44
39
38
40
41
48
47
39
39
38
40
FIT
1:1
100%

Артикул

Название

Примечание

Количество

1

419-54-22261

COVER

Field_1: 15001-

1шт.

2

01435-01225

BOLT

Field_1: 15001-

2шт.

3

423-AC-Z9112

PLATE

Field_1: 15066-

1шт.

|$3

0

PLATE

Field_1: 15001-15065

1шт.

4

424-W93-Z550

BRACKET

Field_1: 15001-

1шт.

5

423-W93-ZZ20

CONTROL BOX

Field_1: 15001-

1шт.

6

423-W93-ZZ80

FUSE

Field_1: 15001-

1шт.

7

01435-00616

BOLT

Field_1: 15001-

8шт.

8

423-W93-ZZ71

HARNESS

Field_1: 15001-

1шт.

9

01220-40616

SCREW

Field_1: 15001-

5шт.

10

01641-20608

WASHER

Field_1: 15001-

5шт.

11

419-S62-Z910

COVER

Field_1: 15001-

1шт.

12

01435-00620

BOLT

Field_1: 15001-

3шт.

13

01232-10616

SCREW

Field_1: 15001-

1шт.

14

0164330623

WASHER

Field_1: 15001-

1шт.

15

423-56-21920

WASHER

Field_1: 15001-

1шт.

16

423-W93-ZZ30

SWITCH

Field_1: 15001-

1шт.

17

01370-00208

SCREW

Field_1: 15001-

4шт.

18

01641-20305

WASHER

Field_1: 15001-

8шт.

19

01580-10302

NUT

Field_1: 15001-

4шт.

20

424-W93-Z993

BRACKET

Field_1: 15001-

1шт.

21

01643-51645

WASHER

Field_1: 15001-

4шт.

22

01010-81630

BOLT

Field_1: 15001-

4шт.

24

01435-00820

BOLT

Field_1: 15001-

4шт.

25

423-W93-ZZ62

HARNESS

Field_1: 15001-

1шт.

26

423-W93-ZZ10

HEATER(MY50)

Field_1: 15001-

1шт.

27

07281-01159

CLAMP

Field_1: 15001-

2шт.

28

424-W93-Z380

HOSE

Field_1: 15001-

1шт.

29

424-W93-Z350

RUBBER

Field_1: 15001-

1шт.

30

424-W93-Z340

BRANCH

Field_1: 15001-

1шт.

31

424-W93-Z570

BRACKET

Field_1: 15001-

1шт.

32

01435-00612

BOLT

Field_1: 15001-

3шт.

33

01643-30623

WASHER

Field_1: 15001-

3шт.

34

01580-00605

NUT

Field_1: 15001-

3шт.

35

01435-01016

BOLT

Field_1: 15001-

1шт.

36

07281-00909

CLAMP

Field_1: 15001-

1шт.

37

424-W93-Z210

REDUCER

Field_1: 15001-

1шт.

38

20Y-04-11290

REDUCER

Field_1: 15001-

3шт.

39

424-W93-Z310

CLAMP

Field_1: 15001-

3шт.

40

424-W93-Z300

CLAMP

Field_1: 15001-

3шт.

41

424-W93-Z230

PIPE

Field_1: 15001-

1шт.

42

424-W93-Z120

FUEL FILTER

Field_1: 15001-

1шт.

43

424-W93-Z240

EBLOW

Field_1: 15001-

2шт.

44

424-W93-Z130

NUT

Field_1: 15001-

1шт.

45

424-W93-Z250

EBLOW

Field_1: 15001-

1шт.

46

424-W93-Z140

NUT

Field_1: 15001-

1шт.

47

424-W93-Z190

BRACKET

Field_1: 15001-

1шт.

48

01435-00820

BOLT

Field_1: 15001-

2шт.

49

423-W93-ZZ41

HARNESS

Field_1: 15001-

1шт.

50

423-W93-ZZA0

FUSE(3A)

Field_1: 15001-

1шт.

Выбрано товаров: 50