Запчасти Komatsu WA420-3 РАСПРЕДЕЛИТ. КЛАПАН (ДЛЯ КОВША АВТОМАТИЧ. УРОВЕНЬING СИСТЕМА)(№-) УПРАВЛ-Е РАБОЧИМ ОБОРУДОВАНИЕМ

Схема запчастей Komatsu WA420-3 - РАСПРЕДЕЛИТ. КЛАПАН (ДЛЯ КОВША АВТОМАТИЧ. УРОВЕНЬING СИСТЕМА)(№-) УПРАВЛ-Е РАБОЧИМ ОБОРУДОВАНИЕМ
FIT
1:1
100%

Артикул

Название

Примечание

Количество

|$0

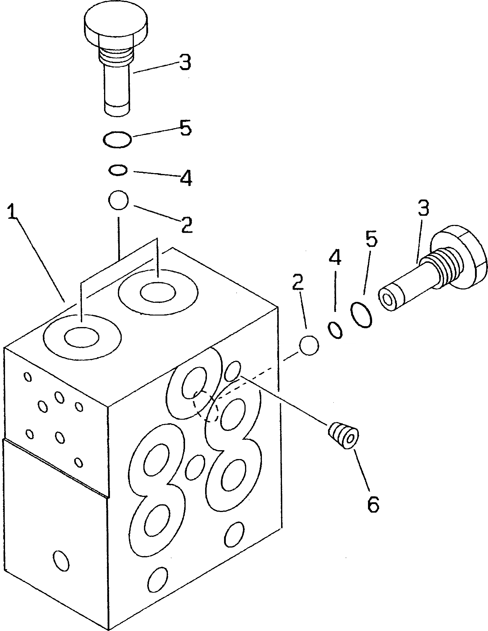
421-S30-2100

VALVE ASS'Y

SN: 50001-UP

1шт.

1

0

BODY

SN: 50001-UP

1шт.

2

04260-00952

BALL

SN: 50001-UP

3шт.

3

421-S30-2510

PLUG

SN: 50001-UP

3шт.

4

07000-01007

O-RING

SN: 50001-UP

3шт.

5

07002-01423

O-RING

SN: 50001-UP

3шт.

6

07043-70108

PLUG

SN: 50001-UP

2шт.

Выбрано товаров: 7