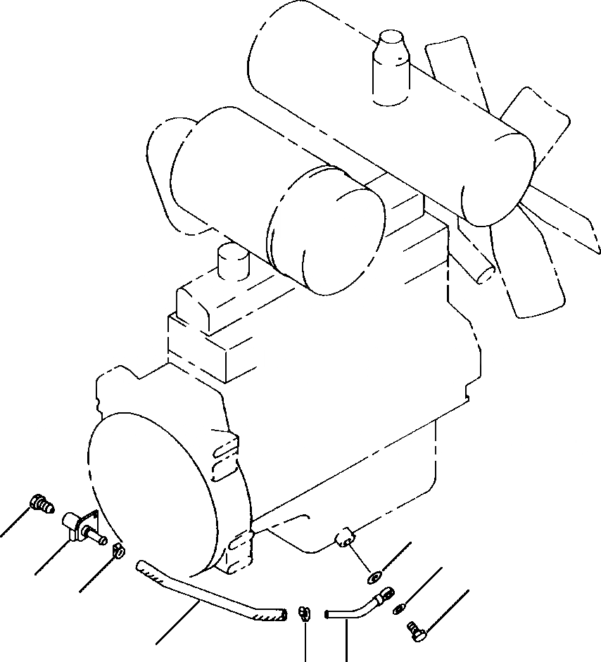
Запчасти Komatsu WA420-3L FIG. B-A ДРЕНАЖ МАСЛА КОМПОНЕНТЫ ДВИГАТЕЛЯ

Схема запчастей Komatsu WA420-3L - FIG. B-A ДРЕНАЖ МАСЛА КОМПОНЕНТЫ ДВИГАТЕЛЯ
3
7
3
6
2
5
4
5
1
FIT
1:1
100%

Артикул

Название

Примечание

Количество

1

424-01-11410

TUBE - TO DRAIN FROM OIL PAN

SN: A30001-UP-UP

1шт.

2

07206-21518

JOINT - AT OIL PAN

SN: A30001-UP-UP

1шт.

3

07005-01812

GASKET

SN: A30001-UP-UP

2шт.

4

HOSE - TO DRAIN - 25 IN.

SN: A30001-UP-UP

1шт.

5

07289-00035

CLAMP, DRAIN HOSE

SN: A30001-UP-UP

2шт.

6

424-01-11120

TUBE, ENGINE OIL

SN: A30001-UP-UP

1шт.

N/I

01435-01025

BOLT - MOUNT ENGINE OIL DRAIN TOFRAME

SN: A30001-UP-UP

2шт.

7

424-01-11110

PLUG, ENGINE OIL DRAIN

SN: A30001-UP-UP

1шт.

|$8

935 722 C1

HOSE, BULK

SN: A30001-UP-UP

-2шт.

|$9

-1шт.

|$10

F1 - CUT TO LENGTH FROM BULK HOSE.

-1шт.

|$11

-1шт.

Выбрано товаров: 12