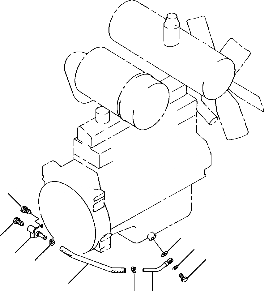
Запчасти Komatsu WA420-3MC FIG. B-A ДРЕНАЖ МАСЛА КОМПОНЕНТЫ ДВИГАТЕЛЯ

Схема запчастей Komatsu WA420-3MC - FIG. B-A ДРЕНАЖ МАСЛА КОМПОНЕНТЫ ДВИГАТЕЛЯ
8
3
7
3
6
2
5
4
5
1
FIT
1:1
100%

Артикул

Название

Примечание

Количество

1

424-01-11410

TUBE - TO DRAIN FROM OIL PAN

SN: A31001-UP-UP

1шт.

2

07206-21518

JOINT - AT OIL PAN

SN: A31001-UP-UP

1шт.

3

07005-01812

GASKET

SN: A31001-UP-UP

2шт.

4

HOSE, BULK - FGH 14631 - 21 IN.

SN: A31001-UP-UP

1шт.

5

07281-00289

CLAMP

SN: A31001-UP-UP

2шт.

6

424-01-11120

TUBE, DRAIN

SN: A31001-UP-UP

1шт.

7

424-01-11110

PLUG

SN: A31001-UP-UP

1шт.

8

01435-01025

BOLT

SN: A31001-UP-UP

2шт.

|$8

412-01-A1120

BULK HOSE

SN: A31001-UP-UP

-2шт.

|$9

-1шт.

|$10

F1 - CUT TO LENGTH FROM BULK HOSE.

-1шт.

|$11

-1шт.

Выбрано товаров: 12