Качественные детали и логистика
Оригинальные и аналоговые запчасти с доставкой по России, Казахстану и Беларуси
©2022 PartSell ООО "Система" ИНН 2463123282 ОГРН 1212400004838
Центральный офис: г. Красноярск, Академика Киренского, д.87, пом.4
Телефон: 8 (800) 777-65-74 Email: zakaz@partsell.ru
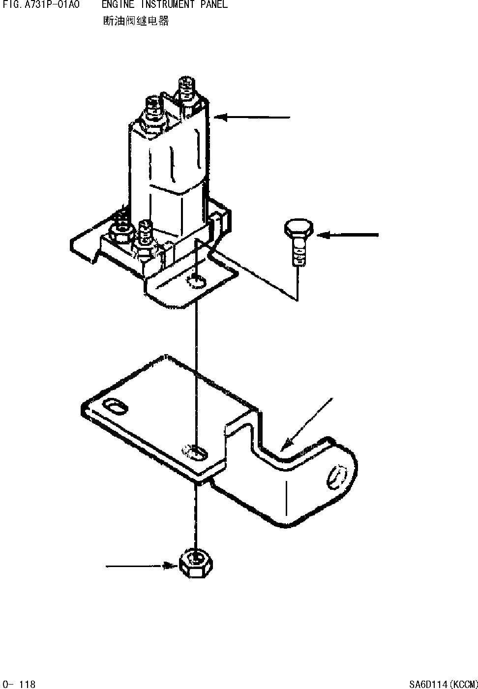
ДВИГАТЕЛЬ ПАНЕЛЬ ПРИБОРОВ
№
Артикул
Название
Примечание
Количество
1
0
BRACKET
Field_2: 21243988-
1шт.
2
6742-01-2660
NUT
2шт.
3
6732-21-4180
SCREW
4
SWITCH,MAGNETIC
Выбрано товаров: 0