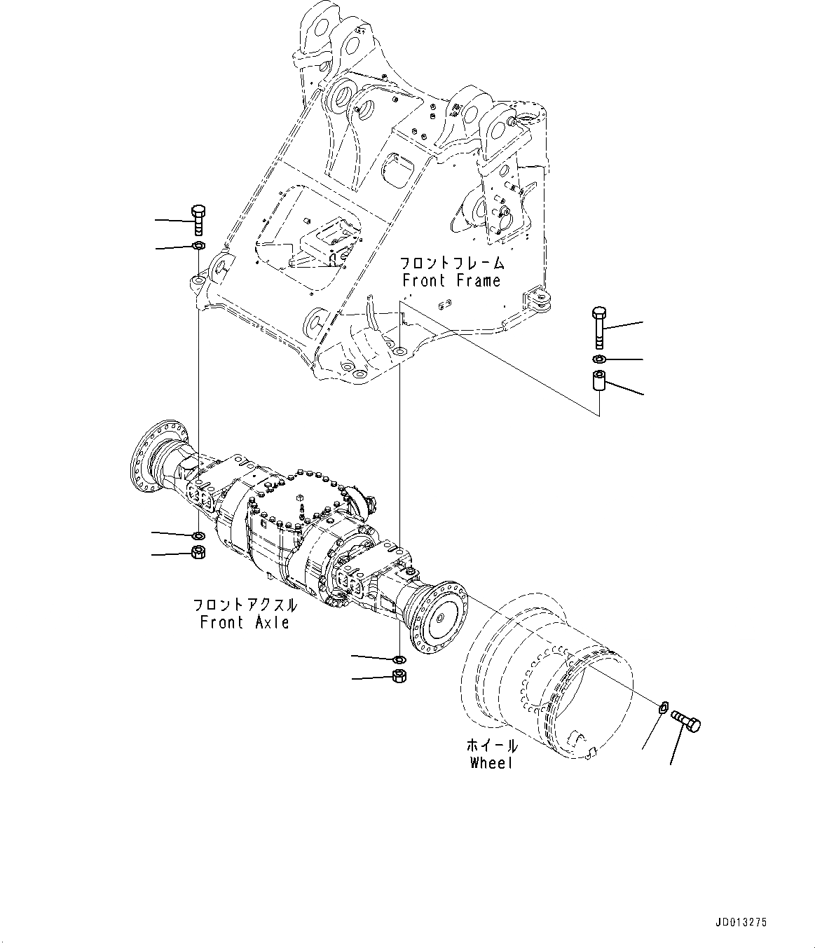
Запчасти Komatsu WA430-6 ПЕРЕДНИЙ МОСТ, КРЕПЛЕНИЕ (№-) ПЕРЕДНИЙ МОСТ, БЕЗ САМОБЛОКИР. ДИФФЕРЕНЦ.

Схема запчастей Komatsu WA430-6 - ПЕРЕДНИЙ МОСТ, КРЕПЛЕНИЕ (№-) ПЕРЕДНИЙ МОСТ, БЕЗ САМОБЛОКИР. ДИФФЕРЕНЦ.
6
7
6
4
5
3
6
1
2
7
6
FIT
1:1
100%

Артикул

Название

Примечание

Количество

1

419-22-12870

Bolt

SN: 65501-UP

42шт.

2

01643-32460

Washer

SN: 65501-UP

42шт.

3

421-09-12240

Bolt

SN: 65501-UP

4шт.

4

425-974-1161

Bolt

SN: 65501-UP

4шт.

5

421-09-42250

Spacer

SN: 65501-UP

4шт.

6

01643-33080

Washer

SN: 65501-UP

16шт.

7

01580-03024

Nut

SN: 65501-UP

8шт.

Выбрано товаров: 0