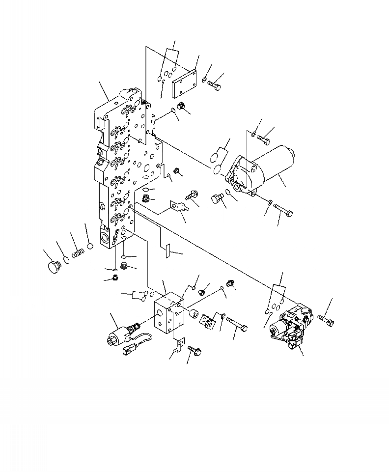
Запчасти Komatsu WA430-6 F-8A ТРАНСМИССИЯ ОСНОВН. КЛАПАН - СТАНДАРТН. (/) СИЛОВАЯ ПЕРЕДАЧА И КОНЕЧНАЯ ПЕРЕДАЧА

Схема запчастей Komatsu WA430-6 - F-8A ТРАНСМИССИЯ ОСНОВН. КЛАПАН - СТАНДАРТН. (/) СИЛОВАЯ ПЕРЕДАЧА И КОНЕЧНАЯ ПЕРЕДАЧА
10
9
14
13
1
11
35
4
34
5
33
2
3
7
30
32
29
31
15
37
16
28
36
18
17
38
5
10
4
3
22
20
21
2
12
25
23
24
19
11
27
26
8
28
29
6
FIT
1:1
100%

Артикул

Название

Примечание

Количество

|$44

TRANSMISSION ( SEE FIG. F4350-51A0 )

0

-1шт.

|$1

714-17-35003

VALVE ASSEMBLY, MAIN

1шт.

1

714-17-35130

VALVE SEAT

1шт.

2

723-11-18190

PLUG

3шт.

3

07002-61023

O-RING

3шт.

4

714-24-25190

PLUG

15шт.

5

07002-61423

O-RING

15шт.

6

723-11-15110

PLUG

2шт.

7

07002-61623

O-RING

2шт.

8

714-12-25503

ECMV ASSEMBLY

6шт.

9

714-07-25160

COVER

1шт.

10

07000-72015

O-RING

28шт.

11

07000-71007

O-RING

7шт.

12

01252-70650

BOLT

24шт.

13

01010-80620

BOLT

4шт.

14

01643-30623

WASHER

4шт.

15

04260-01270

BALL

1шт.

16

234-15-15120

SPRING

1шт.

17

714-10-16890

PLUG

1шт.

18

07002-62034

O-RING

1шт.

|$20

714-17-35202

SOLENOID VALVE ASSEMBLY

1шт.

19

714-12-25220

SOLENOID VALVE

1шт.

20

NSS

BLOCK

1шт.

21

723-11-18190

PLUG

1шт.

22

07002-61023

O-RING

1шт.

23

708-8E-16150

PLUG

1шт.

24

07002-61023

O-RING

1шт.

25

07000-72012

O-RING

3шт.

26

01010-81090

BOLT

1шт.

27

01643-31032

WASHER

1шт.

28

08193-21012

CLIP

1шт.

29

01435-01016

BOLT

1шт.

30

569-15-51721

FILTER ASSEMBLY

1шт.

N/I

569-15-51732

ELEMENT ASSEMBLY

1шт.

N/I

07000-A2060

O-RING

1шт.

31

07040-11812

PLUG

1шт.

32

07002-61823

O-RING

1шт.

33

07000-73022

O-RING

2шт.

34

01010-81030

BOLT

1шт.

35

01643-31032

WASHER

1шт.

36

01010-81080

BOLT

1шт.

37

01643-31032

WASHER

1шт.

38

NSS

PLATE, NAME

1шт.

|$43

714-15-05050

SERVICE KIT, TRANSMISSION SERVICE VALVE

1шт.

|$45

44

-1шт.

|$46

F1 - PART INCLUDED IN SERVICE KIT

45

-1шт.

Выбрано товаров: 46