Качественные детали и логистика
Оригинальные и аналоговые запчасти с доставкой по России, Казахстану и Беларуси
©2022 PartSell ООО "Система" ИНН 2463123282 ОГРН 1212400004838
Центральный офис: г. Красноярск, Академика Киренского, д.87, пом.4
Телефон: 8 (800) 777-65-74 Email: zakaz@partsell.ru
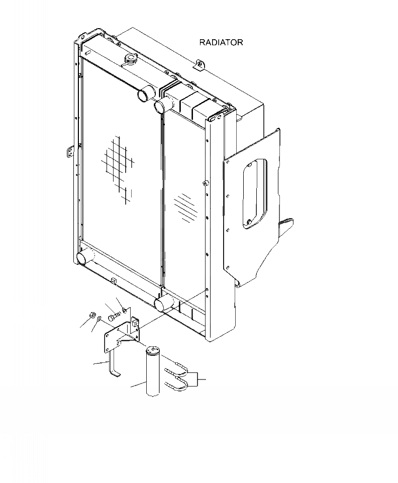
C-A РАДИАТОР КОНДИЦ. ВОЗДУХА ВЛАГООТДЕЛИТЕЛЬ И КРЕПЛЕНИЕ
№
Артикул
Название
Примечание
Количество
1
423-07-31571
RECEIVER DRYER
1шт.
2
424-S62-4370
BRACKET
3
01010-81020
BOLT
2шт.
4
01643-31032
WASHER
5
07283-36155
CLIP
6
01597-01009
NUT
4шт.
7
Выбрано товаров: 0