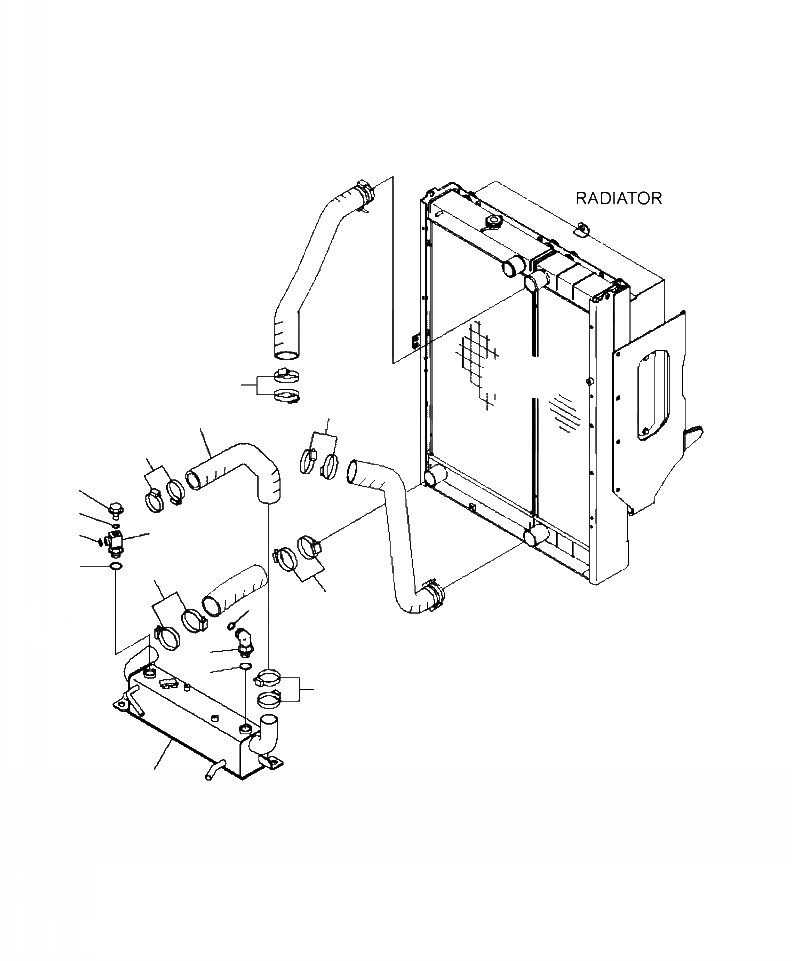
Запчасти Komatsu WA430-6 C-8A РАДИАТОР ГИДРОТРАНСФОРМАТОР ОХЛАДИТЕЛЬ И ТРУБЫ СИСТЕМА ОХЛАЖДЕНИЯ

Схема запчастей Komatsu WA430-6 - C-8A РАДИАТОР ГИДРОТРАНСФОРМАТОР ОХЛАДИТЕЛЬ И ТРУБЫ СИСТЕМА ОХЛАЖДЕНИЯ
11
11
1
2
9
10
4
8
5
2
2
8
7
6
2
3
FIT
1:1
100%

Артикул

Название

Примечание

Количество

1

424-03-41533

HOSE

1шт.

2

07289-00070

CLAMP

8шт.

3

424-03-41612

COOLER, TORQUE CONVERTER

1шт.

4

423-03-31231

ELBOW

1шт.

5

07002-23334

O-RING

1шт.

6

07002-23334

O-RING

1шт.

7

21W-62-42640

ELBOW

1шт.

8

421-09-31140

O-RING

2шт.

9

708-8E-16150

PLUG

1шт.

10

07002-11023

O-RING

1шт.

11

07299-00080

CLAMP

4шт.

Выбрано товаров: 11