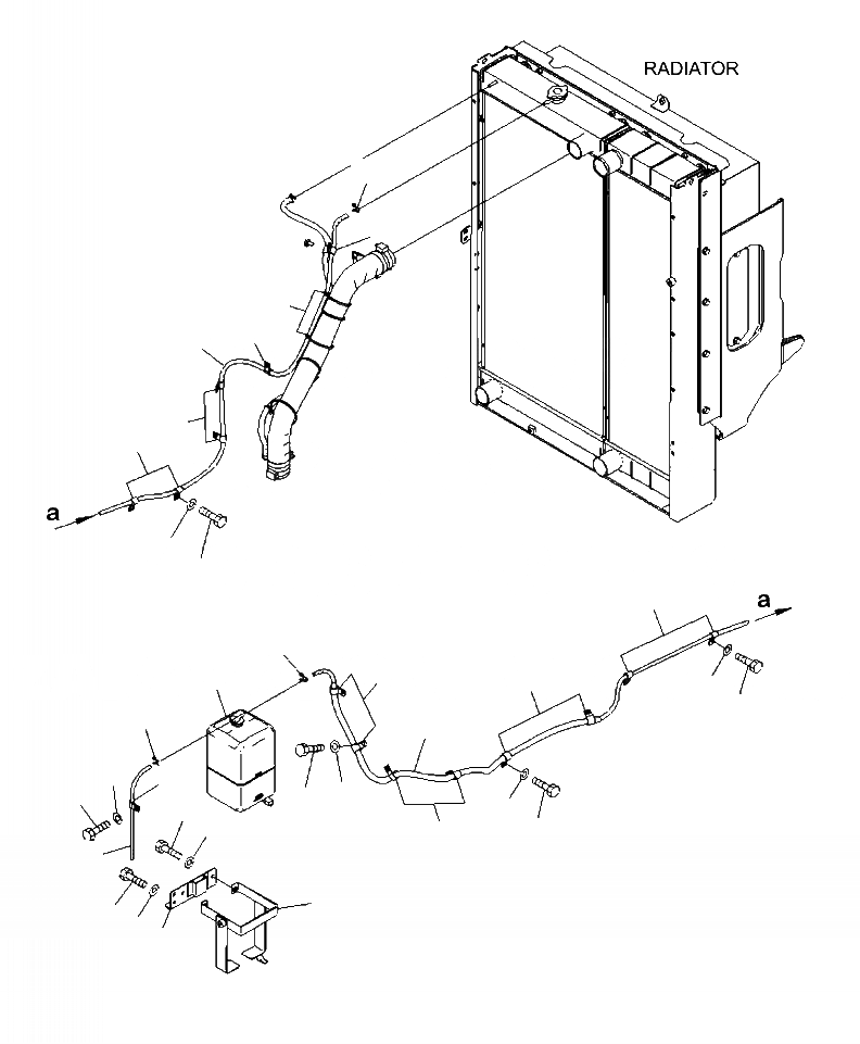
Запчасти Komatsu WA430-6 C-A РЕЗЕРВН. БАК РАДИАТОРА И ТРУБЫ СИСТЕМА ОХЛАЖДЕНИЯ

Схема запчастей Komatsu WA430-6 - C-A РЕЗЕРВН. БАК РАДИАТОРА И ТРУБЫ СИСТЕМА ОХЛАЖДЕНИЯ
13
21
20
14
12
14
14
16
15
14
13
17
1
17
19
18
13
12
11
9
10
11
10
6
19
7
18
17
8
5
3
4
2
FIT
1:1
100%

Артикул

Название

Примечание

Количество

1

421-03-31181

TANK, RADIATOR RESERVOIR

1шт.

2

421-03-41610

BRACKET

1шт.

3

01010-81025

BOLT

2шт.

4

01643-31032

WASHER

2шт.

5

424-03-41440

BRACKET

1шт.

6

01010-80820

BOLT

2шт.

7

01643-30823

WASHER

2шт.

8

208-03-58290

HOSE

1шт.

9

04434-51212

CLIP

1шт.

10

01010-81020

BOLT

1шт.

11

01643-31032

WASHER

1шт.

12

424-03-41433

HOSE

1шт.

13

206-03-43340

CLIP

3шт.

14

04434-51212

CLIP

7шт.

15

01010-81020

BOLT

7шт.

16

01643-31032

WASHER

7шт.

17

04434-51712

CLIP

6шт.

18

01010-81020

BOLT

5шт.

19

01643-31032

WASHER

5шт.

20

134-03-61410

BAND

2шт.

21

04434-51212

CLIP

1шт.

Выбрано товаров: 0