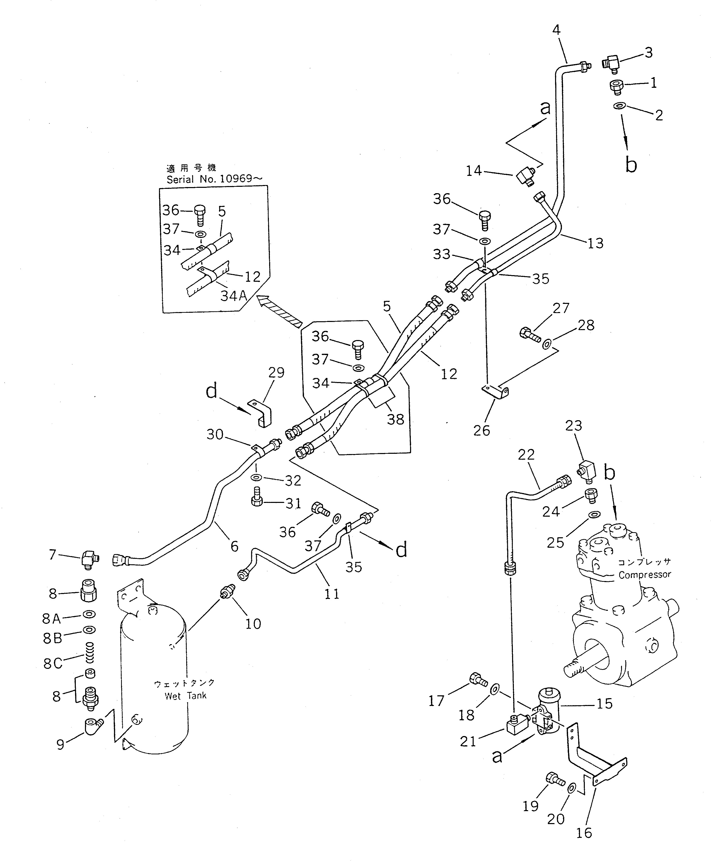
Запчасти Komatsu WA450-1 ВОЗДУХОВОД (КОМПРЕССОР - WET БАК)(№-9999) ВЕДУЩ. ВАЛ¤ ДИФФЕРЕНЦ. И КОЛЕСА

Схема запчастей Komatsu WA450-1 - ВОЗДУХОВОД (КОМПРЕССОР - WET БАК)(№-9999) ВЕДУЩ. ВАЛ¤ ДИФФЕРЕНЦ. И КОЛЕСА
FIT
1:1
100%

Артикул

Название

Примечание

Количество

1

424-35-12740

ADAPTER

SN: 10001-@

1шт.

1

0

ADAPTER

SN: (10001-10898)

1шт.

2

07005-02416

GASKET

SN: 10001-@

1шт.

3

424-35-12710

ELBOW

SN: 10001-19999

1шт.

3

0

ELBOW

SN: (10001-10898)

1шт.

4

421-35-11543

TUBE

SN: 10001-19999

1шт.

5

07104-20306

HOSE

SN: 10001-19999

1шт.

6

421-35-12620

TUBE

SN: 10001-19999

1шт.

7

562-97-11690

ELBOW

SN: 10001-19999

1шт.

8

281-34-11511

VALVE ASS'Y,CHECK

SN: 10001-19999

1шт.

8A

281-34-11540

SEAT (K7)

SN: 10001-19999

1шт.

8B

281-34-11550

VALVE (K7)

SN: 10001-19999

1шт.

8C

281-34-11561

SPRING (K7)

SN: 10001-19999

1шт.

9

07323-30400

ELBOW

SN: 10001-19999

1шт.

10

22W-35-12340

NIPPLE

SN: 10001-19999

1шт.

11

421-35-13211

TUBE

SN: 10439-19999

1шт.

11

0

TUBE

SN: 10001-10438

1шт.

12

07102-20206

HOSE

SN: 10001-19999

1шт.

13

421-35-11752

TUBE

SN: 10001-19999

1шт.

14

07217-70712

ELBOW

SN: 10001-19999

1шт.

15

566-35-42530

AIR GOVERNOR ASS'Y,(SEE FIG.3601)

SN: 10001-@

1шт.

16

421-35-11562

BRACKET

SN: 10001-@

1шт.

17

01010-50875

BOLT

SN: 10001-19999

2шт.

18

01643-30823

WASHER

SN: 10001-19999

2шт.

19

01010-51020

BOLT

SN: 10001-19999

2шт.

20

01643-31032

WASHER

SN: 10001-19999

2шт.

21

19M-60-15320

ELBOW

SN: 10001-@

1шт.

22

07102-20204

HOSE

SN: 10001-@

1шт.

23

19M-60-15320

ELBOW

SN: 10001-@

1шт.

24

421-35-11671

ADAPTER

SN: 10001-@

1шт.

24

0

ADAPTER

SN: (10001-10898)

1шт.

25

07005-01412

GASKET

SN: 10001-@

1шт.

26

421-35-12630

BRACKET

SN: 10001-19999

1шт.

27

01010-51055

BOLT

SN: 10001-19999

1шт.

28

01643-31032

WASHER

SN: 10001-19999

1шт.

29

421-35-13221

BRACKET

SN: 10109-19999

1шт.

29

0

BRACKET

SN: 10001-10108

1шт.

30

08035-01514

CLIP

SN: 10001-19999

1шт.

31

01010-51225

BOLT

SN: 10001-19999

1шт.

32

01643-31232

WASHER

SN: 10001-19999

1шт.

33

08035-01510

CLIP

SN: 10001-19999

1шт.

34

08036-01814

CLIP

SN: 10001-19999

1шт.

34A

08036-01414

CLIP

SN: 10920-19999

1шт.

35

419-09-11160

CLIP

SN: 10001-@

2шт.

36

01010-51020

BOLT

SN: 10001-19999

3шт.

37

01643-31032

WASHER

SN: 10001-19999

3шт.

38

08034-00823

BAND

SN: 10001-10919

2шт.

Выбрано товаров: 47