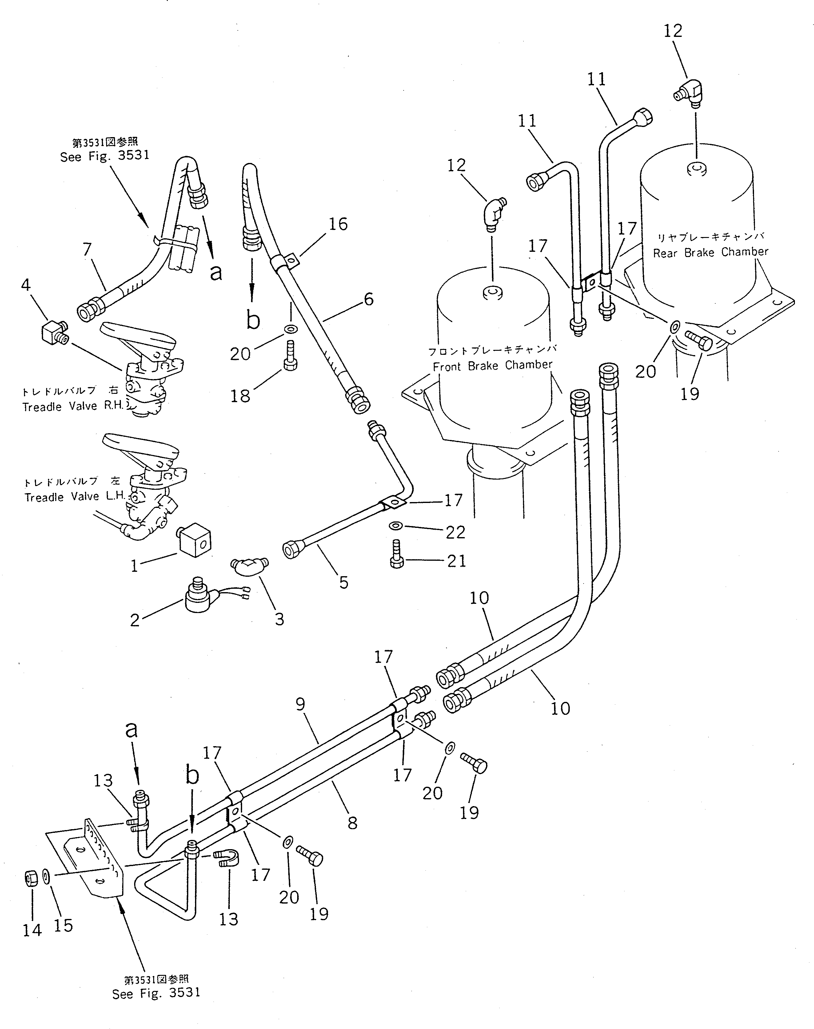
Запчасти Komatsu WA450-1 ВОЗДУХОВОД (КЛАПАН ПЕДАЛИ - КАМЕРА)(№-9999) ВЕДУЩ. ВАЛ¤ ДИФФЕРЕНЦ. И КОЛЕСА

Схема запчастей Komatsu WA450-1 - ВОЗДУХОВОД (КЛАПАН ПЕДАЛИ - КАМЕРА)(№-9999) ВЕДУЩ. ВАЛ¤ ДИФФЕРЕНЦ. И КОЛЕСА
FIT
1:1
100%

Артикул

Название

Примечание

Количество

1

424-35-12750

JOINT

SN: 10001-19999

1шт.

1

0

JOINT

SN: (10001-10898)

1шт.

2

421-06-11570

SWITCH,STOP LAMP

SN: 10001-@

1шт.

3

07217-71217

ELBOW

SN: 10001-19999

1шт.

4

424-35-12730

ELBOW

SN: 10001-19999

1шт.

4

0

ELBOW

SN: (10001-10898)

1шт.

5

421-35-13110

TUBE

SN: 10001-19999

1шт.

6

07102-20307

HOSE

SN: 10001-19999

1шт.

7

07102-20306

HOSE

SN: 10001-19999

1шт.

8

421-35-12710

TUBE

SN: 10001-19999

1шт.

9

421-35-12721

TUBE

SN: 10001-19999

1шт.

10

07104-20306

HOSE

SN: 10001-19999

2шт.

11

421-35-12740

TUBE

SN: 10001-19999

2шт.

12

07217-71217

ELBOW

SN: 10001-19999

2шт.

13

07283-21224

CLIP

SN: 10001-19999

2шт.

14

01598-00608

NUT

SN: 10001-19999

4шт.

15

01643-30623

WASHER

SN: 10001-19999

4шт.

16

08036-01814

CLIP

SN: 10001-19999

1шт.

17

198-904-4280

CLIP

SN: 10001-19999

7шт.

18

01010-51016

BOLT

SN: 10001-19999

1шт.

19

01010-51020

BOLT

SN: 10001-19999

3шт.

20

01643-31032

WASHER

SN: 10001-19999

4шт.

21

01010-50812

BOLT

SN: 10001-19999

1шт.

22

01643-30823

WASHER

SN: 10001-19999

1шт.

Выбрано товаров: 24