Запчасти Komatsu WA450-1 ВОЗД. ВЛАГООТДЕЛИТЕЛЬ(№-9999) ВЕДУЩ. ВАЛ¤ ДИФФЕРЕНЦ. И КОЛЕСА

Схема запчастей Komatsu WA450-1 - ВОЗД. ВЛАГООТДЕЛИТЕЛЬ(№-9999) ВЕДУЩ. ВАЛ¤ ДИФФЕРЕНЦ. И КОЛЕСА
FIT
1:1
100%

Артикул

Название

Примечание

Количество

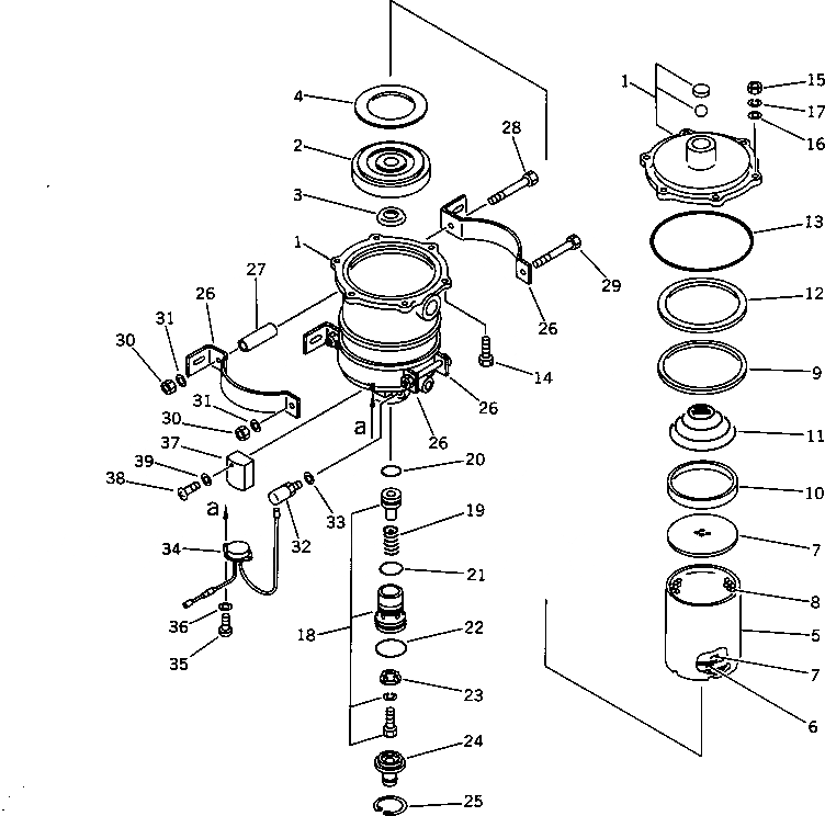
1

421-35-16200

AIR DRYER ASS'Y

SN: 10001-19999

1шт.

2

421-35-15470

FILTER,OIL (K12)

SN: 10001-19999

1шт.

3

421-35-15480

GASKET (K12)

SN: 10001-19999

1шт.

4

421-35-15460

GASKET (K12)

SN: 10001-19999

1шт.

5

421-35-15420

CASE

SN: 10001-19999

1шт.

6

421-35-15430

PLATE

SN: 10001-19999

1шт.

7

421-35-15450

FILTER (K12)

SN: 10001-19999

2шт.

8

421-35-15360

DESICCANT (K12)

SN: 10001-19999

1шт.

9

421-35-15610

GUIDE,CASE

SN: 10001-19999

1шт.

10

421-35-15440

PLATE

SN: 10001-19999

1шт.

11

421-35-15490

SPRING

SN: 10001-19999

1шт.

12

421-35-15370

RING,SEAL (K12)

SN: 10001-19999

1шт.

13

421-35-15620

O-RING (K12)

SN: 10001-19999

1шт.

14

421-35-15710

BOLT

SN: 10001-19999

6шт.

15

421-35-15720

NUT

SN: 10001-19999

6шт.

16

423-35-16320

WASHER

SN: 10001-19999

6шт.

17

421-35-15690

WASHER,SPRING

SN: 10001-19999

6шт.

18

423-35-16100

VALVE BODY ASS'Y

SN: 10001-19999

1шт.

19

423-35-15450

SPRING

SN: 10001-19999

1шт.

20

423-35-16130

O-RING (K12)

SN: 10001-19999

1шт.

21

423-35-16120

O-RING (K12)

SN: 10001-19999

1шт.

22

423-35-16110

O-RING (K12)

SN: 10001-19999

1шт.

23

423-35-16140

VALVE ASS'Y (K12)

SN: 10001-19999

1шт.

24

0

COVER

SN: 10001-19999

1шт.

25

421-35-15390

RING,SNAP

SN: 10001-19999

1шт.

26

421-35-15730

BRACKET

SN: 10001-19999

4шт.

27

421-35-15750

SPACER

SN: 10001-19999

2шт.

28

421-35-15740

BOLT

SN: 10001-19999

2шт.

29

421-35-15760

BOLT

SN: 10001-19999

2шт.

30

421-35-15720

NUT

SN: 10001-19999

4шт.

31

421-35-15690

WASHER

SN: 10001-19999

4шт.

32

421-35-16520

HEATER

SN: 10001-19999

1шт.

33

421-35-15650

GASKET

SN: 10001-19999

1шт.

34

423-35-16300

THERMOSTAT ASS'Y

SN: 10001-19999

1шт.

34

423-35-16310

THERMOSTAT

SN: 10001-19999

1шт.

35

421-35-15680

SCREW

SN: 10001-19999

2шт.

36

421-35-15670

WASHER

SN: 10001-19999

2шт.

37

421-35-15380

PROTECTOR

SN: 10001-19999

1шт.

38

421-35-15640

SCREW

SN: 10001-19999

1шт.

39

421-35-15630

WASHER

SN: 10001-19999

1шт.

Выбрано товаров: 40