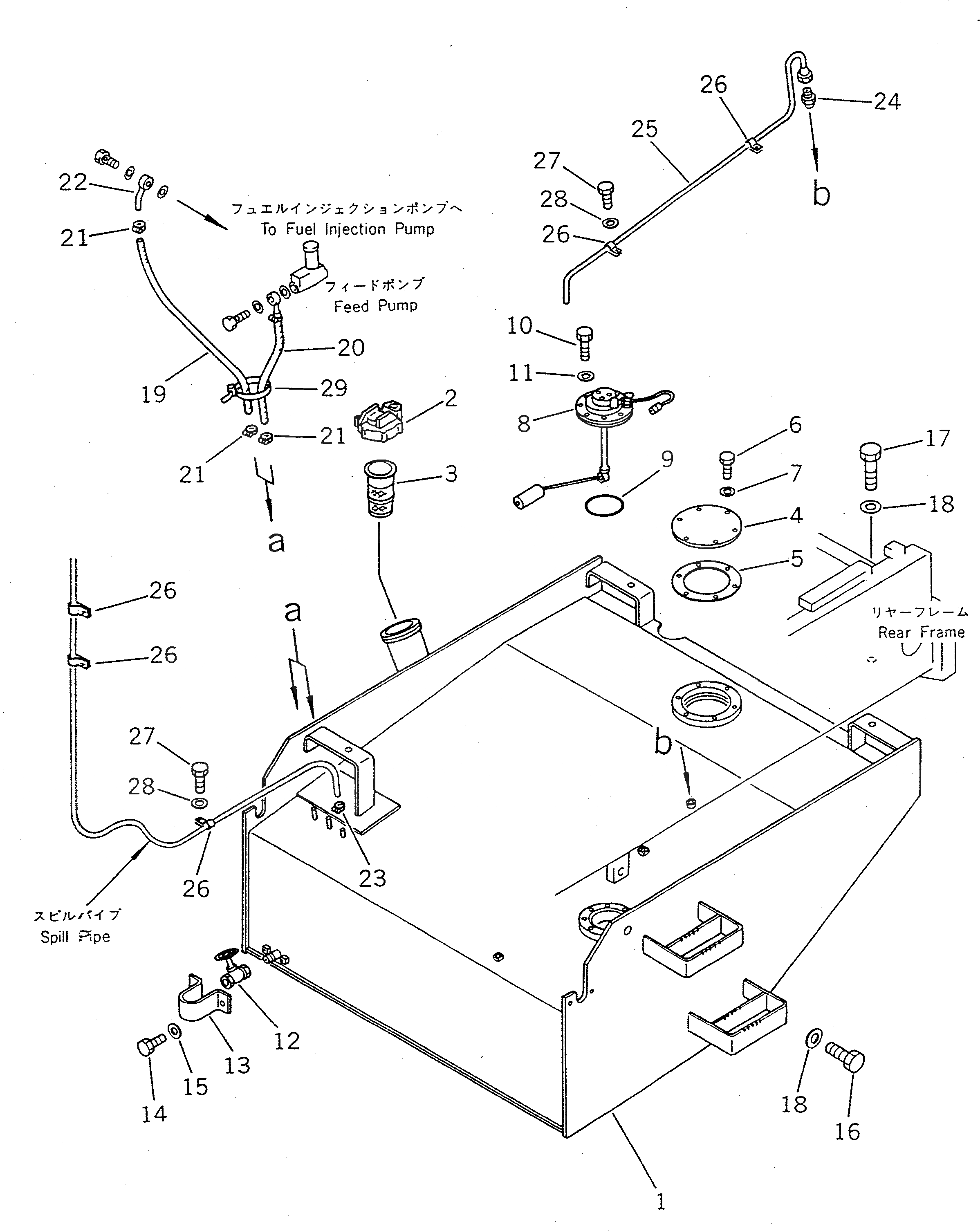
Запчасти Komatsu WA450-1 ТОПЛ. БАК И ТОПЛИВОПРОВОД(№-9999) КОМПОНЕНТЫ ДВИГАТЕЛЯ И ЭЛЕКТРИКА

Схема запчастей Komatsu WA450-1 - ТОПЛ. БАК И ТОПЛИВОПРОВОД(№-9999) КОМПОНЕНТЫ ДВИГАТЕЛЯ И ЭЛЕКТРИКА
FIT
1:1
100%

Артикул

Название

Примечание

Количество

1

421-04-11114

TANK

SN: 10001-19999

1шт.

1

0

TANK

SN: (10241-10630)

1шт.

1

0

TANK

SN: (10001-10240)

1шт.

2

19M-04-11220

CAP,(WITH LOCK)

SN: 10001-@

1шт.

2

07050-21202

GASKET

SN: 10001-@

1шт.

3

07056-18416

STRAINER

SN: 10001-@

1шт.

4

421-04-11181

COVER

SN: 10001-19999

1шт.

5

421-04-11191

GASKET

SN: 10001-19999

1шт.

6

01010-51025

BOLT

SN: 10001-19999

6шт.

7

01643-31032

WASHER

SN: 10001-19999

6шт.

8

7861-91-4720

SENSOR,FUEL LEVEL

SN: 10235-19999

1шт.

8

0

SENSOR,FUEL LEVEL

SN: 10001-10234

1шт.

|$$13

(7861-91-4720,01010-51016(4))

-1шт.

9

07000-02085

O-RING

SN: 10001-@

1шт.

10

01010-51016

BOLT

SN: 10235-19999

4шт.

10

01010-51025

BOLT

SN: 10001-10234

4шт.

11

01643-31032

WASHER

SN: 10001-19999

4шт.

12

416-04-10130

VALVE

SN: 10121-@

1шт.

12

0

VALVE

SN: 10001-10120

1шт.

13

419-04-11120

COVER

SN: 10121-@

1шт.

13

0

COVER

SN: 10001-10120

1шт.

14

01010-50820

BOLT

SN: 10001-19999

2шт.

15

01643-30823

WASHER

SN: 10001-19999

2шт.

16

01010-52450

BOLT

SN: 10001-19999

1шт.

17

01010-52465

BOLT

SN: 10001-19999

3шт.

18

22X-22-11280

WASHER

SN: 10001-19999

4шт.

19

07270-21060

TUBE

SN: 10001-19999

1шт.

20

07270-21050

TUBE

SN: 10001-19999

1шт.

21

07281-00167

CLAMP

SN: 10001-@

4шт.

22

424-04-11130

TUBE

SN: 10001-@

1шт.

23

07280-00910

CLAMP

SN: 10001-@

1шт.

24

07214-51013

CONNECTOR

SN: 10001-@

1шт.

25

421-04-11250

TUBE

SN: 10001-19999

1шт.

26

424-04-11120

CLIP

SN: 10001-@

5шт.

27

01010-51020

BOLT

SN: 10001-@

5шт.

28

01643-31032

WASHER

SN: 10001-@

5шт.

29

08034-00519

BAND

SN: 10001-@

1шт.

Выбрано товаров: 37