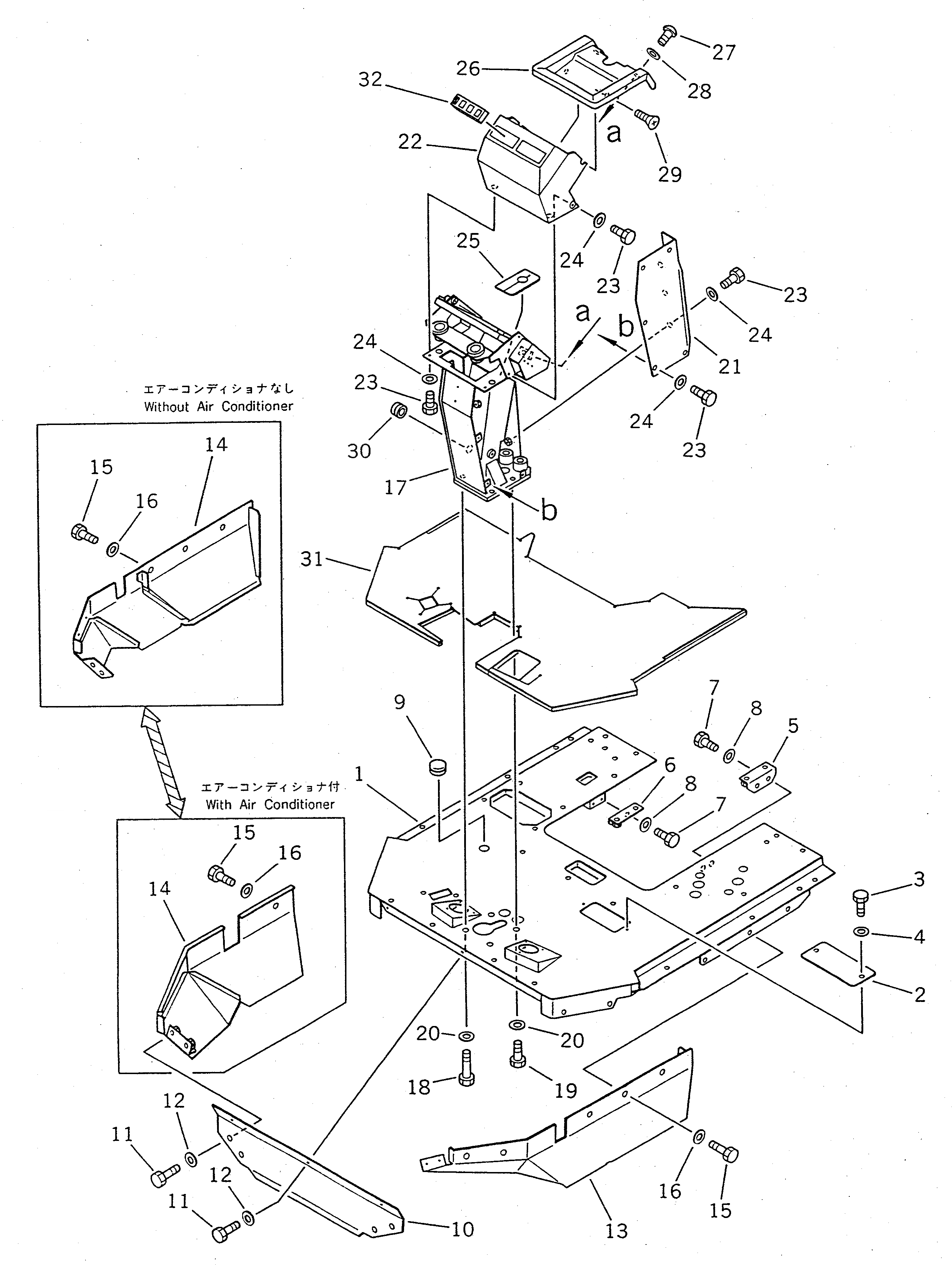
Запчасти Komatsu WA450-1 ОСНОВН. КОНСТРУКЦИЯ(№-9999) РАМА И ЧАСТИ КОРПУСА

Схема запчастей Komatsu WA450-1 - ОСНОВН. КОНСТРУКЦИЯ(№-9999) РАМА И ЧАСТИ КОРПУСА
FIT
1:1
100%

Артикул

Название

Примечание

Количество

1

421-54-12113

FRAME,FLOOR

SN: 10001-19999

1шт.

1

421-54-14910

FRAME,(FOR TBG/ABE SPEC.)

SN: 10001-19999

1шт.

2

421-54-12490

PLATE

SN: 10001-19999

1шт.

3

01010-50620

BOLT

SN: 10001-19999

2шт.

4

01643-30623

WASHER

SN: 10001-19999

2шт.

5

421-54-12520

PLATE,L.H.

SN: 10001-19999

1шт.

6

421-54-12530

PLATE,R.H.

SN: 10001-19999

1шт.

7

01010-51225

BOLT

SN: 10001-19999

4шт.

8

01643-31232

WASHER

SN: 10001-19999

4шт.

9

09415-03614

CAP

SN: 10001-@

1шт.

10

421-54-14612

COVER

SN: 10001-19999

1шт.

11

01010-51225

BOLT

SN: 10001-19999

7шт.

12

01643-31232

WASHER

SN: 10001-19999

7шт.

13

421-54-14643

COVER,L.H.

SN: 10001-19999

1шт.

14

421-54-14653

COVER,R.H. (WITH AIR CONDITIONER)

SN: 10001-19999

1шт.

14

421-54-14680

COVER,R.H. (WITHOUT AIR CONDITIONER)

SN: 10001-19999

1шт.

15

01010-51225

BOLT,(WITH AIR CONDITIONER)

SN: 10001-19999

8шт.

15

01010-51225

BOLT,(WITHOUT AIR CONDITIONER)

SN: 10001-19999

10шт.

16

01643-31232

WASHER,(WITH AIR CONDITIONER)

SN: 10001-19999

8шт.

16

01643-31232

WASHER,(WITHOUT AIR CONDITIONER)

SN: 10001-19999

10шт.

17

421-54-12215

SUPPORT

SN: 10001-19999

1шт.

18

01010-51265

BOLT

SN: 10001-19999

3шт.

19

01010-51240

BOLT

SN: 10001-19999

1шт.

20

01643-31232

WASHER

SN: 10001-19999

4шт.

21

421-54-12874

COVER

SN: 10001-19999

1шт.

22

421-54-12813

COVER

SN: 10001-@

1шт.

23

01010-50816

BOLT

SN: 10001-19999

12шт.

24

01643-30823

WASHER

SN: 10001-19999

12шт.

25

421-54-12273

INSULATOR

SN: 10001-@

1шт.

26

425-54-12871

COVER

SN: 10567-@

1шт.

26

0

COVER

SN: 10001-10566

1шт.

27

01220-40816

SCREW

SN: 10001-@

2шт.

28

01643-30823

WASHER

SN: 10001-@

2шт.

29

01224-70620

SCREW

SN: 10001-@

2шт.

30

09415-02512

CAP

SN: 10001-@

1шт.

31

425-54-12831

MAT,FLOOR

SN: 10001-19999

1шт.

32

421-07-12512

GRILLE ASS'Y

SN: 10001-19999

4шт.

Выбрано товаров: 37