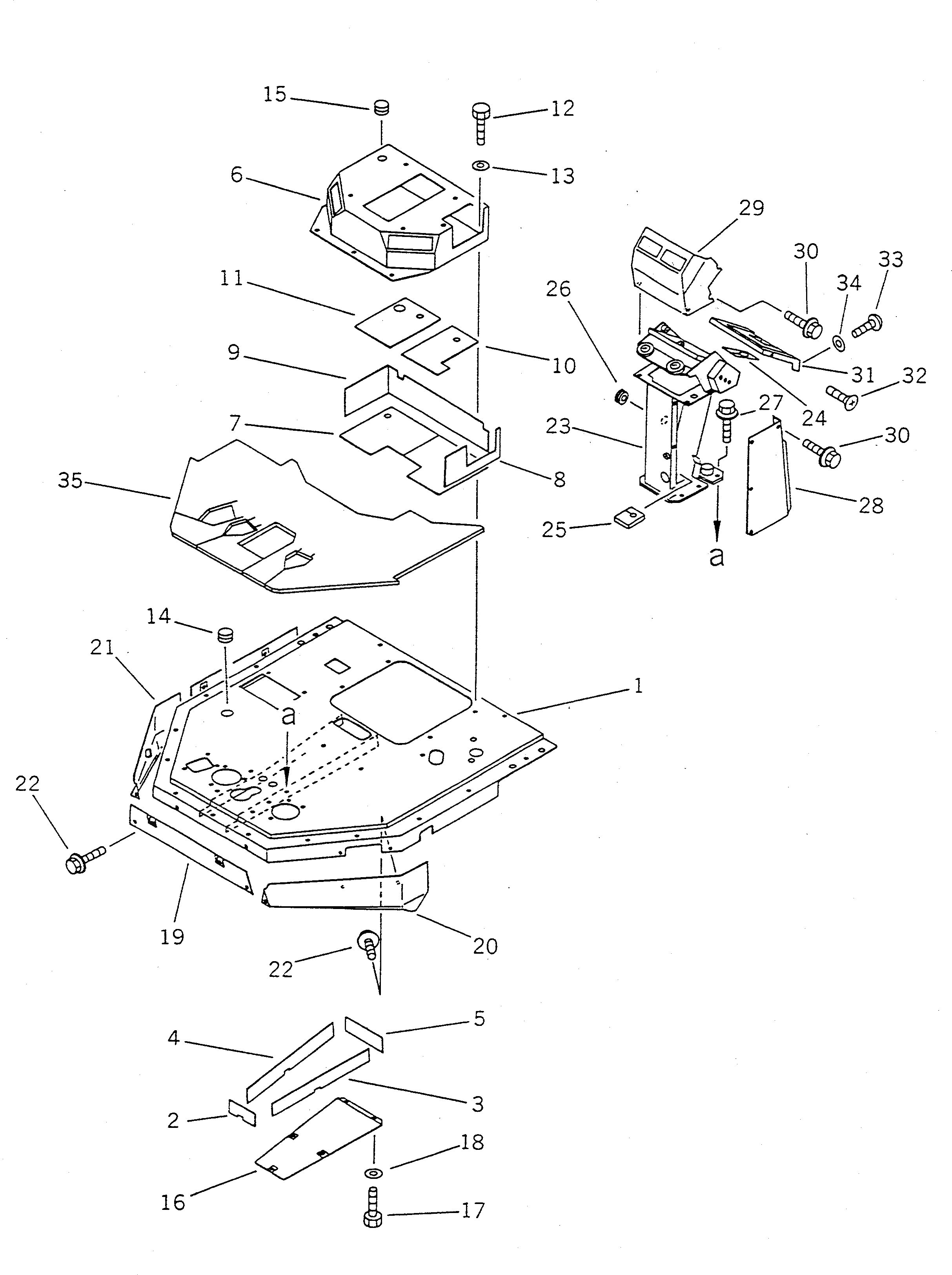
Запчасти Komatsu WA450-1 ОСНОВН. КОНСТРУКЦИЯ(№-) РАМА И ЧАСТИ КОРПУСА

Схема запчастей Komatsu WA450-1 - ОСНОВН. КОНСТРУКЦИЯ(№-) РАМА И ЧАСТИ КОРПУСА
FIT
1:1
100%

Артикул

Название

Примечание

Количество

|$0

421-54-12401

FLOOR FRAME ASS'Y

SN: 20142-UP

1шт.

1

421-54-12116

FRAME,FLOOR

SN: 20142-UP

1шт.

2

421-54-18330

INSULATOR

SN: 20001-UP

1шт.

3

421-54-18341

INSULATOR

SN: 20142-UP

1шт.

4

421-54-18351

INSULATOR

SN: 20142-UP

1шт.

5

421-54-18361

INSULATOR

SN: 20142-UP

1шт.

6

421-54-12500

BRACKET

SN: 20142-UP

1шт.

7

421-54-18471

INSULATOR

SN: 20142-UP

1шт.

8

421-54-18441

INSULATOR

SN: 20142-UP

1шт.

9

421-54-18451

INSULATOR

SN: 20142-UP

1шт.

10

421-54-18391

INSULATOR

SN: 20142-UP

1шт.

11

421-54-18411

INSULATOR

SN: 20142-UP

1шт.

12

01010-51225

BOLT

SN: 20142-UP

5шт.

13

01643-31232

WASHER

SN: 20142-UP

5шт.

14

09415-03614

CAP

SN: 10001-UP

1шт.

15

09415-02512

CAP

SN: 20142-UP

1шт.

16

421-54-18481

COVER

SN: 20142-UP

1шт.

17

01010-50816

BOLT

SN: 20001-UP

5шт.

18

01643-30823

WASHER

SN: 20001-UP

5шт.

19

421-54-14614

COVER

SN: 20001-UP

1шт.

20

421-54-14645

COVER,L.H.

SN: 20001-UP

1шт.

21

421-54-14655

COVER,R.H.

SN: 20001-UP

1шт.

22

01435-01220

BOLT

SN: 20001-UP

9шт.

23

421-54-12217

SUPPORT

SN: 20001-UP

1шт.

23

421-U44-1440

SUPPORT,(FOR BRAKE COOLING)

SN: 20001-UP

1шт.

24

421-54-12273

INSULATOR

SN: 10001-UP

1шт.

25

419-54-12481

SEAL

SN: 20001-UP

1шт.

26

09415-02512

CAP

SN: 10001-UP

1шт.

27

01435-01230

BOLT

SN: 20001-UP

5шт.

28

421-54-12875

COVER

SN: 20001-UP

1шт.

29

421-54-12813

COVER

SN: 10001-UP

1шт.

29

421-U44-1420

COVER,(FOR BRAKE COOLING)

SN: 20001-UP

1шт.

30

01435-00816

BOLT

SN: 20001-UP

12шт.

31

425-54-12871

COVER

SN: 20001-UP

1шт.

32

01224-70620

SCREW

SN: 20001-UP

2шт.

33

01435-00816

BOLT

SN: 20149-UP

2шт.

33

01220-40816

SCREW

SN: 20001-20148

2шт.

34

01643-30823

WASHER

SN: 10001-20148

2шт.

35

425-54-12833

MAT,FLOOR

SN: 20001-UP

1шт.

Выбрано товаров: 39