Запчасти Komatsu WA450-1 КАБИНА (/)(№-) РАМА И ЧАСТИ КОРПУСА

Схема запчастей Komatsu WA450-1 - КАБИНА (/)(№-) РАМА И ЧАСТИ КОРПУСА
FIT
1:1
100%

Артикул

Название

Примечание

Количество

|$0

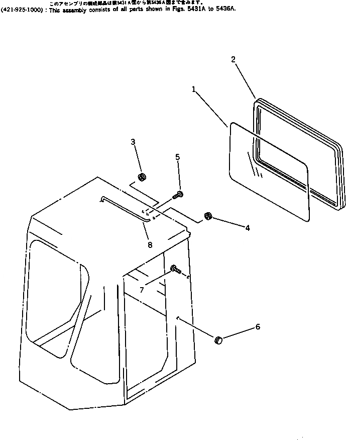
421-925-1000

OPERATOR'S CAB ASS'Y

SN: 20001-UP

1шт.

1

421-56-11150

GLASS

SN: 20001-UP

1шт.

2

421-56-11160

STRIP,WEATHER

SN: 20001-UP

1шт.

3

09415-01008

CAP

SN: 20001-UP

1шт.

4

09415-00508

CAP

SN: 20001-UP

1шт.

5

01220-40512

SCREW

SN: 20001-UP

1шт.

6

09415-00706

CAP

SN: 20001-UP

1шт.

7

01220-40416

SCREW

SN: 20001-UP

3шт.

8

421-54-15440

HOSE, 4300MM

SN: 20001-UP

1шт.

Выбрано товаров: 9