Запчасти Komatsu WA450-1 ДВИГАТЕЛЬ RERATED ЧАСТИ (TBG/ABE СПЕЦ-Я.)(№-9999) СПЕЦ. APPLICATION ЧАСТИ

Схема запчастей Komatsu WA450-1 - ДВИГАТЕЛЬ RERATED ЧАСТИ (TBG/ABE СПЕЦ-Я.)(№-9999) СПЕЦ. APPLICATION ЧАСТИ
FIT
1:1
100%

Артикул

Название

Примечание

Количество

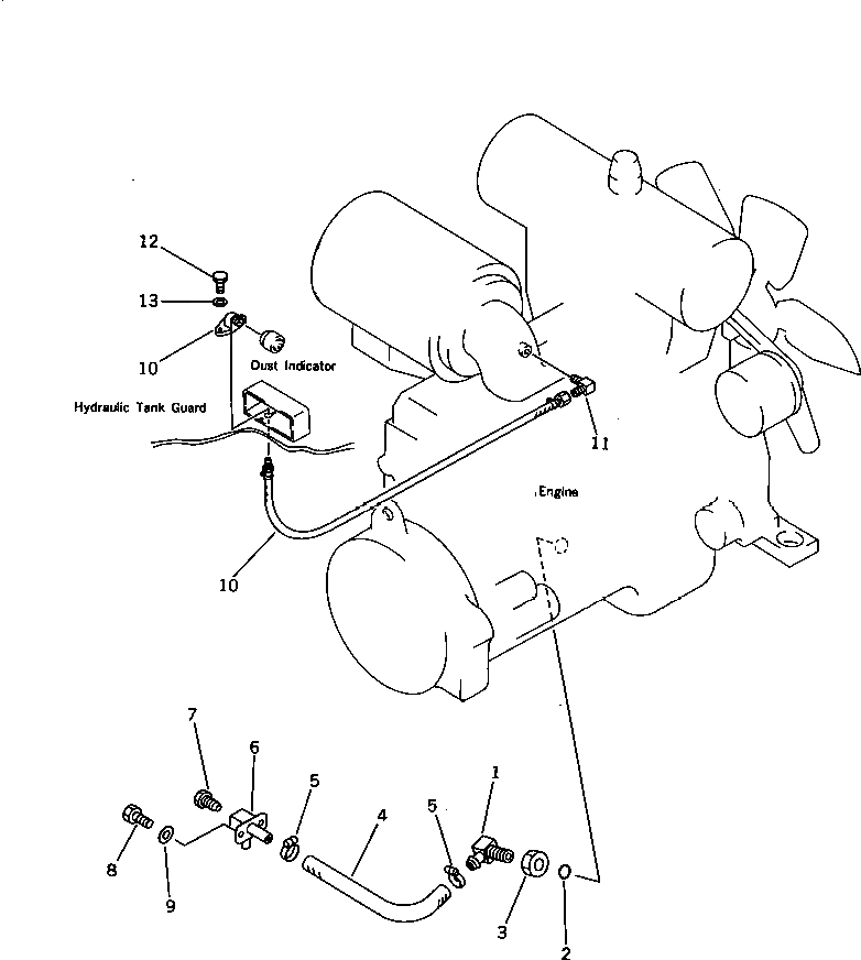
1

421-01-11180

ELBOW

SN: 10001-19999

1шт.

2

07002-23634

O-RING

SN: 10001-19999

1шт.

3

01583-13621

NUT

SN: 10001-19999

1шт.

4

07260-22045

HOSE

SN: 10001-19999

1шт.

5

07281-00359

CLAMP

SN: 10001-19999

2шт.

6

421-01-11263

TUBE

SN: 10001-19999

1шт.

7

424-01-11110

PLUG

SN: 10001-19999

1шт.

8

01010-51025

BOLT

SN: 10001-19999

2шт.

9

01643-31032

WASHER

SN: 10001-19999

2шт.

10

08671-01050

HOSE

SN: 10001-19999

1шт.

11

08671-50721

ELBOW

SN: 10001-19999

1шт.

12

01010-50616

BOLT

SN: 10001-19999

2шт.

13

01643-30623

WASHER

SN: 10001-19999

2шт.

Выбрано товаров: 13