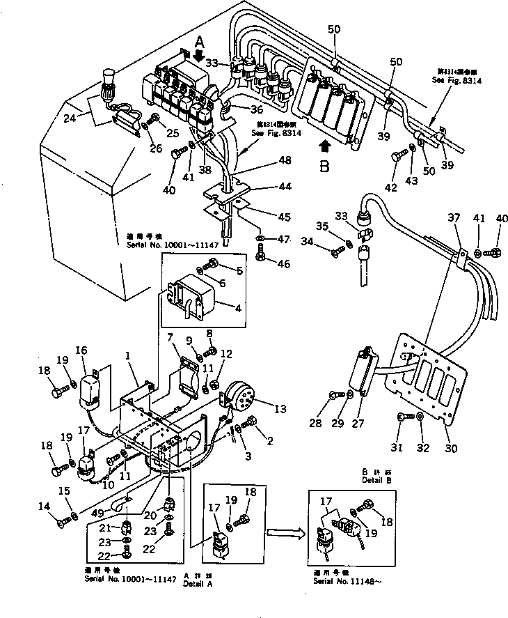
Запчасти Komatsu WA450-1 ЭЛЕКТРИКА (КОНСОЛЬН. БЛОК ПРАВ.) (TBG/ABE СПЕЦ-Я.)(№-9999) СПЕЦ. APPLICATION ЧАСТИ

Схема запчастей Komatsu WA450-1 - ЭЛЕКТРИКА (КОНСОЛЬН. БЛОК ПРАВ.) (TBG/ABE СПЕЦ-Я.)(№-9999) СПЕЦ. APPLICATION ЧАСТИ
FIT
1:1
100%

Артикул

Название

Примечание

Количество

1

424-06-11731

BOX

SN: 11064-19999

1шт.

2

01010-50616

BOLT

SN: 10001-19999

4шт.

3

01643-30623

WASHER

SN: 10001-19999

4шт.

4

7861-72-3000

CONTROLLER ASS'Y

SN: 10594-11147

1шт.

5

01010-50616

BOLT

SN: 10001-11147

4шт.

6

01643-30623

WASHER

SN: 10001-11147

4шт.

7

423-06-11211

TIMER

SN: .-19999

1шт.

8

01235-40410

SCREW

SN: 10001-11147

1шт.

9

01641-20405

WASHER

SN: 10001-11147

1шт.

10

01235-40420

SCREW

SN: 10001-11147

1шт.

11

01641-20405

WASHER

SN: 10001-11147

2шт.

12

01580-10403

NUT

SN: 10001-11147

1шт.

13

207-06-31160

BUZZER

SN: 11064-19999

1шт.

14

01220-40412

SCREW

SN: 11064-19999

2шт.

15

01641-20405

WASHER

SN: 11064-19999

2шт.

16

22W-06-13251

FLASHER

SN: 10001-@

1шт.

17

287-06-16410

RELAY

SN: 11148-19999

8шт.

17

287-06-16410

RELAY

SN: 10734-11147

7шт.

18

01010-50610

BOLT

SN: 11148-19999

9шт.

18

01010-50610

BOLT

SN: 10734-11147

8шт.

19

01643-30623

WASHER

SN: 11148-19999

9шт.

19

01643-30623

WASHER

SN: 10734-11147

8шт.

20

421-06-12910

CLIP

SN: 10001-11147

2шт.

21

283-06-17130

CLIP

SN: 10001-11147

1шт.

22

01220-40608

SCREW

SN: 10001-11147

3шт.

23

01641-20608

WASHER

SN: 10001-11147

3шт.

24

195-822-6151

LIGHTER

SN: 10001-19999

1шт.

25

01220-40410

SCREW

SN: 10001-19999

2шт.

26

01641-20405

WASHER

SN: 10001-19999

2шт.

27

421-06-11431

BREAKER

SN: 10001-19999

4шт.

28

01220-40625

SCREW

SN: 10001-19999

8шт.

29

01641-20608

WASHER

SN: 10001-19999

8шт.

30

425-06-11140

BRACKET

SN: 10001-19999

1шт.

31

01220-40812

SCREW

SN: 10001-19999

4шт.

32

01641-30812

WASHER

SN: 10001-19999

4шт.

33

421-06-12610

CLIP

SN: 10001-19999

5шт.

34

01220-40608

SCREW

SN: 10001-19999

5шт.

35

01641-20608

WASHER

SN: 10001-19999

5шт.

36

08037-05016

GROMMET

SN: 10001-19999

1шт.

37

08036-03014

CLIP

SN: 10001-19999

1шт.

38

08036-01814

CLIP

SN: 10001-19999

1шт.

39

08036-10814

CLIP

SN: 10001-19999

3шт.

40

01010-51016

BOLT

SN: 10001-19999

2шт.

41

01643-31032

WASHER

SN: 10001-19999

2шт.

42

01010-51020

BOLT

SN: 10001-19999

3шт.

43

01643-31032

WASHER

SN: 10001-19999

3шт.

44

419-06-12230

SEAT

SN: 10001-19999

1шт.

45

419-06-12220

PLATE

SN: 10001-19999

1шт.

46

01010-50612

BOLT

SN: 10001-19999

2шт.

47

01643-30623

WASHER

SN: 10001-19999

2шт.

48

421-06-12811

WIRE ASS'Y

SN: 11241-19999

1шт.

48

421-06-12810

WIRE ASS'Y

SN: 10001-11240

1шт.

49

423-06-12640

CLIP

SN: 10001-19999

1шт.

50

08036-11214

CLIP

SN: 10001-19999

3шт.

Выбрано товаров: 54