Запчасти Komatsu WA450-1 ЭЛЕКТРИКА (ЗАДН. ЛИНИЯ) (TBG/ABE СПЕЦ-Я.)(№-9999) СПЕЦ. APPLICATION ЧАСТИ

Схема запчастей Komatsu WA450-1 - ЭЛЕКТРИКА (ЗАДН. ЛИНИЯ) (TBG/ABE СПЕЦ-Я.)(№-9999) СПЕЦ. APPLICATION ЧАСТИ
FIT
1:1
100%

Артикул

Название

Примечание

Количество

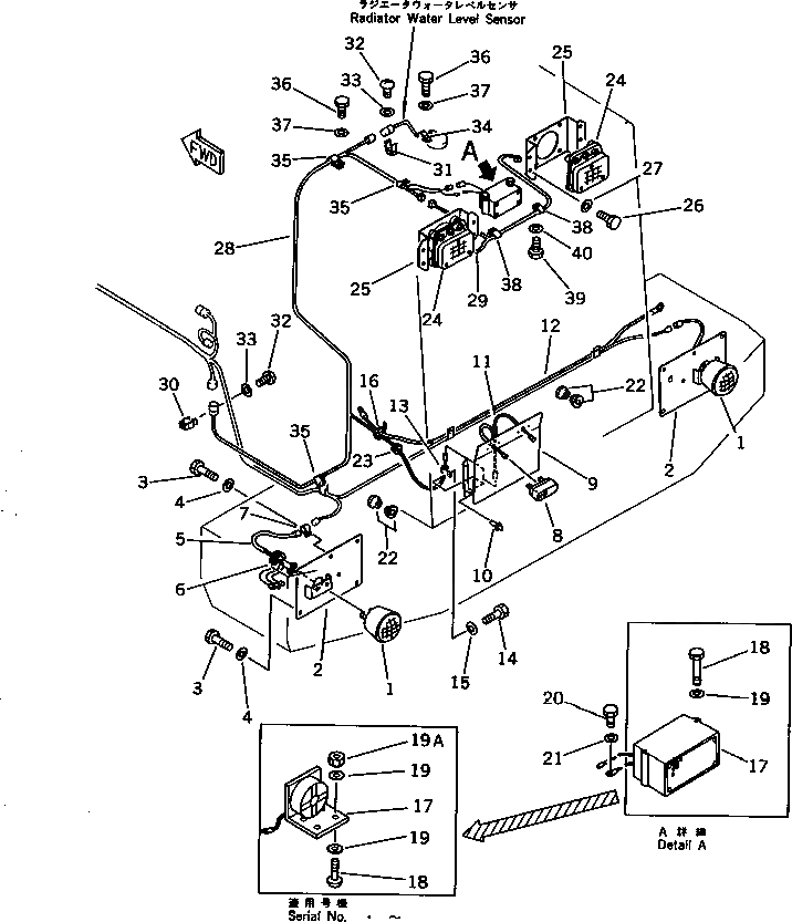
1

421-06-14240

COMBINATION LAMP,REAR

SN: 10001-19999

2шт.

1

421-06-14250

BULB

SN: 10001-19999

2шт.

1

421-06-14260

BULB

SN: 10001-19999

1шт.

2

421-06-11781

PLATE,L.H.

SN: 10001-19999

1шт.

2

421-06-11791

PLATE,R.H.

SN: 10001-19999

1шт.

3

01010-50825

BOLT

SN: 10001-19999

10шт.

4

01643-30823

WASHER

SN: 10001-19999

10шт.

5

419-06-12481

WIRE ASS'Y

SN: 10001-19999

2шт.

6

08037-03614

GROMMET

SN: 10001-19999

2шт.

7

424-06-12780

CLIP

SN: 10001-19999

2шт.

8

421-06-14310

LAMP ASS'Y,LICENSE

SN: 10001-19999

2шт.

8

421-06-14320

BULB

SN: 10001-19999

1шт.

9

421-06-17140

BRACKET

SN: 10001-19999

1шт.

10

424-06-12940

RIVET

SN: 10001-19999

4шт.

11

419-06-12550

WIRE ASS'Y

SN: 10001-19999

1шт.

12

421-06-12950

WIRE ASS'Y

SN: 10001-19999

1шт.

13

419-09-11160

CLIP

SN: 10001-19999

1шт.

14

01010-50816

BOLT

SN: 10001-19999

1шт.

15

01643-30823

WASHER

SN: 10001-19999

1шт.

16

08034-00310

BAND

SN: 10001-19999

1шт.

17

427-06-11310

BUZZER,BACK-UP

SN: .-19999

1шт.

17

08164-00000

BUZZER,BACK-UP

SN: 10001-.

1шт.

18

01220-40512

SCREW

SN: .-19999

4шт.

18

6132-11-6460

BOLT

SN: 10001-.

2шт.

19

01641-20508

WASHER

SN: .-19999

8шт.

19

01640-20816

WASHER

SN: 10001-.

2шт.

19A

01580-10504

NUT

SN: .-19999

4шт.

20

01010-51016

BOLT

SN: 10001-19999

1шт.

21

01643-31032

WASHER

SN: 10001-19999

1шт.

22

421-06-12651

GROMMET

SN: 10001-19999

4шт.

23

08037-01610

GROMMET

SN: 10001-19999

1шт.

24

421-06-13202

WORK LAMP ASS'Y

SN: 10001-19999

2шт.

24

22W-06-12170

BULB

SN: 10001-19999

1шт.

24

421-06-13120

CUSHION

SN: 10001-19999

4шт.

25

421-06-11383

PLATE

SN: 10001-19999

2шт.

26

01010-51220

BOLT

SN: 10001-19999

8шт.

27

01643-31232

WASHER

SN: 10001-19999

8шт.

28

421-06-12123

WIRE ASS'Y

SN: 10001-19999

1шт.

29

421-06-12131

WIRE ASS'Y

SN: 10001-19999

1шт.

30

283-06-17130

CLIP

SN: 10001-19999

1шт.

31

421-06-12910

CLIP

SN: 10001-19999

1шт.

32

01220-40608

SCREW

SN: 10001-19999

2шт.

33

01641-20608

WASHER

SN: 10001-19999

2шт.

34

08036-10814

CLIP

SN: 10001-19999

1шт.

35

08036-01414

CLIP

SN: 10001-19999

3шт.

36

01010-51016

BOLT

SN: 10001-19999

3шт.

37

01643-31032

WASHER

SN: 10001-19999

3шт.

38

08036-01214

CLIP

SN: 10001-19999

2шт.

39

01010-51220

BOLT

SN: 10001-19999

2шт.

40

01643-31232

WASHER

SN: 10001-19999

2шт.

Выбрано товаров: 50