Запчасти Komatsu WA450-1 ВОЗДУХОВОД (WET БАК - СУХ. БАК) (TBG/ABE СПЕЦ-Я.)(№-) СПЕЦ. APPLICATION ЧАСТИ

Схема запчастей Komatsu WA450-1 - ВОЗДУХОВОД (WET БАК - СУХ. БАК) (TBG/ABE СПЕЦ-Я.)(№-) СПЕЦ. APPLICATION ЧАСТИ
FIT
1:1
100%

Артикул

Название

Примечание

Количество

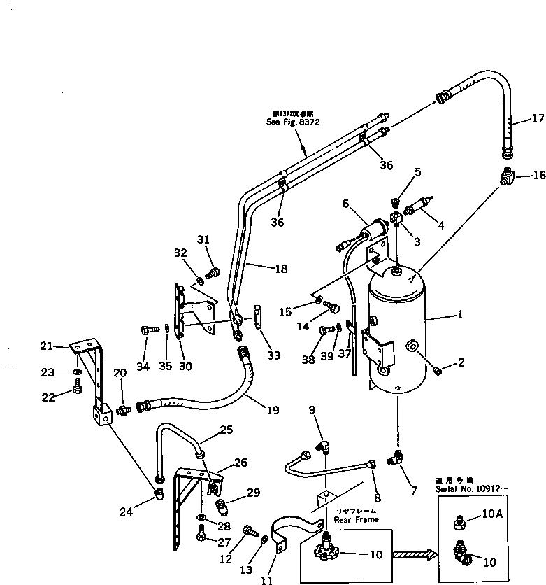
1

421-35-16411

TANK,WET AIR

SN: 10001-@

1шт.

2

07043-50415

PLUG

SN: 10001-@

1шт.

3

421-35-13230

JOINT

SN: 10001-@

1шт.

4

566-35-42350

VALVE,SAFETY

SN: 10001-@

1шт.

5

07043-30108

PLUG

SN: 10001-@

1шт.

6

7861-99-1400

SENSOR,AIR PRESSURE

SN: 10001-@

1шт.

7

421-35-16430

ELBOW

SN: 10001-@

1шт.

8

421-35-13240

TUBE

SN: 10001-@

1шт.

9

07217-70712

ELBOW

SN: 10001-@

1шт.

10

22X-44-11210

VALVE

SN: 10912-@

1шт.

10

\4\565-44-12700

VALVE ASS'Y

SN: 10001-10911

1шт.

|$$12

(22X-44-11210,424-35-12630)

-1шт.

10A

424-35-12630

CONNECTOR

SN: 10912-@

1шт.

11

421-35-13350

COVER

SN: 10912-19999

1шт.

11

421-35-13250

COVER

SN: 10001-10911

1шт.

12

01010-51225

BOLT

SN: 10001-@

2шт.

13

01643-31232

WASHER

SN: 10001-@

2шт.

14

01010-51225

BOLT

SN: 10001-@

3шт.

15

01643-31232

WASHER

SN: 10001-@

3шт.

16

562-97-11690

ELBOW

SN: 10001-11063

1шт.

17

07104-20304

HOSE

SN: 10001-11063

1шт.

18

421-35-12682

TUBE

SN: 10001-11063

1шт.

19

07104-20306

HOSE

SN: 10001-@

1шт.

20

07238-00315

CONNECTOR

SN: 10001-@

1шт.

21

421-35-13930

BRACKET

SN: 10001-11063

1шт.

22

01010-51225

BOLT

SN: 10001-@

2шт.

23

01643-31232

WASHER

SN: 10001-@

2шт.

24

07217-51013

ELBOW

SN: 10001-11063

1шт.

25

421-35-12981

TUBE

SN: 10001-11063

1шт.

26

421-62-14293

BRACKET

SN: 10001-@

1шт.

27

01010-51225

BOLT

SN: 10001-@

2шт.

28

01643-31232

WASHER

SN: 10001-@

2шт.

29

07880-20500

SOCKET

SN: 10001-@

1шт.

30

421-35-12231

BRACKET

SN: 10001-@

1шт.

31

01010-51225

BOLT

SN: 10001-@

2шт.

32

01643-31232

WASHER

SN: 10001-@

2шт.

33

421-35-12250

CLAMP

SN: 10001-@

1шт.

34

01010-51075

BOLT

SN: 10001-@

1шт.

35

01643-31032

WASHER

SN: 10001-@

1шт.

36

08035-01510

CLIP

SN: 10001-@

2шт.

37

424-06-12730

CLIP

SN: 10001-@

1шт.

38

01010-51016

BOLT

SN: 10001-@

1шт.

39

01643-31032

WASHER

SN: 10001-@

1шт.

Выбрано товаров: 43