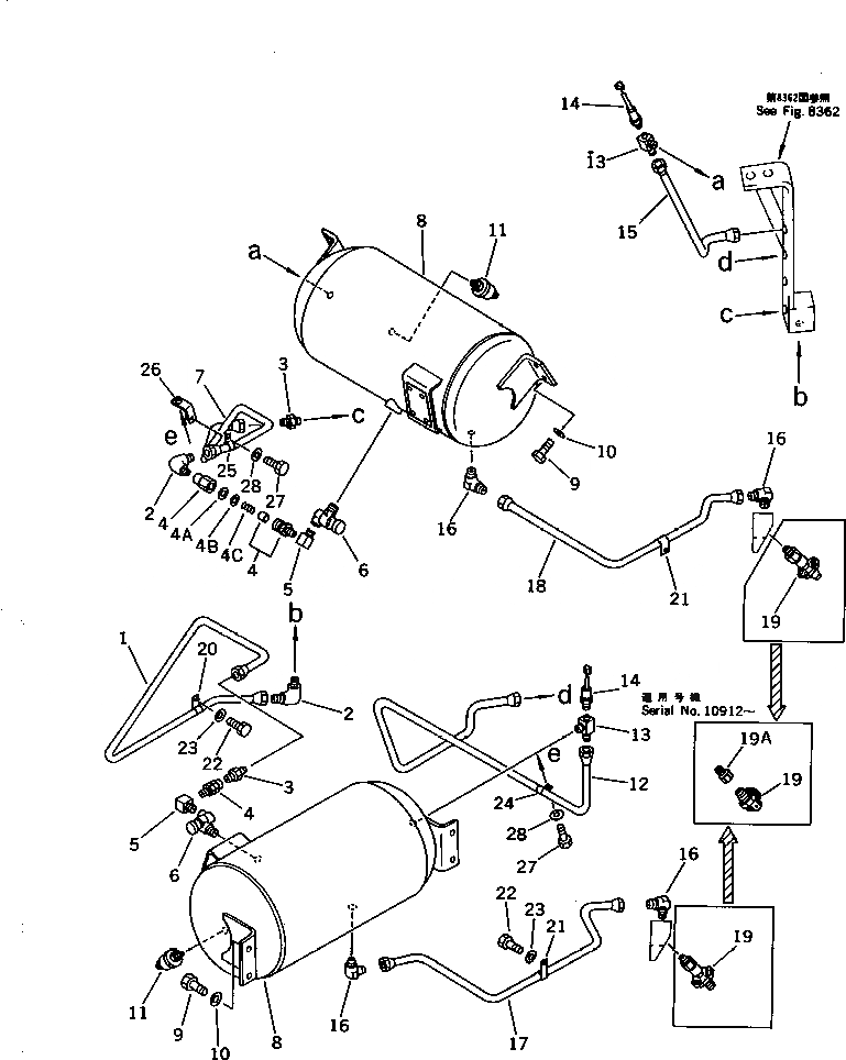
Запчасти Komatsu WA450-1 ВОЗДУХОВОД (СУХ. БАК) (TBG/ABE СПЕЦ-Я.)(№-) СПЕЦ. APPLICATION ЧАСТИ

Схема запчастей Komatsu WA450-1 - ВОЗДУХОВОД (СУХ. БАК) (TBG/ABE СПЕЦ-Я.)(№-) СПЕЦ. APPLICATION ЧАСТИ
FIT
1:1
100%

Артикул

Название

Примечание

Количество

1

421-35-16270

TUBE

SN: 10001-11063

1шт.

2

07217-71521

ELBOW

SN: 10001-11063

2шт.

3

07214-71521

CONNECTOR

SN: 10001-11063

2шт.

4

281-34-11511

VALVE ASS'Y,CHECK

SN: 10001-@

2шт.

4A

281-34-11540

SEAT (K7)

SN: 10001-@

1шт.

4B

281-34-11550

VALVE (K7)

SN: 10001-@

1шт.

4C

281-34-11561

SPRING (K7)

SN: 10001-@

1шт.

5

411-44-15570

JOINT

SN: 10001-@

2шт.

6

423-35-15320

VALVE,PROTECTION

SN: 10001-@

2шт.

7

421-35-16260

TUBE

SN: 10001-11063

1шт.

8

421-35-16420

TANK,DRY AIR

SN: 10001-@

2шт.

9

01010-51225

BOLT

SN: 10001-@

8шт.

10

01643-31232

WASHER

SN: 10001-@

8шт.

11

232-06-52461

SENSOR

SN: 10001-@

2шт.

12

421-35-12832

TUBE

SN: 10001-@

1шт.

13

421-35-16350

TEE

SN: 10001-@

2шт.

14

421-06-17210

SWITCH,LOW PRESSURE

SN: 10001-@

2шт.

15

421-35-12842

TUBE

SN: 10001-@

1шт.

16

07217-70712

ELBOW

SN: 10001-@

4шт.

17

421-35-12891

TUBE

SN: 10001-@

1шт.

18

421-35-12911

TUBE

SN: 10001-@

1шт.

19

22X-44-11210

VALVE

SN: 10912-@

2шт.

19

\4\565-44-12700

VALVE ASS'Y

SN: 10001-10911

2шт.

|$$24

(22X-44-11210,424-35-12630)

-1шт.

19A

424-35-12630

CONNECTOR

SN: 10912-@

2шт.

20

08035-01510

CLIP

SN: 10001-@

1шт.

21

419-09-11160

CLIP

SN: 10001-@

2шт.

22

01010-51020

BOLT

SN: 10001-@

2шт.

23

01643-31032

WASHER

SN: 10001-@

2шт.

24

424-09-12410

CLIP

SN: 10780-@

1шт.

25

426-35-11250

CLIP

SN: 10780-@

1шт.

26

421-35-16370

BRACKET

SN: 10780-@

1шт.

27

01010-51020

BOLT

SN: 10780-@

2шт.

28

01643-31032

WASHER

SN: 10780-@

2шт.

Выбрано товаров: 34