Запчасти Komatsu WA450-1 SECURITY КЛАПАН (ABE СПЕЦ-Я.)(№-9999) СПЕЦ. APPLICATION ЧАСТИ

Схема запчастей Komatsu WA450-1 - SECURITY КЛАПАН (ABE СПЕЦ-Я.)(№-9999) СПЕЦ. APPLICATION ЧАСТИ
FIT
1:1
100%

Артикул

Название

Примечание

Количество

|$0

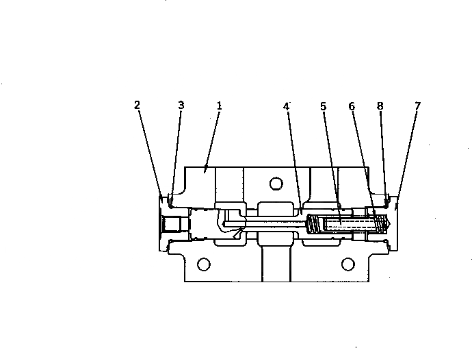
421-875-1400

VALVE ASS'Y

SN: 10001-19999

1шт.

1

0

BODY

SN: 10001-19999

1шт.

2

421-875-1440

PLUG

SN: 10001-19999

1шт.

3

07002-13034

O-RING

SN: 10001-19999

1шт.

4

0

SPOOL

SN: 10001-19999

1шт.

5

421-875-1460

TUBE

SN: 10001-19999

1шт.

6

421-875-1430

SPRING

SN: 10001-19999

1шт.

7

421-875-1450

PLUG

SN: 10001-19999

1шт.

8

07002-13034

O-RING

SN: 10001-19999

1шт.

Выбрано товаров: 9