Запчасти Komatsu WA450-1 ГИДРОЛИНИЯ ЭКСТРЕННОГО УПРАВЛЕНИЯ (/) (ABE СПЕЦ-Я.)(№-9999) СПЕЦ. APPLICATION ЧАСТИ

Схема запчастей Komatsu WA450-1 - ГИДРОЛИНИЯ ЭКСТРЕННОГО УПРАВЛЕНИЯ (/) (ABE СПЕЦ-Я.)(№-9999) СПЕЦ. APPLICATION ЧАСТИ
FIT
1:1
100%

Артикул

Название

Примечание

Количество

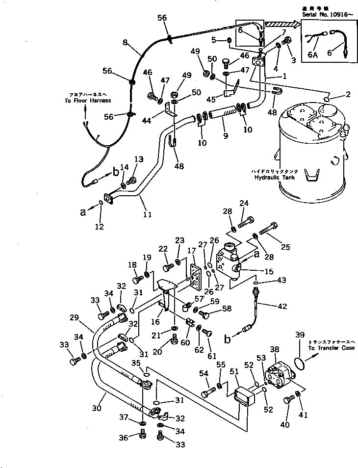
1

421-875-1731

TUBE

SN: 10001-19999

1шт.

2

07000-03048

O-RING

SN: 10001-19999

1шт.

3

07372-21235

BOLT

SN: 10001-19999

4шт.

4

01643-51232

WASHER

SN: 10001-19999

4шт.

5

07042-20108

PLUG

SN: 10001-19999

1шт.

6

421-06-11991

SWITCH,FLOW

SN: 10916-19999

1шт.

6

0

SWITCH,FLOW

SN: 10001-10915

1шт.

|$$8

(421-06-11991,421-06-12980)

-1шт.

6A

421-06-12980

WIRE ASS'Y

SN: 10916-19999

1шт.

7

20D-62-17150

O-RING

SN: 10001-19999

1шт.

8

421-875-1921

WIRE ASS'Y

SN: 10001-19999

1шт.

9

07260-04125

HOSE

SN: 10001-19999

1шт.

10

07281-00609

CLAMP

SN: 10001-19999

4шт.

11

421-875-1742

TUBE

SN: 10001-19999

1шт.

12

07000-03042

O-RING

SN: 10001-19999

1шт.

13

07372-21035

BOLT

SN: 10001-19999

4шт.

14

01643-51032

WASHER

SN: 10001-19999

4шт.

15

421-875-1101

DIVIDER VALVE ASS'Y,(SEE FIG.4811)

SN: 10001-19999

1шт.

16

421-875-1713

BRACKET

SN: 11064-19999

1шт.

16

0

BRACKET

SN: 10001-11063

1шт.

17

421-875-1721

SEAT,VALVE

SN: 10001-19999

1шт.

18

01010-51230

BOLT

SN: 10001-19999

4шт.

19

01643-31232

WASHER

SN: 10001-19999

4шт.

20

01010-51435

BOLT

SN: 10001-19999

3шт.

21

01643-31445

WASHER

SN: 10001-19999

3шт.

22

01252-41025

BOLT

SN: 10001-19999

2шт.

23

01643-51032

WASHER

SN: 10001-19999

2шт.

24

01010-51090

BOLT

SN: 10001-19999

2шт.

25

01011-51045

BOLT

SN: 10001-19999

2шт.

26

07000-13040

O-RING

SN: 10001-19999

2шт.

27

07000-02012

O-RING

SN: 10001-19999

2шт.

28

01643-51032

WASHER

SN: 10001-19999

4шт.

29

421-875-1771

HOSE

SN: 10001-19999

1шт.

30

07124-01209

HOSE

SN: 10001-19999

1шт.

31

07000-13038

O-RING

SN: 10001-19999

3шт.

32

07371-31255

FLANGE

SN: 10001-19999

6шт.

33

07372-21035

BOLT

SN: 10001-19999

12шт.

34

01643-51032

WASHER

SN: 10001-19999

12шт.

35

07000-13035

O-RING

SN: 10001-19999

1шт.

36

01010-51065

BOLT

SN: 10001-19999

4шт.

37

01643-51032

WASHER

SN: 10001-19999

4шт.

38

704-30-34110

PUMP ASS'Y (SAM2),EMERGENCY STEERING

SN: 10001-19999

1шт.

39

07000-02105

O-RING

SN: 10001-19999

1шт.

40

01010-51235

BOLT

SN: 10001-19999

2шт.

41

01643-31232

WASHER

SN: 10001-19999

2шт.

42

421-06-11981

SWITCH,LIMIT, DIVIDER VALVE

SN: 10931-19999

1шт.

42

0

SWITCH,LIMIT, DIVIDER VALVE

SN: 10001-10930

1шт.

43

07002-02034

O-RING

SN: 10001-19999

1шт.

44

421-875-1862

BRACKET

SN: 10001-19999

1шт.

45

421-875-1851

BRACKET

SN: 10001-19999

1шт.

46

01010-51225

BOLT

SN: 10001-19999

4шт.

47

01643-31232

WASHER

SN: 10001-19999

4шт.

48

07283-34346

CLIP

SN: 10001-19999

2шт.

49

01599-01011

NUT

SN: 10001-19999

4шт.

50

01643-31032

WASHER

SN: 10001-19999

4шт.

51

421-875-1761

BLOCK

SN: 10001-19999

1шт.

52

07000-13040

O-RING

SN: 10001-19999

2шт.

53

07000-02014

O-RING

SN: 10001-19999

1шт.

54

01010-51085

BOLT

SN: 10001-19999

4шт.

55

01643-31032

WASHER

SN: 10001-19999

4шт.

56

08034-00414

BAND

SN: 10001-19999

8шт.

57

419-09-11160

CLIP

SN: 10001-19999

1шт.

58

01010-51016

BOLT

SN: 10001-19999

1шт.

59

01643-31032

WASHER

SN: 10001-19999

1шт.

60

421-06-12910

CLIP

SN: 10001-19999

1шт.

61

01220-40608

SCREW

SN: 10001-19999

1шт.

62

01641-20608

WASHER

SN: 10001-19999

1шт.

Выбрано товаров: 67