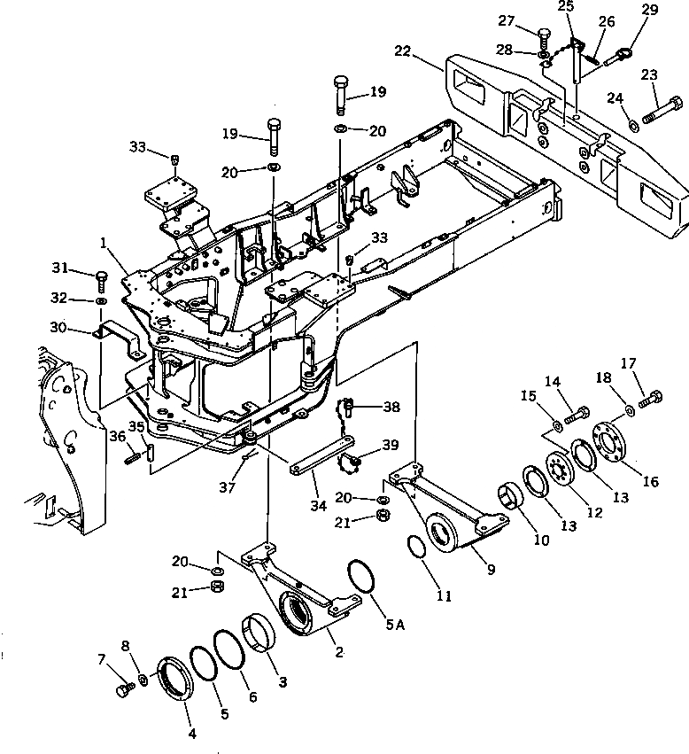
Запчасти Komatsu WA450-1 ЗАДН. РАМА (TBG/ABE СПЕЦ-Я.)(№-9999) СПЕЦ. APPLICATION ЧАСТИ

Схема запчастей Komatsu WA450-1 - ЗАДН. РАМА (TBG/ABE СПЕЦ-Я.)(№-9999) СПЕЦ. APPLICATION ЧАСТИ
FIT
1:1
100%

Артикул

Название

Примечание

Количество

1

421-46-12401

FRAME,REAR

SN: 10001-19999

1шт.

|$1

421-46-00010

SUPPORT ASS'Y,FRONT

SN: 10001-19999

1шт.

2

421-46-12871

SUPPORT,FRONT

SN: 10001-19999

1шт.

3

424-46-12162

BUSHING,FRONT

SN: 10001-19999

1шт.

4

424-46-12310

RETAINER

SN: 10001-19999

1шт.

5

421-46-15112

PACKING

SN: 11362-19999

1шт.

5

0

PACKING

SN: 10001-11361

1шт.

5

0

O-RING

SN: (10001-10932)

1шт.

5A

421-46-15120

PACKING

SN: 10001-19999

1шт.

5A

0

O-RING

SN: (10001-10932)

1шт.

6

07000-05305

O-RING

SN: 10001-19999

1шт.

7

01010-51240

BOLT

SN: 10631-19999

6шт.

7

01010-51235

BOLT

SN: 10001-10630

6шт.

8

01643-31232

WASHER

SN: 10001-19999

6шт.

|$14

424-46-00010

SUPPORT ASS'Y,REAR

SN: 10001-19999

1шт.

9

424-46-12153

SUPPORT,REAR

SN: 10631-19999

1шт.

9

0

SUPPORT,REAR

SN: 10001-10630

1шт.

10

424-46-12172

BUSHING,REAR

SN: 10001-19999

1шт.

11

421-46-15112

PACKING

SN: 11362-19999

1шт.

11

0

PACKING

SN: 10001-11361

1шт.

11

0

O-RING

SN: (10001-10932)

1шт.

12

424-46-12221

PLATE,THRUST

SN: 10001-19999

1шт.

13

424-46-12181

WASHER,THRUST

SN: 10001-19999

2шт.

14

01010-31670

BOLT

SN: 10001-19999

8шт.

15

01643-31645

WASHER

SN: 10001-19999

8шт.

16

424-46-12191

COVER

SN: 10001-19999

1шт.

17

01010-31660

BOLT

SN: 10631-19999

8шт.

17

01010-31655

BOLT

SN: 10001-10630

8шт.

18

01643-31645

WASHER

SN: 10001-19999

8шт.

19

01011-62710

BOLT

SN: 11020-19999

8шт.

19

0

BOLT

SN: 10001-11019

8шт.

20

01643-32780

WASHER

SN: 10001-19999

16шт.

21

01580-02722

NUT

SN: 11020-19999

8шт.

21

424-09-12430

NUT

SN: 10001-11019

8шт.

22

421-46-13134

WEIGHT,COUNTER

SN: 10001-19999

1шт.

22

421-974-1111

WEIGHT,COUNTER (FOR LOG GRAPPLE)

SN: 10001-19999

1шт.

23

01011-52450

BOLT

SN: 10001-19999

4шт.

23

22D-70-13390

BOLT,(FOR LOG GRAPPLE)

SN: 10001-19999

4шт.

24

22X-22-11280

WASHER

SN: 10001-19999

4шт.

25

421-46-13150

PIN

SN: 10001-19999

1шт.

26

04025-01000

PIN,SPRING

SN: 10001-19999

1шт.

27

01010-50816

BOLT

SN: 10001-19999

1шт.

28

01643-30823

WASHER

SN: 10001-19999

1шт.

29

426-46-12280

PIN,LINCH

SN: 10001-19999

1шт.

30

421-46-12861

GUARD

SN: 10001-19999

1шт.

31

01010-51640

BOLT

SN: 10001-19999

2шт.

32

01643-31645

WASHER

SN: 10001-19999

2шт.

33

07049-02430

PLUG

SN: 10001-19999

12шт.

34

421-46-12880

BAR,LOCK

SN: 10001-19999

1шт.

35

421-46-12721

PIN

SN: 10001-19999

1шт.

36

04025-01065

PIN,SPRING

SN: 10001-19999

1шт.

37

04025-01065

PIN,SPRING

SN: 11064-19999

1шт.

37

0

PIN,COTTER

SN: 10001-11063

1шт.

38

419-46-14110

PIN

SN: 10001-19999

1шт.

39

421-46-12750

PIN,LINCH

SN: 10001-19999

1шт.

Выбрано товаров: 55