Запчасти Komatsu WA450-1 ЗАДН. ПОЛН. КРЫЛО (ABE СПЕЦ-Я.)(№-9999) СПЕЦ. APPLICATION ЧАСТИ

Схема запчастей Komatsu WA450-1 - ЗАДН. ПОЛН. КРЫЛО (ABE СПЕЦ-Я.)(№-9999) СПЕЦ. APPLICATION ЧАСТИ
FIT
1:1
100%

Артикул

Название

Примечание

Количество

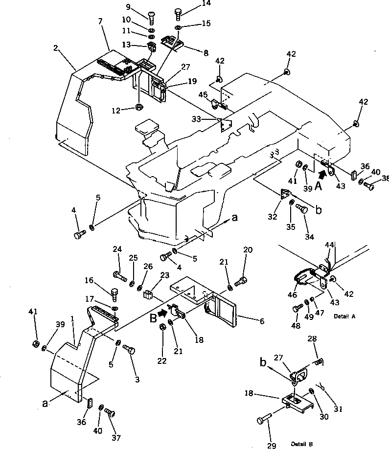
1

421-54-14211

FENDER,L.H.

SN: 10001-19999

1шт.

2

421-54-14221

FENDER,R.H.

SN: 10001-19999

1шт.

3

01010-51220

BOLT

SN: 10001-19999

10шт.

4

01010-51230

BOLT

SN: 10001-19999

2шт.

5

01643-31232

WASHER

SN: 10001-19999

12шт.

6

421-54-14231

FENDER,L.H.

SN: 10001-19999

1шт.

7

421-54-14241

FENDER,R.H.

SN: 10001-19999

1шт.

8

421-54-13890

STEP

SN: 10001-19999

1шт.

9

01220-40408

SCREW

SN: 10001-19999

4шт.

10

01601-20410

WASHER,SPRING

SN: 10001-19999

4шт.

11

01641-20405

WASHER

SN: 10001-19999

4шт.

12

01580-10403

NUT

SN: 10001-19999

4шт.

13

419-54-14310

SPRING

SN: 10001-19999

2шт.

14

01010-51225

BOLT

SN: 10001-19999

3шт.

15

01643-31232

WASHER

SN: 10001-19999

3шт.

16

01010-51220

BOLT

SN: 10001-19999

8шт.

17

01643-31232

WASHER

SN: 10001-19999

8шт.

18

421-54-14280

SUPPORT,L.H.

SN: 10001-19999

1шт.

19

421-54-14291

SUPPORT,R.H.

SN: 10001-19999

1шт.

20

01010-51230

BOLT

SN: 10001-19999

4шт.

21

01643-31232

WASHER

SN: 10001-19999

8шт.

22

01580-11210

NUT

SN: 10001-19999

4шт.

23

419-54-14310

SPRING

SN: 10001-19999

2шт.

24

01220-40408

SCREW

SN: 10001-19999

4шт.

25

01601-20410

WASHER,SPRING

SN: 10001-19999

4шт.

26

01641-20405

WASHER

SN: 10001-19999

4шт.

27

419-54-14241

CATCH

SN: 10662-19999

2шт.

27

0

CATCH

SN: 10001-10661

2шт.

28

419-54-14250

SPRING

SN: 10001-19999

2шт.

29

419-54-14260

PIN

SN: 10001-19999

2шт.

30

01643-30623

WASHER

SN: 10001-19999

2шт.

31

04052-00633

PIN

SN: 10001-19999

2шт.

32

423-54-14110

STOPPER,L.H.

SN: 10001-19999

1шт.

33

423-54-14120

STOPPER,R.H.

SN: 10001-19999

1шт.

34

01010-51230

BOLT

SN: 10001-19999

8шт.

35

01643-31232

WASHER

SN: 10001-19999

8шт.

36

421-06-14430

REFLECTOR,SIDE

SN: 10001-19999

6шт.

37

01220-40412

SCREW

SN: 10001-19999

8шт.

38

01220-40420

SCREW

SN: 10001-19999

4шт.

39

01601-20410

WASHER,SPRING

SN: 10001-19999

12шт.

40

01641-20405

WASHER

SN: 10001-19999

12шт.

41

01580-10403

NUT

SN: 10001-19999

12шт.

42

421-06-14440

REFLECTOR,REAR

SN: 10001-19999

4шт.

43

421-54-13860

BRACKET,L.H.

SN: 10001-19999

1шт.

44

04052-01453

PIN

SN: 10001-19999

1шт.

45

421-54-13870

BRACKET,R.H.

SN: 10001-19999

1шт.

46

04052-01453

PIN,SNAP

SN: 10001-19999

2шт.

47

421-54-13850

SPACER

SN: 10001-19999

2шт.

48

01010-51030

BOLT

SN: 10001-19999

2шт.

49

01643-31032

WASHER

SN: 10001-19999

2шт.

Выбрано товаров: 50