Запчасти Komatsu WA450-1 КАПОТ И ЗАДН. ЧАСТИ КОРПУСА (ТУННЕЛЬН. СПЕЦ-Я.)(№-9999) СПЕЦ. APPLICATION ЧАСТИ

Схема запчастей Komatsu WA450-1 - КАПОТ И ЗАДН. ЧАСТИ КОРПУСА (ТУННЕЛЬН. СПЕЦ-Я.)(№-9999) СПЕЦ. APPLICATION ЧАСТИ
FIT
1:1
100%

Артикул

Название

Примечание

Количество

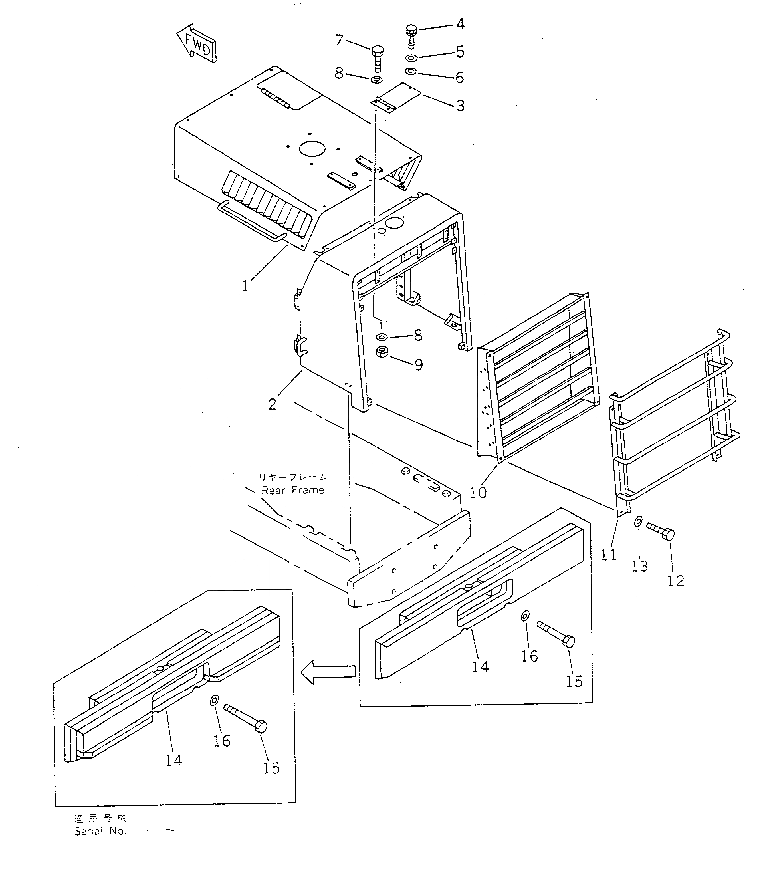
1

421-Z94-1210

HOOD,(MODIFIED PARTS)

SN: 10001-19999

1шт.

2

421-Z94-1260

GUARD,(MODIFIED PARTS)

SN: 10001-19999

1шт.

3

419-U82-1470

COVER

SN: 10001-@

1шт.

4

425-54-12960

SCREW

SN: 10001-@

1шт.

5

01642-20608

WASHER

SN: 10001-@

1шт.

6

01643-30623

WASHER

SN: 10001-@

1шт.

7

01010-50620

BOLT

SN: 10001-19999

2шт.

8

01643-30623

WASHER

SN: 10001-19999

4шт.

9

01580-10605

NUT

SN: 10001-19999

2шт.

10

421-Z94-1270

GRILLE,(MODIFIED PARTS)

SN: 10001-19999

1шт.

11

421-Z94-1310

GUARD

SN: 10001-19999

1шт.

12

01010-51250

BOLT

SN: 10001-19999

4шт.

13

01643-31232

WASHER

SN: 10001-19999

4шт.

14

421-Z94-1111

WEIGHT,COUNTER

SN: .-19999

1шт.

14

421-Z94-1110

WEIGHT,COUNTER

SN: 10001-.

1шт.

15

01011-52485

BOLT

SN: 10001-19999

4шт.

16

01643-32460

WASHER

SN: 10001-19999

4шт.

Выбрано товаров: 0