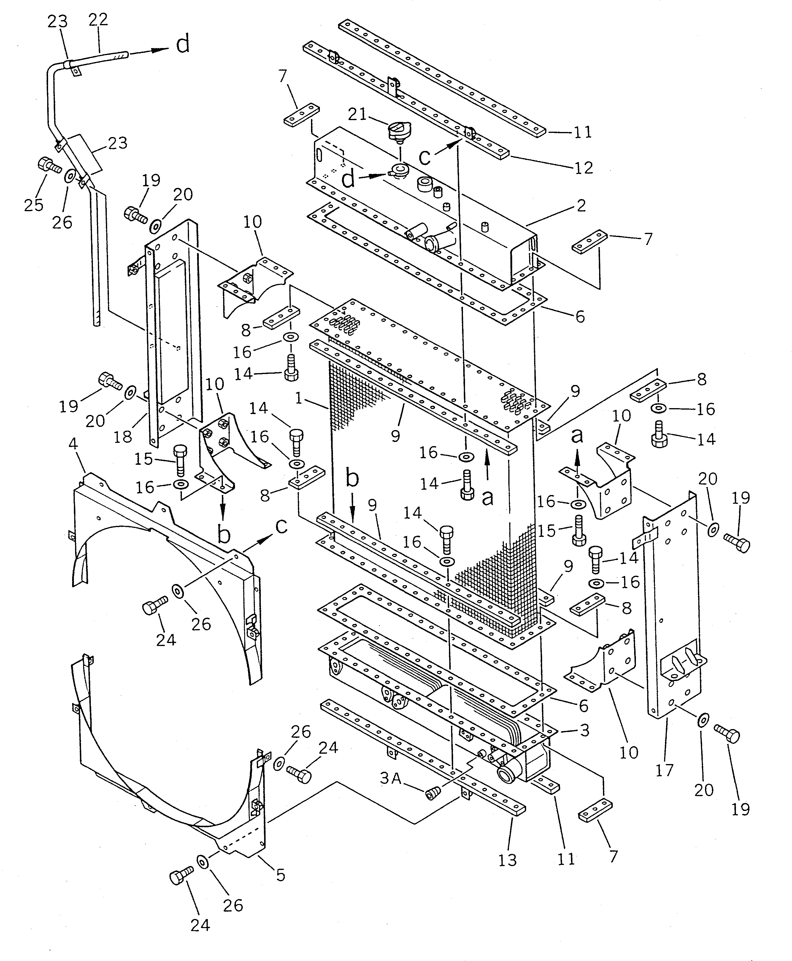
Запчасти Komatsu WA450-1 РАДИАТОР(№-9999) КОМПОНЕНТЫ ДВИГАТЕЛЯ И ЭЛЕКТРИКА

Схема запчастей Komatsu WA450-1 - РАДИАТОР(№-9999) КОМПОНЕНТЫ ДВИГАТЕЛЯ И ЭЛЕКТРИКА
FIT
1:1
100%

Артикул

Название

Примечание

Количество

|$0

421-03-11104

RADIATOR ASS'Y

SN: 10931-19999

1шт.

|$1

0

RADIATOR ASS'Y

SN: 10001-10930

1шт.

|$2

0

RADIATOR ASS'Y

SN: (10001-10201)

1шт.

1

421-03-11710

CORE ASS'Y

SN: 10001-19999

1шт.

2

421-03-11721

TANK,UPPER

SN: 10001-19999

1шт.

3

421-03-11733

TANK,LOWER (WITH OIL COOLER)

SN: 10001-19999

1шт.

3A

07043-00415

PLUG

SN: .-19999

1шт.

4

421-03-11773

SHROUD,UPPER

SN: 10202-19999

1шт.

4

0

SHROUD,UPPER

SN: 10001-10201

1шт.

5

421-03-11783

SHROUD,LOWER

SN: 10202-19999

1шт.

5

0

SHROUD,LOWER

SN: 10001-10201

1шт.

6

421-03-11210

GASKET

SN: 10001-19999

2шт.

7

421-03-11260

PLATE

SN: 10001-19999

3шт.

8

421-03-11250

PLATE

SN: 10001-19999

4шт.

9

421-03-11220

PLATE

SN: 10001-19999

4шт.

10

421-03-11190

BRACKET

SN: 10001-19999

4шт.

11

421-03-11230

PLATE

SN: 10001-19999

2шт.

12

421-03-11810

PLATE

SN: 10001-19999

1шт.

13

421-03-11821

PLATE

SN: 10001-19999

1шт.

14

01010-51035

BOLT

SN: 10001-19999

64шт.

15

01010-51040

BOLT

SN: 10001-19999

24шт.

16

01643-31032

WASHER

SN: 10001-19999

88шт.

17

421-03-11753

PLATE,L.H.

SN: 10931-19999

1шт.

17

0

PLATE,L.H.

SN: 10202-10930

1шт.

17

0

PLATE,L.H.

SN: 10001-10201

1шт.

18

421-03-11763

PLATE,R.H.

SN: 10931-19999

1шт.

18

0

PLATE,R.H.

SN: 10202-10930

1шт.

18

0

PLATE,R.H.

SN: 10001-10201

1шт.

19

01010-51225

BOLT

SN: 10001-19999

16шт.

20

01643-31232

WASHER

SN: 10001-19999

16шт.

21

421-03-11460

CAP

SN: 10896-19999

1шт.

21

0

CAP

SN: 10001-10895

1шт.

22

421-03-11880

HOSE

SN: 10001-19999

1шт.

23

232-03-11210

CLIP

SN: 10001-19999

3шт.

24

01010-51020

BOLT

SN: 10001-19999

11шт.

25

01010-51016

BOLT

SN: 10001-19999

2шт.

26

01643-31032

WASHER

SN: 10001-19999

13шт.

Выбрано товаров: 37