Запчасти Komatsu WA450-1 СИСТЕМА ТРУБ РАДИАТОРА(№-9999) КОМПОНЕНТЫ ДВИГАТЕЛЯ И ЭЛЕКТРИКА

Схема запчастей Komatsu WA450-1 - СИСТЕМА ТРУБ РАДИАТОРА(№-9999) КОМПОНЕНТЫ ДВИГАТЕЛЯ И ЭЛЕКТРИКА
FIT
1:1
100%

Артикул

Название

Примечание

Количество

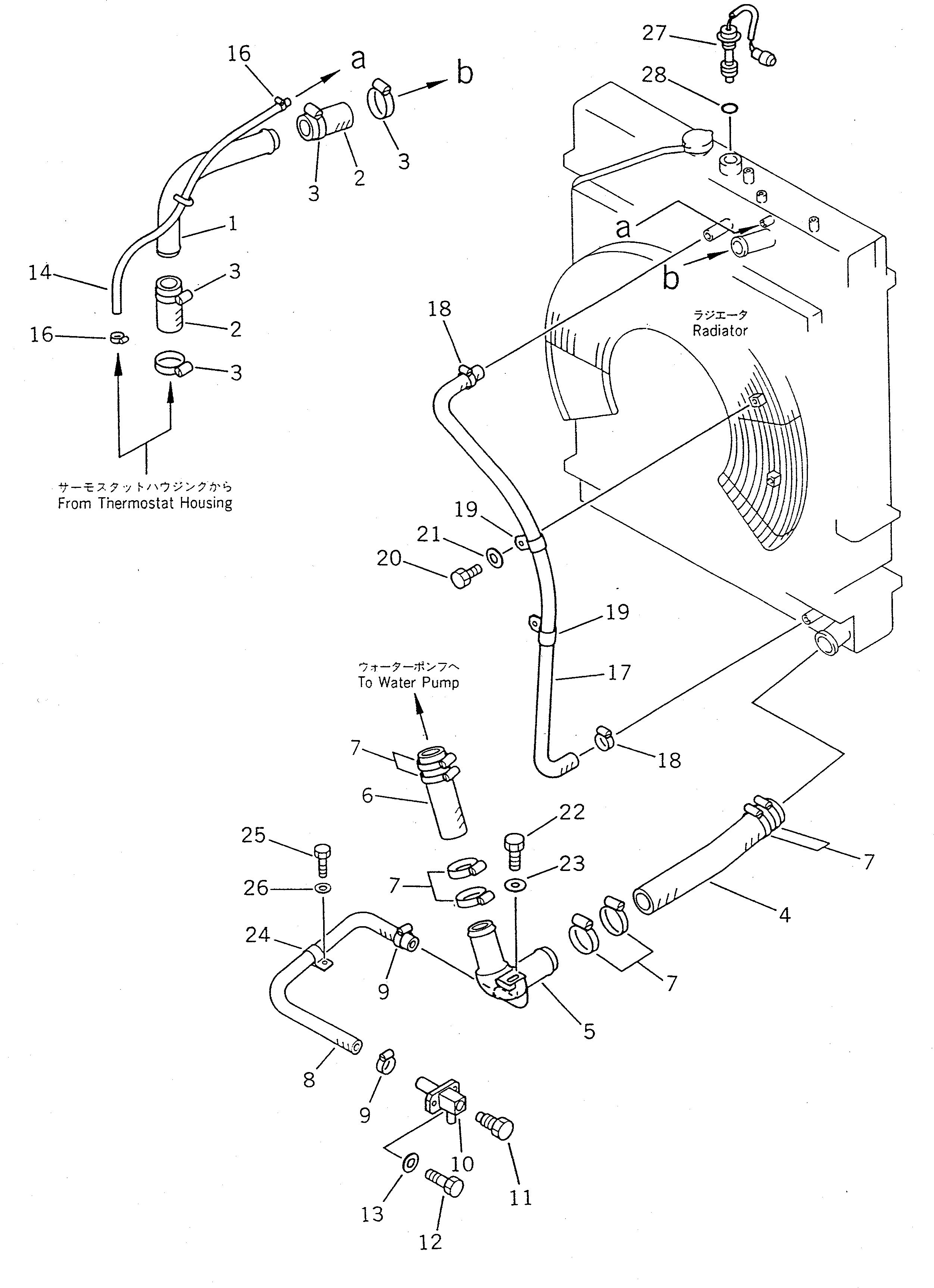
1

421-03-11830

TUBE

SN: 10001-19999

1шт.

2

421-03-11340

HOSE

SN: 10001-19999

2шт.

3

07281-00809

CLAMP

SN: 10001-19999

4шт.

4

421-03-11930

HOSE

SN: 10001-19999

1шт.

5

421-03-11843

TUBE

SN: 10001-19999

1шт.

|5

0

TUBE

SN: (10001-10206)

1шт.

6

421-03-11850

HOSE

SN: 10001-19999

1шт.

7

07281-00909

CLAMP

SN: 10001-19999

8шт.

8

07260-22071

HOSE

SN: 10207-19999

1шт.

|8

07260-22090

HOSE

SN: 10001-10206

1шт.

9

07281-00419

CLAMP

SN: 10001-@

2шт.

10

421-01-11263

TUBE

SN: 10001-@

1шт.

11

424-01-11110

PLUG

SN: 10001-@

1шт.

12

01010-51030

BOLT

SN: 10001-19999

2шт.

13

01643-31032

WASHER

SN: 10001-19999

2шт.

14

07270-21073

TUBE

SN: 10001-19999

1шт.

16

07281-00197

CLAMP

SN: 10001-@

2шт.

17

07261-22616

HOSE

SN: 10001-19999

1шт.

18

07281-00419

CLAMP

SN: 10001-19999

2шт.

19

421-16-11660

CLIP

SN: 10001-19999

2шт.

20

01010-51020

BOLT

SN: 10001-19999

2шт.

21

01643-31032

WASHER

SN: 10001-19999

2шт.

22

01010-51225

BOLT

SN: 10001-19999

1шт.

23

01643-31232

WASHER

SN: 10001-19999

1шт.

24

08036-23014

CLIP

SN: 10001-19999

1шт.

25

01010-51220

BOLT

SN: 10001-19999

1шт.

26

01643-31232

WASHER

SN: 10001-19999

1шт.

27

7861-91-4510

SENSOR,WATER LEVEL

SN: 10707-19999

1шт.

|27

0

SENSOR,WATER LEVEL

SN: 10001-10706

1шт.

28

07002-23634

O-RING

SN: 10001-@

1шт.

Выбрано товаров: 30