Запчасти Komatsu WA450-1 РУЛЕВ. УПРАВЛЕНИЕ ЗАПРАШИВАЮЩ. КЛАПАН (/)(№-9999) РУЛЕВ. УПРАВЛЕНИЕ И СИСТЕМА УПРАВЛЕНИЯ

Схема запчастей Komatsu WA450-1 - РУЛЕВ. УПРАВЛЕНИЕ ЗАПРАШИВАЮЩ. КЛАПАН (/)(№-9999) РУЛЕВ. УПРАВЛЕНИЕ И СИСТЕМА УПРАВЛЕНИЯ
FIT
1:1
100%

Артикул

Название

Примечание

Количество

|1

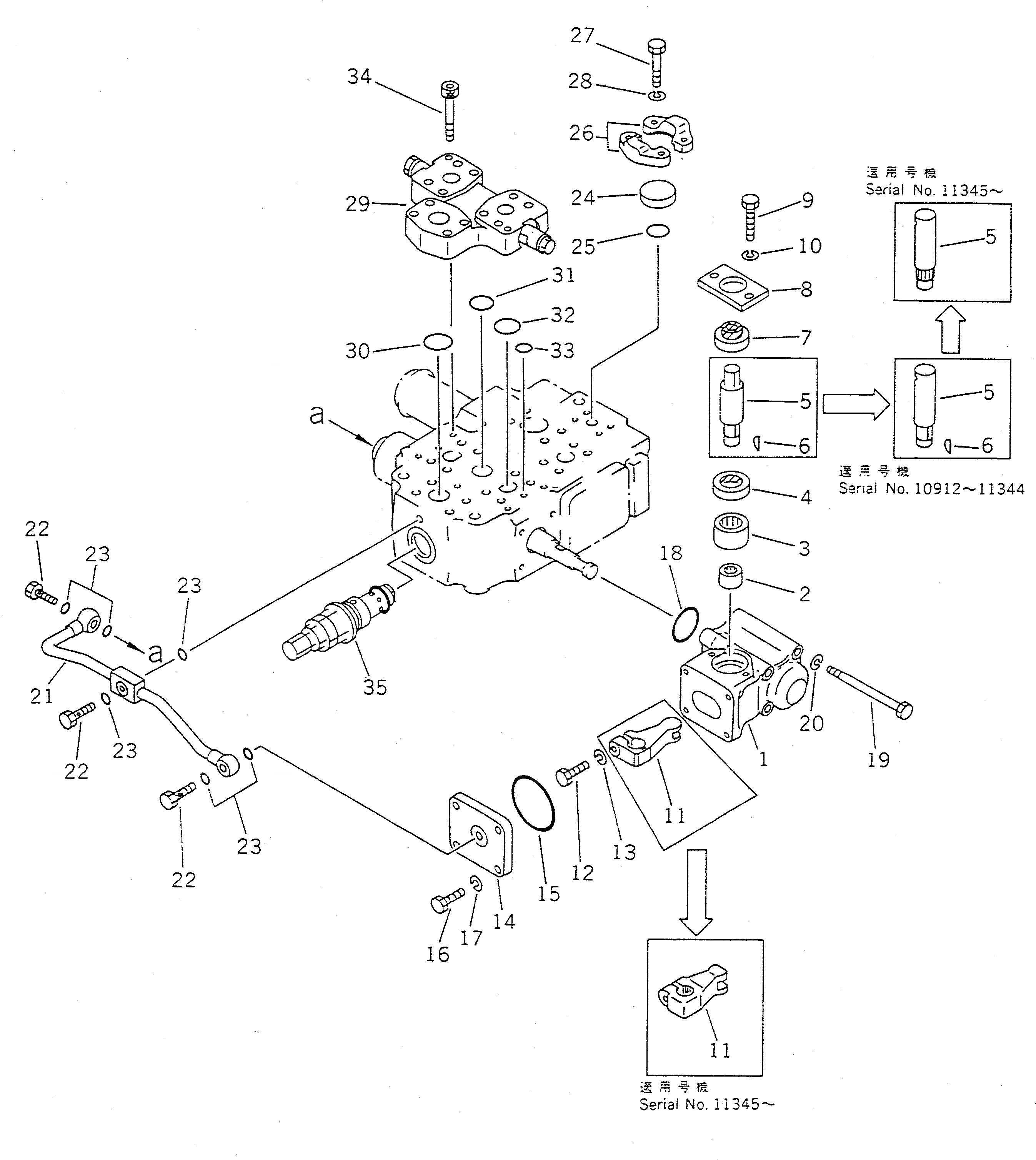
702-23-21003

VALVE ASS'Y,STEERING DEMAND

SN: 10001-19999

1шт.

|1

0

VALVE ASS'Y,STEERING DEMAND

SN: (11345-.)

1шт.

|1

0

VALVE ASS'Y,STEERING DEMAND

SN: (10912-11344)

1шт.

|1

0

VALVE ASS'Y,STEERING DEMAND

SN: (10001-10911)

1шт.

|1

702-13-36701

ROTARY SEAL ASS'Y

SN: 10001-19999

1шт.

|1

0

ROTARY SEAL ASS'Y

SN: (10912-11344)

1шт.

|1

0

ROTARY SEAL ASS'Y

SN: (10001-10911)

1шт.

1

702-13-21610

CASE

SN: 10001-19999

1шт.

2

702-13-21620

BEARING,NEEDLE

SN: 10001-19999

1шт.

3

06120-02520

BEARING,NEEDLE

SN: 10001-19999

1шт.

4

07430-11161

SEAL,OIL

SN: 10001-19999

1шт.

5

702-13-21670

SHAFT

SN: 10001-19999

1шт.

|5

0

SHAFT

SN: (10912-11344)

1шт.

|5

0

SHAFT

SN: (10001-10911)

1шт.

6

0

KEY

SN: (10001-11344)

1шт.

7

07016-00256

SEAL,DUST

SN: 10001-19999

1шт.

8

701-51-32170

PLATE

SN: 10001-19999

1шт.

9

01010-50820

BOLT

SN: 10001-19999

2шт.

10

01602-00825

WASHER,SPRING

SN: 10001-19999

2шт.

11

702-13-21680

LEVER

SN: 10001-19999

1шт.

|11

0

LEVER

SN: (10912-11344)

1шт.

|11

0

LEVER

SN: (10001-10911)

1шт.

12

01010-50835

BOLT

SN: 10001-19999

1шт.

13

01602-00825

WASHER,SPRING

SN: 10001-19999

1шт.

14

702-13-36630

COVER

SN: 10001-19999

1шт.

15

07000-22065

O-RING

SN: 10001-19999

1шт.

16

01010-50830

BOLT

SN: 10001-19999

4шт.

17

01602-20825

WASHER,SPRING

SN: 10001-19999

4шт.

18

07000-03042

O-RING

SN: 10001-19999

1шт.

19

430-07-23560

BOLT

SN: 10001-19999

4шт.

20

01602-20825

WASHER,SPRING

SN: 10001-19999

4шт.

21

702-23-21270

TUBE

SN: 10001-19999

1шт.

22

6631-51-9580

BOLT,JOINT

SN: 10001-19999

3шт.

23

07000-02012

O-RING

SN: 10001-19999

6шт.

24

07378-10500

HEAD

SN: 10001-19999

1шт.

25

07000-13022

O-RING

SN: 10001-19999

1шт.

26

07371-30500

FLANGE,SPLIT

SN: 10001-19999

2шт.

27

01010-50830

BOLT

SN: 10001-19999

4шт.

28

01602-20825

WASHER,SPRING

SN: 10001-19999

4шт.

29

702-23-21600

CASE ASS'Y

SN: 10001-19999

1шт.

|29

0

CASE ASS'Y

SN: (10001-.)

1шт.

30

07000-03035

O-RING

SN: 10001-19999

1шт.

31

07000-03030

O-RING

SN: 10001-19999

1шт.

32

07000-13028

O-RING

SN: 10001-19999

2шт.

33

07000-02011

O-RING

SN: 10001-19999

2шт.

|33

0

O-RING

SN: (10001-.)

2шт.

34

702-23-21490

BOLT

SN: ..-19999

2шт.

|34

702-23-21490

BOLT

SN: 10001-..

4шт.

|34

0

BOLT

SN: (10001-.)

4шт.

35

700-87-54000

VALVE ASS'Y,RELIEF

SN: 10001-19999

1шт.

Выбрано товаров: 50