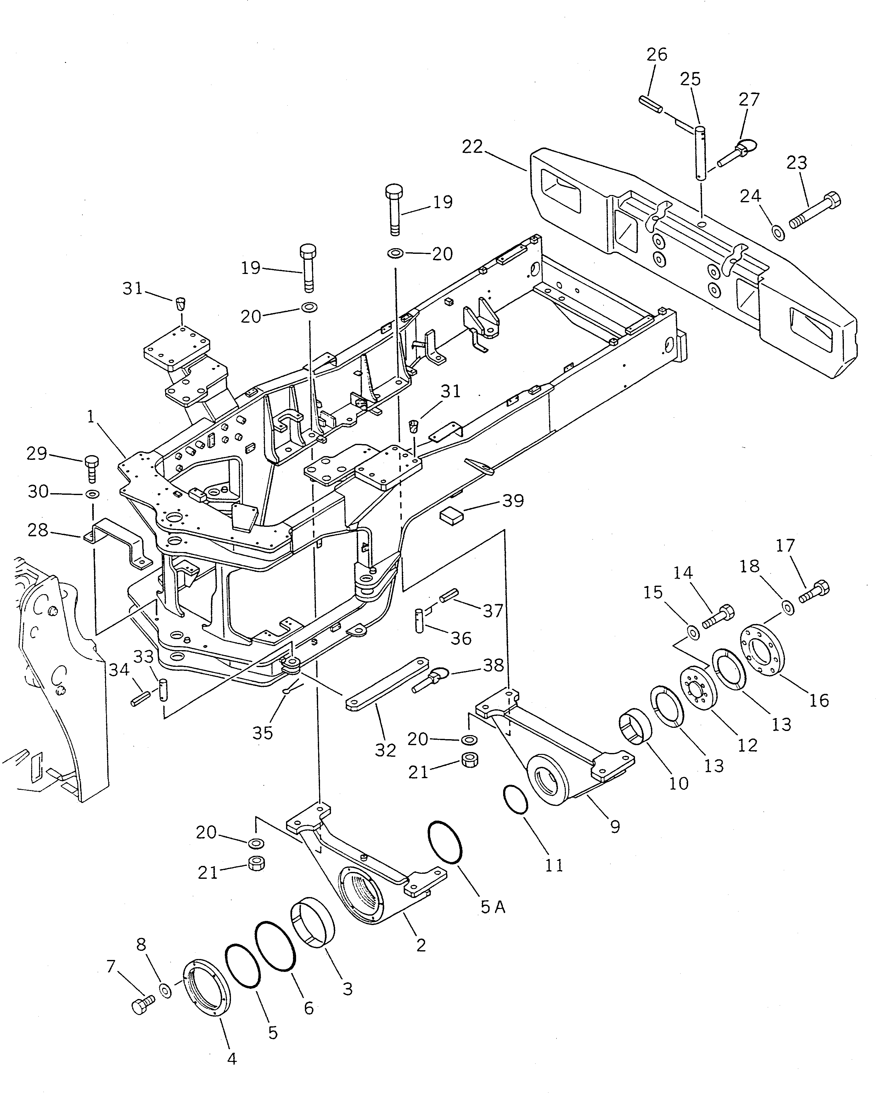
Запчасти Komatsu WA450-1 ЗАДН. РАМА(№-9999) РАМА И ЧАСТИ КОРПУСА

Схема запчастей Komatsu WA450-1 - ЗАДН. РАМА(№-9999) РАМА И ЧАСТИ КОРПУСА
FIT
1:1
100%

Артикул

Название

Примечание

Количество

1

421-46-12101

FRAME,REAR

SN: .-19999

1шт.

|1

0

FRAME,REAR

SN: 10001-.

1шт.

|1

421-877-1320

FRAME,REAR (FOR FRONT ATTACHMENT)

SN: 10001-19999

1шт.

|1

421-W90-1110

FRAME,REAR (FOR AIR DRYER)

SN: 10001-19999

1шт.

|1

421-971-1120

FRAME,REAR (WITH UNDER GUARD)

SN: 10001-19999

1шт.

|2

421-46-00010

SUPPORT ASS'Y,FRONT

SN: 10001-19999

1шт.

2

421-46-12872

SUPPORT,FRONT

SN: 10619-19999

1шт.

|2

0

SUPPORT,FRONT

SN: 10001-10618

1шт.

3

424-46-12162

BUSHING,FRONT

SN: 10001-@

1шт.

4

424-46-12310

RETAINER

SN: 10001-@

1шт.

5

421-46-15112

PACKING

SN: 11362-19999

1шт.

|5

0

PACKING

SN: 10001-11361

1шт.

|5

0

O-RING

SN: (10001-11042)

1шт.

5A

421-46-15120

PACKING

SN: 10001-@

1шт.

|5A

0

O-RING

SN: (10001-11042)

1шт.

6

07000-05305

O-RING

SN: 10001-@

1шт.

7

01010-51240

BOLT

SN: 10619-19999

6шт.

|7

01010-51235

BOLT

SN: 10001-10618

6шт.

8

01643-31232

WASHER

SN: 10001-@

6шт.

|9

424-46-00010

SUPPORT ASS'Y,REAR

SN: 10001-19999

1шт.

9

424-46-12153

SUPPORT

SN: 10619-19999

1шт.

|9

0

SUPPORT,REAR

SN: 10001-10618

1шт.

10

424-46-12172

BUSHING,REAR

SN: 10001-@

1шт.

11

421-46-15132

PACKING

SN: 11362-19999

1шт.

|11

0

PACKING

SN: 10001-11361

1шт.

|11

0

O-RING

SN: (10001-11042)

1шт.

12

424-46-12221

PLATE,THRUST

SN: 10001-@

1шт.

13

424-46-12181

WASHER,THRUST

SN: 10001-@

2шт.

14

01010-31670

BOLT

SN: 10001-@

8шт.

15

01643-31645

WASHER

SN: 10001-@

8шт.

16

424-46-12191

COVER

SN: 10001-@

1шт.

17

01010-31660

BOLT

SN: 10619-@

8шт.

|17

01010-31655

BOLT

SN: 10001-10618

8шт.

18

01643-31645

WASHER

SN: 10001-@

8шт.

19

01011-62710

BOLT

SN: 11020-19999

8шт.

|19

0

BOLT

SN: 10001-11019

8шт.

20

01643-32780

WASHER

SN: 10001-19999

16шт.

21

01580-02722

NUT

SN: 11020-19999

8шт.

|21

0

NUT

SN: 10001-11019

8шт.

22

421-46-13134

WEIGHT,COUNTER 770KG

SN: .-19999

1шт.

|22

0

WEIGHT,COUNTER 770KG

SN: 10001-.

1шт.

|22

421-974-1112

WEIGHT,COUNTER (FOR LOG GRAPPLE)

SN: 10514-19999

1шт.

|22

0

WEIGHT,COUNTER (FOR LOG GRAPPLE)

SN: 10001-10513

1шт.

23

01011-52450

BOLT

SN: 10001-19999

4шт.

|23

22D-70-13390

BOLT,(FOR LOG GRAPPLE)

SN: 10001-19999

4шт.

24

22X-22-11280

WASHER

SN: 10001-@

4шт.

25

421-46-13142

PIN

SN: 10001-@

1шт.

26

04025-01000

PIN,SPRING

SN: 10001-@

2шт.

27

426-46-12280

PIN

SN: 10001-@

1шт.

28

421-46-12861

GUARD

SN: 10001-@

1шт.

29

01010-51640

BOLT

SN: 10001-@

2шт.

30

01643-31645

WASHER

SN: 10001-@

2шт.

31

07049-02430

PLUG

SN: 10001-19999

12шт.

32

421-46-12920

BAR,LOCK

SN: 10001-@

1шт.

33

421-46-12721

PIN

SN: 10001-@

1шт.

34

04025-01065

PIN,SPRING

SN: 10001-@

1шт.

35

04025-01065

PIN,SPRING

SN: 11020-@

1шт.

|35

0

PIN,COTTER

SN: 10001-11019

1шт.

36

421-46-12731

PIN

SN: 10001-@

1шт.

37

04025-01065

PIN,SPRING

SN: 10001-@

2шт.

38

421-46-12740

PIN

SN: 10001-@

1шт.

39

421-46-12590

PLATE (WELDED)

SN: 10001-19999

2шт.

Выбрано товаров: 62