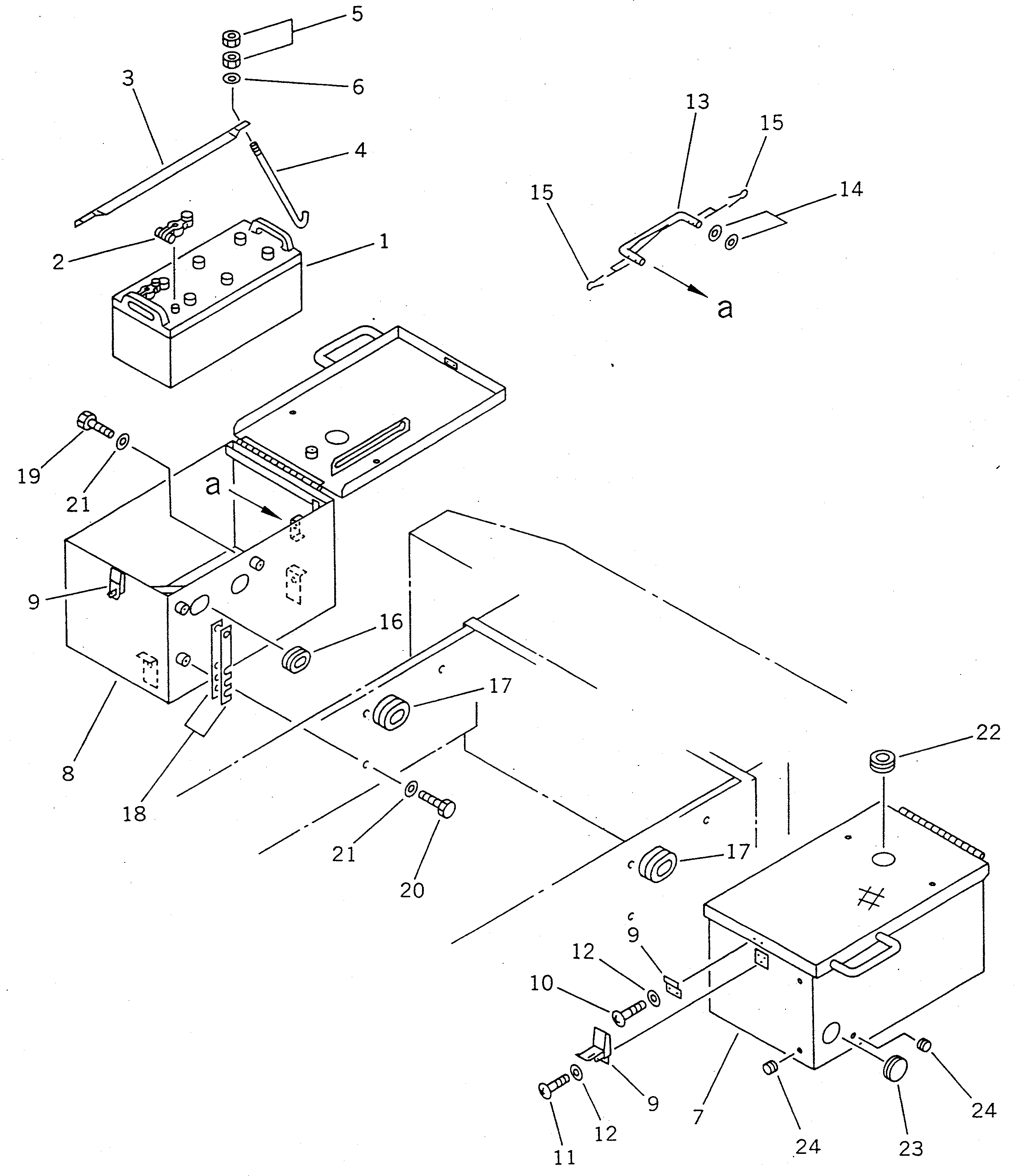
Запчасти Komatsu WA450-1 АККУМУЛЯТОР И КОРПУС АККУМУЛЯТОРА(№-) КОМПОНЕНТЫ ДВИГАТЕЛЯ И ЭЛЕКТРИКА

Схема запчастей Komatsu WA450-1 - АККУМУЛЯТОР И КОРПУС АККУМУЛЯТОРА(№-) КОМПОНЕНТЫ ДВИГАТЕЛЯ И ЭЛЕКТРИКА
FIT
1:1
100%

Артикул

Название

Примечание

Количество

1

08000-02215

BATTERY (145G51)

SN: 10001-UP

2шт.

|1

207-06-11790

BATTERY (195G51)

SN: 10001-UP

2шт.

|1

6995-81-3260

BATTERY (195G51)

SN: 10001-UP

2шт.

2

08000-00000

TERMINAL¤ (+)

SN: 10001-UP

2шт.

|2

08000-00001

TERMINAL¤ (-)

SN: 10001-UP

2шт.

3

421-06-11221

HOLDER

SN: 10001-UP

2шт.

4

113-06-31120

BOLT

SN: 10001-UP

4шт.

5

01580-11008

NUT

SN: 10001-UP

8шт.

6

01643-31032

WASHER

SN: 10001-UP

4шт.

7

421-06-11286

BOX,L.H.

SN: 20001-UP

1шт.

8

421-06-11296

BOX,R.H.

SN: 20001-UP

1шт.

9

421-09-12321

HOLDER

SN: 20001-UP

2шт.

10

01220-40410

SCREW

SN: 20001-UP

4шт.

11

01220-40408

SCREW

SN: 20001-UP

6шт.

12

01641-20405

WASHER

SN: 20001-UP

10шт.

13

424-06-14160

STOPPER

SN: 20001-UP

2шт.

14

01643-31032

WASHER

SN: 20001-UP

4шт.

15

04050-13018

PIN,COTTER

SN: 20001-UP

8шт.

16

426-09-11230

GROMMET

SN: 20001-UP

2шт.

17

424-06-14170

GROMMET

SN: 20001-UP

2шт.

18

423-06-11451

SHIM¤ 1.0MM

SN: 10001-UP

4шт.

|18

421-06-14120

SHIM¤ 3.2MM

SN: 10001-UP

4шт.

19

01010-51660

BOLT

SN: 20001-UP

2шт.

20

01010-51650

BOLT

SN: 20001-UP

4шт.

21

01643-31645

WASHER

SN: 10001-UP

6шт.

22

08037-05016

GROMMET

SN: 20001-UP

2шт.

23

09415-05016

CAP

SN: 20001-UP

2шт.

24

09415-01008

CAP

SN: 20001-UP

8шт.

Выбрано товаров: 0